

技术领域technical field
本发明涉及一种医疗器械技术领域的血泵,具体是一种用于心室辅助的超声电机驱动隔膜式血泵。The invention relates to a blood pump in the technical field of medical devices, in particular to an ultrasonic motor-driven diaphragm blood pump for ventricular assistance.
背景技术Background technique
对于终末期心力衰竭病人,目前临床上已有动脉内球囊泵(IABP)和心室动脉旁流(V-AB)等选择对循环系统进行辅助。其中心室辅助装置(VAD)作为心室动脉旁流的一种,能帮助终末期心力衰竭患者渡过等待心脏供体的关键时期;或者对于慢性心脏病患者,也能依靠各种植入式的VAD得到持久性支持。迄今,已进入医疗市场或者技术成熟的隔膜心室辅助装置大体可分为气动和电动隔膜式心室辅助装置。隔膜式心室辅助装置提供搏动血流,较为符合生理特点。一般说来,隔膜式心室辅助装置结构简单,维护和使用方便。气动隔膜式心室辅助,将辅助的血泵放置在体外,用引流管穿过皮肤,将血泵与病人的心脏和血管连接。这样病人活动的范围有限,而且穿过皮肤的引流管,容易引起感染。电磁式电机驱动的隔膜泵基本结构与气动隔膜血泵相同,但因为电机的存在,血泵尺寸较大,只能植入到体表面积较大的人体中。For patients with end-stage heart failure, there are currently clinically available intra-arterial balloon pumps (IABP) and ventricular arterial bypass (V-AB) to assist the circulatory system. Among them, the ventricular assist device (VAD), as a kind of ventricular arterial side flow, can help patients with end-stage heart failure to pass the critical period of waiting for a heart donor; or for patients with chronic heart disease, it can also rely on various implantable VAD is supported by persistence. So far, diaphragm ventricular assist devices that have entered the medical market or have mature technology can be roughly divided into pneumatic and electric diaphragm ventricular assist devices. Diaphragm-type ventricular assist devices provide pulsatile blood flow, which is more in line with physiological characteristics. Generally speaking, diaphragm-type ventricular assist devices are simple in structure, easy to maintain and use. Pneumatic diaphragm ventricular assist, the auxiliary blood pump is placed outside the body, and a drainage tube is passed through the skin to connect the blood pump to the patient's heart and blood vessels. The patient's range of activities is limited like this, and the drainage tube that passes through the skin easily causes infection. The basic structure of the electromagnetic motor-driven diaphragm pump is the same as that of the pneumatic diaphragm blood pump, but due to the existence of the motor, the blood pump is larger in size and can only be implanted in a human body with a larger body surface area.
超声电机是一种新型微驱动器,具有输出力矩密度大,反应速度快,宁静运转,结构紧凑体积小,不需要减速机构每分钟旋转速度和心率接近,不产生电磁干扰也不被电磁场干扰。采用超声电机驱动隔膜式血泵,可缩小血泵体积,使其可植入到体表面积较小的人体中;同时因为转速和自然心率接近,可减小血泵对血液的破坏。Ultrasonic motor is a new type of micro-driver, which has high output torque density, fast response, quiet operation, compact structure and small size, does not require a deceleration mechanism, and the rotation speed per minute is close to the heart rate. It does not generate electromagnetic interference and is not disturbed by electromagnetic fields. Using an ultrasonic motor to drive a diaphragm blood pump can reduce the volume of the blood pump so that it can be implanted in a human body with a small body surface area; at the same time, because the speed is close to the natural heart rate, it can reduce the damage to the blood caused by the blood pump.
经对现有技术的文献检索发现,以美国专利:Blood Pump(血泵),专利号5,092,878为代表的一类搏动型血泵设计也将超声电机引入其中。该技术以超声电机的旋转运动作为动力源,经过机械转换变向装置,如凸轮或丝杠等,将电机输出的旋转动作转变成直线往复动作,并以此实现搏动泵血的功能。但此发明中超声电机只在正行程驱动隔膜血袋,而反行程则没有做功。因此,血泵的体积没有得到充分的利用,限制了可植入人体体表面积的进一步缩小或血泵对衰竭心脏的辅助性能。After searching the literature of the prior art, it is found that a type of pulsating blood pump design represented by US Patent: Blood Pump (blood pump), patent number 5,092,878 also introduces an ultrasonic motor into it. This technology uses the rotational motion of an ultrasonic motor as the power source, and through a mechanical conversion device, such as a cam or a screw, converts the rotational motion output by the motor into a linear reciprocating motion, thereby realizing the function of pulsation and pumping blood. But in this invention, the ultrasonic motor only drives the diaphragm blood bag in the positive stroke, and does not work in the reverse stroke. Therefore, the volume of the blood pump is not fully utilized, which limits the further reduction of the implantable body surface area or the assisting performance of the blood pump to the failing heart.
发明内容Contents of the invention
本发明为克服现有技术存在的问题,提供一种超声电机驱动,结构紧凑的超声电机驱动隔膜式血泵。在本发明中,超声电机驱动推板,在推板的两侧与外壳之间,分别有两个环形血袋。这样推板的正、反行程,分别交替地挤压和扩张两个环形血袋,以较小的血泵体积实现相对较大的血泵输出。这种可植入隔膜式血泵,能够用于身材相对较小的患者。In order to overcome the problems in the prior art, the present invention provides an ultrasonic motor-driven diaphragm blood pump with a compact structure. In the present invention, the ultrasonic motor drives the push plate, and there are two annular blood bags respectively between the two sides of the push plate and the shell. In this way, the forward and reverse strokes of the push plate respectively squeeze and expand the two annular blood bags alternately, so as to achieve a relatively large blood pump output with a small blood pump volume. This implantable diaphragm blood pump can be used in relatively small patients.
本发明是通过以下技术方案实现的,本发明所述超声电机驱动隔膜式血泵包括:外壳、推板、传动机构、超声电机、环形血袋、入血口、出血口、单向阀、驱动模块、测控模块。连接关系为:外壳和推板之间通过超声电机和传动机构连接,推板一侧连接环形血袋,环形血袋另一侧连接外壳。两个环形血袋上分别有入血口、出血口,每个血口内有内置单向阀,控制血液的流向。测控模块连接驱动模块,驱动模块连接超声电机。The present invention is achieved through the following technical solutions. The ultrasonic motor-driven diaphragm blood pump in the present invention includes: a housing, a push plate, a transmission mechanism, an ultrasonic motor, an annular blood bag, a blood inlet, a blood outlet, a one-way valve, a drive module, measurement and control module. The connection relationship is as follows: the shell and the push plate are connected through an ultrasonic motor and a transmission mechanism, one side of the push plate is connected to the annular blood bag, and the other side of the annular blood bag is connected to the shell. The two annular blood bags have a blood inlet and a blood outlet respectively, and each blood port has a built-in one-way valve to control the flow of blood. The measurement and control module is connected to the drive module, and the drive module is connected to the ultrasonic motor.
所述旋转超声电机包括定子,转子,预压力紧固件。定子和转子通过预压力紧固件相连接。The rotary ultrasonic motor includes a stator, a rotor, and preloaded fasteners. The stator and rotor are connected by pre-stressed fasteners.
所述驱动模块,包括信号发生器、光电隔离器、功率放大器。连接关系为信号发生器连接光电隔离器,光电隔离器后接功率放大器,功率放大器连接超声电机。信号发生器产生的信号,经功率放大器放大到超声电机所需电压和电流,光电隔离器在信号发生器和功率放大器之间实现电气隔离。The drive module includes a signal generator, a photoelectric isolator, and a power amplifier. The connection relationship is that the signal generator is connected with the photoelectric isolator, the photoelectric isolator is connected with the power amplifier, and the power amplifier is connected with the ultrasonic motor. The signal generated by the signal generator is amplified by the power amplifier to the voltage and current required by the ultrasonic motor, and the photoelectric isolator realizes electrical isolation between the signal generator and the power amplifier.
所述测控模块,包括流量传感器、反馈信号调理电路、嵌入式控制器。连接关系为:流量传感器检测血泵输出的流量,经过信号调理电路输入到嵌入式控制器,嵌入式控制器控制驱动模块。测控模块通过对血泵的监测,控制驱动模块对超声电机施加驱动信号,实现泵血功能。The measurement and control module includes a flow sensor, a feedback signal conditioning circuit, and an embedded controller. The connection relationship is as follows: the flow sensor detects the output flow of the blood pump, and inputs it to the embedded controller through the signal conditioning circuit, and the embedded controller controls the driving module. The measurement and control module monitors the blood pump and controls the driving module to apply a driving signal to the ultrasonic motor to realize the blood pumping function.
所述传动机构采用现有成熟的机构,如丝杠、凸轮机构等,其作用是对超声电机输出的运动进行调整,实现持续泵血。The transmission mechanism adopts an existing mature mechanism, such as a lead screw, a cam mechanism, etc., and its function is to adjust the motion output by the ultrasonic motor to realize continuous blood pumping.
所述入血口和出血口的单向阀由生物兼容性的瓣膜构成。The one-way valves of the blood inlet and outlet are made of biocompatible valves.
传动机构将超声电机产生的输出动力,调整为推板适当的往复直线运动。环形血袋的入血口和出血口都有控制流向的单向阀,分别并联连接两个环形血袋的入血口和出血口,并连接到衰竭的心室和大动脉。这样在推板向一个方向运动时,位于推板和壳体之间的环形血袋之一,受到推板挤压,环形血袋内压力升高,通向大动脉出血口的单向阀被打开,而入血口的单向阀关闭,血液流入大动脉,辅助心脏的泵血功能;同时,另一环形血袋扩张,环形血袋内压力降低,入血口的单向阀被打开,出血口单向阀关闭,心室血液由血口流入环形血袋。在推板反向运动时,两个环形血袋受到的作用力正好相反,先前扩张的血袋现在受到挤压,先前受挤压的血袋现在扩张。这样在推板的正、反行程,血泵持续地将衰竭心室血液输送到大动脉。测控模块通过对血泵的监测,控制驱动模块对超声电机施加驱动信号,实现泵血功能,达到心室辅助效果。The transmission mechanism adjusts the output power generated by the ultrasonic motor to the proper reciprocating linear motion of the push plate. The blood inlet and the outlet of the annular blood bag have one-way valves to control the flow direction, respectively connect the blood inlet and the outlet of the two annular blood bags in parallel, and connect to the failed ventricle and aorta. In this way, when the push plate moves in one direction, one of the annular blood bags located between the push plate and the housing is squeezed by the push plate, the pressure in the annular blood bag increases, and the one-way valve leading to the aortic bleeding port is opened , and the one-way valve of the blood inlet is closed, and blood flows into the aorta, assisting the pumping function of the heart; at the same time, the other annular blood bag expands, the pressure in the annular blood bag decreases, the one-way valve of the blood inlet is opened, and the blood outlet The one-way valve is closed, and the ventricular blood flows into the annular blood bag from the blood port. When the push plate moves backward, the acting force received by the two annular blood bags is just opposite, the previously expanded blood bag is now squeezed, and the previously squeezed blood bag is now expanded. In the forward and reverse strokes of the push plate, the blood pump continuously delivers the failed ventricular blood to the aorta. The measurement and control module monitors the blood pump and controls the driving module to apply a driving signal to the ultrasonic motor to realize the blood pumping function and achieve the ventricular assist effect.
本发明采用结构灵活、紧凑的超声电机技术实现上述可植入泵血功能,使其能够用于身材相对较小的患者,能更好地时适用于亚洲人群特征。本发明将超声电机各种优点与可植入血泵的特殊要求相结合,发挥了超声电机速度低,无需转换、减速等额外机构;结构紧凑,体积小等特点:相比高速旋转的电磁式动作器件运作更舒缓,对血液损伤小;不同调速状态下,输出力矩都比较大,动作控制更简单准确等优势,解决了背景技术中所属几类血泵存在的主要问题。The present invention adopts the flexible and compact ultrasonic motor technology to realize the above-mentioned implantable blood pumping function, so that it can be used for patients with relatively small stature, and can be better suited to Asian population characteristics. The present invention combines the various advantages of the ultrasonic motor with the special requirements of the implantable blood pump, and takes advantage of the low speed of the ultrasonic motor without additional mechanisms such as conversion and deceleration; it has the characteristics of compact structure and small volume: compared with the high-speed rotating electromagnetic type The action device operates more slowly, with less damage to the blood; under different speed regulation states, the output torque is relatively large, and the action control is simpler and more accurate, which solves the main problems of several types of blood pumps in the background technology.
附图说明Description of drawings
图1为本发明结构主视图Fig. 1 is the structure front view of the present invention
图2为本发明结构右视图Fig. 2 is the structure right view of the present invention
具体实施方式Detailed ways
下面结合附图对本发明的实施例作详细说明:本实施例在以本发明技术方案为前提下进行实施,给出了详细的实施方式和具体的操作过程,但本发明的保护范围不限于下述的实施例。The embodiments of the present invention are described in detail below in conjunction with the accompanying drawings: this embodiment is implemented on the premise of the technical solution of the present invention, and detailed implementation methods and specific operating procedures are provided, but the protection scope of the present invention is not limited to the following the described embodiment.
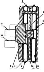
如图1-2所示,本实施例包括:推板1、传动机构2、旋转超声电机3、第一环形血袋4、第二环形血袋11、入血口5,外壳6,出血口7,单向阀8,驱动模块9,测控模块10。As shown in Figure 1-2, this embodiment includes: a
壳体6和推板1之间通过旋转超声电机3和传动机构2连接,推板1两侧分别连接第一环形血袋4和第二环形血袋11,第一环形血袋4和第二环形血袋11另一侧都连接到外壳6。第一环形血袋4和第二环形血袋11上分别有入血口5、出血口7,每个血口内都有控制流向的单向阀8。测控模块10连接驱动模块9,驱动模块9连接超声电机3。The
本实施例中:In this example:
所述旋转超声电机3包括定子,转子,预压力紧固件。连接关系为,定子和转子通过预压力紧固件相连接。通过低速、大力矩超声电机直接驱动血泵,无需减速、变换机构,具有紧凑结构,灵活驱动的效果。The rotary
所述低速是指跟人体心率相当的速度。The low speed refers to a speed equivalent to the heart rate of a human body.
所述大力矩能产生跟人体血压相当的压强。The high torque can generate a pressure comparable to the blood pressure of a human body.
所述的紧凑结构能满足特定心室辅助中对心输出量的要求,其中包括但不局限于每搏输出量、每分钟输出量等。The compact structure can meet the requirements for cardiac output in specific ventricular assistance, including but not limited to stroke volume, output per minute, and the like.
所述的紧凑结构还能适用于可植入人体的要求,其中包括但不局限于具有能配合不同植入部位周边器脏的特定外形和动作形式。The compact structure can also be adapted to the requirements of being implanted in the human body, including but not limited to having a specific shape and action form that can match the surrounding organs of different implantation sites.
所述灵活的驱动效果,包括但不局限于借助超声电机灵活的结构形式对泵血的实现。The flexible driving effect includes, but is not limited to, the realization of blood pumping by means of the flexible structure of the ultrasonic motor.
所述入血口5和出血口7的单向阀8由生物兼容性的瓣膜构成。The one-
所述驱动模块9,包括信号发生器,光电隔离器,功率放大器。连接关系为信号发生器接光电隔离器,其后接功率放大器,然后接超声电机。信号发生器产生的信号,经功率放大器放大到所述超声电机需要的电压和电流;光电隔离器在信号发生器和功率放大器之间实现电气隔离。The
所述测控模块10,包括流量传感器、反馈信号调理电路、嵌入式控制器。连接关系为:流量传感器检测血泵输出的流量,经过信号调理电路,输入到嵌入式控制器。嵌入式控制器通过控制信号发生器,控制驱动模块。The measurement and
所述传动机构2,为丝杠传动机构。The
丝杠传动机构2将旋转超声电机3输出的正反旋转运动,转换为推板1往复直线运动。两个环形血袋的入血口5和出血口7内含有单向阀8,分别并联两个环形血袋的入血口5和出血口7,然后分别连接到衰竭的心室和大动脉。当推板1向第一环形血袋4挤压时,第一环形血袋4内压力升高,其通向大动脉出血口7的单向阀被打开,而入血口5的单向阀关闭,血液流入大动脉,完成辅助心脏泵血功能。在此过程中,第二环形血袋11容积扩大,袋内压力降低,第二环形血袋11的入血口5的单向阀被打开,出血口7的单向阀关闭,心室血液经入血口5的单向阀流入第二环形血袋11。当推板1返程时,即向第二环形血袋11挤压,第二环形血袋11内压力升高,其通向大动脉出血口7的单向阀被打开,而入血口5的单向阀关闭,血液流入大动脉。在此过程中,第一环形血袋4容积扩大,袋内压力降低,第一环形血袋4的入血口5的单向阀被打开,出血口7的单向阀关闭,心室血液经入血口5的单向阀流入第一环形血袋4。如此往复循环,测控模块10通过对泵血参数(压力或、和流量)的监测控制驱动模块9对旋转超声电机3施加驱动信号,实现泵血功能,达到心室辅助效果。The lead
本实施例利用超声电机输出力矩密度大、能与心脏搏动频率匹配的相对较低的速度,结构紧凑灵活等特性,从驱动原理、传动形式根本层面,解决了离心式血泵、轴流式血泵等非阻闭类血泵中维持一定血压所必须的较高速度旋转对血液的剪切、摩擦等损伤问题;为更好地解决上述各类气动液动隔膜泵、推压式搏动泵植入性差,机构复杂,可靠性低等问题提供了新方向。This embodiment utilizes the characteristics of the ultrasonic motor, such as high output torque density, relatively low speed that can match the beating frequency of the heart, and compact and flexible structure, to solve the problems of centrifugal blood pump and axial flow blood pump from the fundamental level of driving principle and transmission form. Pumps and other non-obstructive blood pumps, which are necessary to maintain a certain blood pressure at a relatively high speed, can cause damage to blood such as shearing and friction; in order to better solve the above-mentioned various types of pneumatic-hydraulic diaphragm pumps and push-type pulsating pumps It provides a new direction for problems such as poor penetrability, complex mechanism, and low reliability.
| Application Number | Priority Date | Filing Date | Title |
|---|---|---|---|
| CN2008100374042ACN101269245B (en) | 2008-05-15 | 2008-05-15 | Ultrasonic motor drive diaphragm type blood pump |
| Application Number | Priority Date | Filing Date | Title |
|---|---|---|---|
| CN2008100374042ACN101269245B (en) | 2008-05-15 | 2008-05-15 | Ultrasonic motor drive diaphragm type blood pump |
| Publication Number | Publication Date |
|---|---|
| CN101269245A CN101269245A (en) | 2008-09-24 |
| CN101269245Btrue CN101269245B (en) | 2011-07-20 |
| Application Number | Title | Priority Date | Filing Date |
|---|---|---|---|
| CN2008100374042AExpired - Fee RelatedCN101269245B (en) | 2008-05-15 | 2008-05-15 | Ultrasonic motor drive diaphragm type blood pump |
| Country | Link |
|---|---|
| CN (1) | CN101269245B (en) |
| Publication number | Priority date | Publication date | Assignee | Title |
|---|---|---|---|---|
| CN104606730A (en)* | 2015-02-15 | 2015-05-13 | 李鸿雁 | Pulse-type ventricular assist instrument |
| US10722631B2 (en) | 2018-02-01 | 2020-07-28 | Shifamed Holdings, Llc | Intravascular blood pumps and methods of use and manufacture |
| US11185677B2 (en) | 2017-06-07 | 2021-11-30 | Shifamed Holdings, Llc | Intravascular fluid movement devices, systems, and methods of use |
| US11511103B2 (en) | 2017-11-13 | 2022-11-29 | Shifamed Holdings, Llc | Intravascular fluid movement devices, systems, and methods of use |
| US11654275B2 (en) | 2019-07-22 | 2023-05-23 | Shifamed Holdings, Llc | Intravascular blood pumps with struts and methods of use and manufacture |
| US11724089B2 (en) | 2019-09-25 | 2023-08-15 | Shifamed Holdings, Llc | Intravascular blood pump systems and methods of use and control thereof |
| US11964145B2 (en) | 2019-07-12 | 2024-04-23 | Shifamed Holdings, Llc | Intravascular blood pumps and methods of manufacture and use |
| US12102815B2 (en) | 2019-09-25 | 2024-10-01 | Shifamed Holdings, Llc | Catheter blood pumps and collapsible pump housings |
| US12121713B2 (en) | 2019-09-25 | 2024-10-22 | Shifamed Holdings, Llc | Catheter blood pumps and collapsible blood conduits |
| US12161857B2 (en) | 2018-07-31 | 2024-12-10 | Shifamed Holdings, Llc | Intravascular blood pumps and methods of use |
| US12220570B2 (en) | 2018-10-05 | 2025-02-11 | Shifamed Holdings, Llc | Intravascular blood pumps and methods of use |
| US12409310B2 (en) | 2019-12-11 | 2025-09-09 | Shifamed Holdings, Llc | Descending aorta and vena cava blood pumps |
| Publication number | Priority date | Publication date | Assignee | Title |
|---|---|---|---|---|
| CN101905044B (en)* | 2010-08-06 | 2012-02-01 | 上海交通大学 | Diaphragm pulsatile blood pump driven by ultrasonic motor |
| CN102284092B (en)* | 2011-07-21 | 2013-12-25 | 上海交通大学 | Implantable pulsating-type ventricular assist blood pump |
| CN103055363B (en)* | 2013-01-22 | 2015-04-15 | 上海交通大学 | Vortex type implantable pulse ventricle assisting blood pump |
| CN103656770B (en)* | 2013-12-11 | 2015-10-14 | 上海交通大学 | Based on the artificial heart blood pump that minitype cylinder drives |
| CN105525367B (en)* | 2016-02-17 | 2018-08-31 | 苏州经贸职业技术学院 | The electrostatic spinning pressure spray apparatus and electrostatic spinning system of imitative atrial ventricle principle |
| CN107781147B (en)* | 2017-11-28 | 2024-09-17 | 广东商旅宝健康科技有限公司 | Electric inflator |
| WO2020188453A1 (en)* | 2019-03-15 | 2020-09-24 | CorWave SA | Systems and methods for controlling an implantable blood pump |
| CN113181547B (en)* | 2021-04-23 | 2022-03-18 | 清华大学 | Heart pump with ultrasound thrombolysis |
| CN114367032B (en)* | 2022-01-06 | 2023-07-21 | 中国科学院力学研究所 | A flexible diaphragm, electromagnetically driven capsule artificial heart and control method |
| Publication number | Priority date | Publication date | Assignee | Title |
|---|---|---|---|---|
| CN104606730A (en)* | 2015-02-15 | 2015-05-13 | 李鸿雁 | Pulse-type ventricular assist instrument |
| US11717670B2 (en) | 2017-06-07 | 2023-08-08 | Shifamed Holdings, LLP | Intravascular fluid movement devices, systems, and methods of use |
| US11185677B2 (en) | 2017-06-07 | 2021-11-30 | Shifamed Holdings, Llc | Intravascular fluid movement devices, systems, and methods of use |
| US11511103B2 (en) | 2017-11-13 | 2022-11-29 | Shifamed Holdings, Llc | Intravascular fluid movement devices, systems, and methods of use |
| US11229784B2 (en) | 2018-02-01 | 2022-01-25 | Shifamed Holdings, Llc | Intravascular blood pumps and methods of use and manufacture |
| US10722631B2 (en) | 2018-02-01 | 2020-07-28 | Shifamed Holdings, Llc | Intravascular blood pumps and methods of use and manufacture |
| US12076545B2 (en) | 2018-02-01 | 2024-09-03 | Shifamed Holdings, Llc | Intravascular blood pumps and methods of use and manufacture |
| US12161857B2 (en) | 2018-07-31 | 2024-12-10 | Shifamed Holdings, Llc | Intravascular blood pumps and methods of use |
| US12220570B2 (en) | 2018-10-05 | 2025-02-11 | Shifamed Holdings, Llc | Intravascular blood pumps and methods of use |
| US11964145B2 (en) | 2019-07-12 | 2024-04-23 | Shifamed Holdings, Llc | Intravascular blood pumps and methods of manufacture and use |
| US11654275B2 (en) | 2019-07-22 | 2023-05-23 | Shifamed Holdings, Llc | Intravascular blood pumps with struts and methods of use and manufacture |
| US11724089B2 (en) | 2019-09-25 | 2023-08-15 | Shifamed Holdings, Llc | Intravascular blood pump systems and methods of use and control thereof |
| US12102815B2 (en) | 2019-09-25 | 2024-10-01 | Shifamed Holdings, Llc | Catheter blood pumps and collapsible pump housings |
| US12121713B2 (en) | 2019-09-25 | 2024-10-22 | Shifamed Holdings, Llc | Catheter blood pumps and collapsible blood conduits |
| US12409310B2 (en) | 2019-12-11 | 2025-09-09 | Shifamed Holdings, Llc | Descending aorta and vena cava blood pumps |
| Publication number | Publication date |
|---|---|
| CN101269245A (en) | 2008-09-24 |
| Publication | Publication Date | Title |
|---|---|---|
| CN101269245B (en) | Ultrasonic motor drive diaphragm type blood pump | |
| CA2916350C (en) | Artificial ventricles | |
| US6949065B2 (en) | Left ventricular assist system | |
| CN103055363B (en) | Vortex type implantable pulse ventricle assisting blood pump | |
| CN101745156B (en) | Pulsating double-bag heart auxiliary circulation device | |
| RU2725083C1 (en) | Device and method for blood flow control of rotary pumps | |
| WO2008071223A1 (en) | Cardiocirculatory aiding device | |
| US20070004960A1 (en) | Cardiocirculatory aiding device | |
| JPH025966A (en) | Embedding artificial heart | |
| CN114191702A (en) | An extracorporeal aortic counterpulsation device with pressure-sensing automatic regulation function | |
| CN114177516A (en) | A large-flow two-stage catheter pump for left ventricular assist and method of using the same | |
| CN104906643B (en) | A kind of blood pumping installations | |
| WO2025011166A1 (en) | Left ventricular assist device | |
| CN101147816B (en) | Drive device for pulsation type blood pump and its control method | |
| CN211050179U (en) | Artificial heart auxiliary device | |
| CN101623519B (en) | Pulsator type blood pump driven by ultrasonic liner motors | |
| CN101138658A (en) | Electro-hydraulic cardiopulmonary bypass pulsating blood pump | |
| CN101274113A (en) | Ultrasonic motor driven roller blood pump | |
| RU201911U1 (en) | Blood flow control device for extracorporeal circulatory support systems | |
| CN215025222U (en) | Implantable electromagnetic pulsation type artificial heart blood pump | |
| CN102671248B (en) | Implantable bionic flexible pulsatile pump | |
| US20180064864A1 (en) | Artificial Ventricles | |
| CN219579712U (en) | Positive and negative pressure driving type heart pump blood system | |
| CN116173393A (en) | A positive and negative pressure driven heart pumping system | |
| CN211751375U (en) | Artificial heart power pump |
| Date | Code | Title | Description |
|---|---|---|---|
| C06 | Publication | ||
| PB01 | Publication | ||
| C10 | Entry into substantive examination | ||
| SE01 | Entry into force of request for substantive examination | ||
| C14 | Grant of patent or utility model | ||
| GR01 | Patent grant | ||
| CF01 | Termination of patent right due to non-payment of annual fee | Granted publication date:20110720 Termination date:20180515 | |
| CF01 | Termination of patent right due to non-payment of annual fee |