Movatterモバイル変換


[0]ホーム

URL:


CN101208515A - Fluid delivery device - Google Patents

Fluid delivery device
Download PDF

Info

Publication number
CN101208515A
CN101208515ACNA2006800113395ACN200680011339ACN101208515ACN 101208515 ACN101208515 ACN 101208515ACN A2006800113395 ACNA2006800113395 ACN A2006800113395ACN 200680011339 ACN200680011339 ACN 200680011339ACN 101208515 ACN101208515 ACN 101208515A
Authority
CN
China
Prior art keywords
driving wheel
fluid
conveying equipment
threaded
drive rod
Prior art date
Legal status (The legal status is an assumption and is not a legal conclusion. Google has not performed a legal analysis and makes no representation as to the accuracy of the status listed.)
Pending
Application number
CNA2006800113395A
Other languages
Chinese (zh)
Inventor
S·迪兰尼
B·詹姆斯
J·加里博托
D·策勒
J·戴格尔
V·小萨科
Current Assignee (The listed assignees may be inaccurate. Google has not performed a legal analysis and makes no representation or warranty as to the accuracy of the list.)
Insulet Corp
Original Assignee
Insulet Corp
Priority date (The priority date is an assumption and is not a legal conclusion. Google has not performed a legal analysis and makes no representation as to the accuracy of the date listed.)
Filing date
Publication date
Priority claimed from US10/907,287external-prioritypatent/US20050238507A1/en
Application filed by Insulet CorpfiledCriticalInsulet Corp
Publication of CN101208515ApublicationCriticalpatent/CN101208515A/en
Pendinglegal-statusCriticalCurrent

Links

Images

Classifications

Landscapes

Abstract

A fluid delivery device may include a fluid driving mechanism for driving fluid out of a reservoir and an actuating mechanism for actuating the driving mechanism. The fluid delivery device may also include one or more sensors for monitoring operation of the fluid delivery device. The fluid delivery device may also include a chassis providing mechanical and/or electrical connections between components of the fluid delivery device.

Description

Conveying equipment for fluid substances
The cross reference of related application
The present invention is to be the part continuity of U.S. Patent application of the common pending trial of No.10/704291 in the patent application serial numbers that on November 7th, 2003 submitted, this application is that sequence number is No.10/128, the part continuity of the U.S. Patent application of 205 common pending trial, these two applications all transfer the application's assignee and pass through with reference to combination in this application.
The application with and the denomination of invention submitted simultaneously of the application be that the U.S. Patent application of No.10/907286 is relevant for the patent application serial numbers on " chassis that is used for conveying equipment for fluid substances ", this application transfers the application's assignee and by with reference in conjunction with in this application.
Technical field
The present invention relates to conveying equipment for fluid substances, more clearly, the present invention relates to be used for treatment liquid is transported to patient's infusion pump.
Background technique
Conveying equipment for fluid substances serves many purposes, as giving the patient with the liquid medicine subcutaneous delivery.For example, in suffering from the patient of diabetes, adopt ambulatory infusion pumps that insulin is flowed to the patient all the time.These ambulatory infusion pumps can provide complicated FLUID TRANSPORTATION profile, comprise variable basic rate and pill requirement.Carry the ability control meticulously can cause the better effect of medicine and treatment and to patient's toxicity still less to medicine.
More existing ambulatory infusion pumps comprise the storage of receiving fluids medicine and use the electromagnetism pumping or the dosage technology is transported to liquid medicine by pipeline and inserts subcutaneous pin of patient and or soft intubate.Existing these equipment allow to control and programme by being positioned at Electromagnetic push-button on the device housings or switch.These equipment comprise the visual feedback of being undertaken by text or graphic screen and can comprise warning or beacon and audio frequency or oscillating signal and warning.Usually these equipment are worn in patient's clothes or the pocket or are tied to patient's body.
Present not only costliness but also be difficult to programming and carry out infusion and prepare of obtainable mobile infusion apparatus, and often not only greatly but also heavy and be highly susceptible to damaging.Prepare these equipment to carry out infusion and be difficult to carry out and to require the patient not only to carry specific drug but also carry various supplementary equipment.Existing a lot of equipment also requires special nursing, maintenance and cleaning, to guarantee correct function and the Security in the long-term use of design of plant.The patient who is benefited is used for existing equipment not only complexity but also costliness, so would rather use time the form of therapy of some from ambulatory infusion pumps.
Therefore, need a kind of conveying equipment for fluid substances that reduces size and sophistication and can make relatively inexpensively.
Description of drawings
Also will understand these and other feature and advantage better in conjunction with the accompanying drawings by reading following detailed, in these figure:
Fig. 1 is the plan view of an embodiment's according to the invention conveying equipment for fluid substances.
Fig. 2 is the exploded view that is used in an embodiment of the fluid drives mechanism in the conveying equipment for fluid substances.
Fig. 3 is the perspective view that is assembled into the fluid drives mechanism that is shown in Fig. 2 in the underframe.
Fig. 4 is an embodiment's the perspective view that is used for the actuating mechanism of conveying equipment for fluid substances.
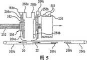
Fig. 5 activates the planimetric map that is shown in the actuating mechanism among Fig. 4 that is shown in the fluid drives mechanism among Fig. 2.
Fig. 6 is the schematic representation that can be used on the filling sensor in an embodiment's according to the invention conveying equipment for fluid substances.
Fig. 7 A and 7B are the schematic representation that shows the operation that is shown in the filling sensor among Fig. 6 from the side.
Fig. 8 A and 8B show the schematic representation of the operation of the turn-sensitive device in the conveying equipment for fluid substances that can be used on an embodiment according to the invention.
Fig. 9 is the perspective view of underframe of an embodiment's according to the invention conveying equipment for fluid substances, and this conveying equipment for fluid substances has the sensor that is arranged in underframe.
Figure 10 is the perspective view of the fluid drives mechanism that engages with sensor in the underframe that is shown in Fig. 9.
Figure 11 A and 11B show the schematic representation of operation of an embodiment's according to the invention threaded joint mechanism, and this threaded joint mechanism moves to the threaded joint position from non-threaded engagement positio.
Figure 12 A is the perspective view of an embodiment's according to the invention threaded joint mechanism that is in primary importance.
Figure 12 B is the perspective view that is shown in the threaded joint mechanism among Figure 12 A that is in the second place.
Figure 12 C is the plan view that is shown in the threaded joint mechanism among Figure 12 A that is in the second place.
Figure 13 is the amplification schematic side elevation of driving wheel of an embodiment's according to the invention conveying equipment for fluid substances.
Figure 14 is the schematic representation that can be used on the filling sensor system in an embodiment's according to the invention conveying equipment for fluid substances.
Figure 15 A, 15B and 15C show the schematic representation of the operation of the alternative turn-sensitive device in the conveying equipment for fluid substances that can be used on an embodiment according to the invention.
Figure 16 is the worm's eye view of an embodiment's according to the invention conveying equipment for fluid substances with pin cap.
Figure 17 is the schematic representation of actuating system that is used for an embodiment's according to the invention conveying equipment for fluid substances.
Embodiment
An embodiment of conveying equipment forfluid substances 200 is shown and describes with reference to figure 1.In this one exemplary embodiment, conveying equipment forfluid substances 200 is used to subcutaneously deliver a fluid, such as a liquid medicine, to the human or animal.Those of skill in the art will appreciate that conveying equipment forfluid substances 200 can be used for carrying the fluid of other type.Conveying equipment forfluid substances 200 can be used for conveyance fluid in a controlled manner, carries as realize pill requirement, continuous infusion and variable flow rate according to the FLUID TRANSPORTATION profile.
According to an embodiment, conveying equipment forfluid substances 200 can comprise the one ormore batteries 210, thefluid reservoir 230 that is used for the heat energy fluid that are used to provide power supply, be used for fluid drives go outstorage 230fluid drives mechanism 250, be used for the fluid that receives fluids and fluid is delivered to target fromstorage 230 bymechanism 270 with have thecircuit board 290 of the control circuit that is used for control apparatus.Conveying equipment forfluid substances 200 can be included in machinery and or theunderframe 100 that is electrically connected are provided between the device of conveying equipment for fluid substances 200.Submit and by with reference to combining the example that in this application U.S. Patent Application Serial Number No.____ (file number No.INSL-165) discloses thisunderframe 100 in more detail in same date with the application.Conveying equipment forfluid substances 200 also can compriseshell 202, with containment device 210,230,250,270,290 andunderframe 100.
An example ofstorage 230 comprises and is used to theexhaust port 232 that allows fluid to leave storage 230.Storage 230 also can comprise theentry port 234 that is used to allow to use fluid filled storage 230.Submit and by with reference to combining the example that in this application U.S. Patent Application Serial Number No.10/907286 discloses thisstorage 230 in more detail in same date with the application.
The embodiment of fluid bymechanism 270 comprise through skin and enterinstrument 272, as pin and or soft intubate, thisly enterinstrument 272 through skin and can penetrate patient's skin and fluid is delivered among the patient.Fluid passage such as pipeline (not shown) can be used forstorage 230 fluids are couple to through skin and enter instrument 272.Enterinstrument 272 and be installed to and insert mechanism, this insertion mechanism can comprise sliding support 274,275, one or more spring 276 and release member 280 (see figure 9)s.Sliding support 274,275 can be remained on first retracted position, cause sliding support 274,275 to get loose and one or more spring 276 drives sliding support 274,275 with the direction of arrow and enters the ari insertion position up to release member 280.Driving mechanism 250 can be used for triggering release member 280 by the arm 282 that engages release member 280.In one embodiment, sliding support 274,275 at first inserts in pin and the soft intubate, and sliding support 275 is extracted pin out then, thereby soft intubate is stayed in position.For example, U.S. Patent No. 6,656,159 and sequence number be No.10/128,206,10/195,745,10/260,192,10/261,003 U.S. Patent Application Publication can be contained in various according in the underframe of the present invention through skin access arrangement and system, these all patents and patent application are all by with reference in conjunction with in the present invention.
Referring to Fig. 2 and Fig. 3, an embodiment offluid drives mechanism 250 comprises the threadeddrive rod 252 that is couple to plunger 236.Plunger 236 is contained in (see figure 10) in the fluid reservoir 230.In shown embodiment,driving wheel 256 is threaded into threadeddrive rod 252 and linear motion is applied to threadeddrive rod 252, so thatplunger 236 is advanced in thestorage 230, thereby fluid is released storage 230.Perhaps, but threadeddrive rod 252 threadedjoint plungers 236, anddriving wheel 256 can be fixed todriveshaft 252, withrotation driveshaft 252,driveshaft 252 is applied toplunger 236 with linear motion.
An embodiment ofdriving wheel 256 comprises the first andsecond ratchet portions 258a, 258b and the wheel hub betweenratchet portions 258a, 258b 254.Driving wheel 256 can be supported byunderframe 100 revolving ability ground.Especially,wheel hub 254 can be supported on (see figure 9) on theunderframe 100 by one or more bearing surface 158a to 158c.Preferred driving wheel made ofplastic 256 is also preferably madedriveshaft 252 with metal or plastics.
Actuating mechanism is used for engaging and rotating gradually driving wheel 256.An embodiment who is used for the actuating mechanism ofdriving wheel 256 comprises linear actuators.Preferred linear actuators comprises that shape-memory allows line (allow wire).Shown in Fig. 2 and 3, preferred SMA line comprises first and second marmems (SMA)line part 260a, the 260b that is couple to pivotable drive engagement member 262.SMAline part 260a, 260b can be formed the continuous SMA line that is crimped onto pivotabledrive engagement member 262, as shown in the figure.Also SMAline part 260a, 260b can be formed the line sheet of separation, these line sheets are connected to pivotabledrive engagement member 262, and the known alternate manner of available those of skill in the art connects.Known other SMA line of available Nitinol or those of skill in the art is made this SMA line, and Nitinol is the alloy of known nickel of people and titanium.Available conductive material is made pivotabledrive engagement member 262, this conductive material such as Cuprum alloy.
As shown in Figure 4,SMA line part 260a,260b underframe 100 be can be mechanically fixed to andcontact segment 160a, 160b on theunderframe 100 are connected electrically to.In shown embodiment,SMA line part 260a, 260b are connected tocrimp terminal 266a, 266b, thesecrimp terminals 266a, 266b are installed in the slit in the current-carrying part that is formed at underframe 100.Available conductive material such as Cuprum alloy are made crimp terminal 266a, 266b.Also can withSMA line part 260a, 260b around as extendpost 161a, 161b fromunderframe 100 with the FL that increases the SMA line around.
Can with pivotabledrive engagement member 262 revolving ability be couple to run-onpoint 162 on theunderframe 100, run-onpoint 162 also plays the effect of electric point of contact.An embodiment of pivotabledrive engagement member 262 comprisesarm 264a, 264b, and the tooth onarm 264a, 264b engagesratchet part 258a, the 258b also rotatesdriving wheel 256 gradually when pivotabledrive engagement member 262 rotates.。Pivotabledrive engagement member 262 also can comprise supportingleg 268a, 268b, when pivotabledrive engagement member 262 rotates, and some 164a, 164b on supportingleg 268a, the 268b contact underframe 100.Perhaps, pivotabledrive engagement member 262 only can comprise an arm and a supporting leg.
Point ofcontact 160a, 160b, 162,164a, 164b provide being electrically connected between actuating mechanism and the control circuit (not shown).In one embodiment, providing this by the conduction path that extends alongunderframe 100 is electrically connected.Point ofcontact 160a, 160b are connected electrically to actuatorconductive paths 194a, 194b on theunderframe 100 withSMA line part 260a, 260b.Run-onpoint 162 is connected electrically to sharedgrounding conduction path 195 on theunderframe 100 with pivotable drive engagement member 262.Point ofcontact 164a, 164b are connected electrically to actuatorconductive paths 196a, 196b with pivotable drive engagement member 262.Submit and by illustrating in greater detail and described these conduction paths in same date with the application alongunderframe 100 with reference to combining in this application U.S. Patent Application Serial Number No.10/907286.Those of skill in the art will appreciate that the device with actuating mechanism is connected electrically to the alternate manner of control circuit.
Operation with reference to 5 pairs of actuating mechanisms of figure is described in more detail.For SMAline part 260a, 260b are charged, the control circuit (not shown) that is connected electrically tounderframe 100 is optionally by being added toSMA line part 260a, 260b asconduction path 194a, 194b (shown in Figure 4) with electric current.The electric current that is added to aSMA line part 260a passesSMA line part 260a and passes pivotabledrive engagement member 262 by run-on point 162 (shown in Figure 4) and arrives sharedgrounding conduction path 195, thereby, and the 2ndSMA line part 260b is not switched onSMA line part 260a energising.When charging, aSMA line part 260a contacts pivotabledrive engagement member 262 and spurs pivotabledrive engagement member 262 with the first direction byarrow 20 indications.When pivotabledrive engagement member 262 rotates withfirst direction 20, the tooth on thearm 264a engagesratchet part 258a, thus cause increment ofdriving wheel 256 rotations.Pivotabledrive engagement member 262 rotates withfirst direction 20, contacts with point ofcontact 164b up to supportingleg 268b, thereby pivotabledrive engagement member 262 is connected electrically toconduction path 196b (shown in Figure 4).This just activates the signal to the control circuit (not shown) byconduction path 196b, and sort signal shows that control circuit should forbid being added to the electric current of a SMA line part 260a.Amongarm 264a or the 264b one is always engaged by the toothed portion of driving wheel.Therefore, thearm 264a or the 264b that have engaged have avoided the reverse direction actuation rotation, thereby needn't use independent detent elements.As shown in figure 13, with the tooth ofwheel part 258a, 258b relative to each other between biasing, thereby reduced the tolerance of the surface of contact betweenarm 264a and 264b andwheel 258a and the 258b.
In order to begin another pulse, circuit is by being added to the 2ndSMA line part 260b asconduction path 194b and point ofcontact 160b (shown in Figure 4) with electric current.When charging, the 2ndSMA line part 260b contacts pivotabledrive engagement member 262 and spurs pivotabledrive engagement member 262 with the second direction byarrow 22 indications.When pivotabledrive engagement member 262 rotates withsecond direction 22, the tooth on thearm 264b engagesratchet part 258b, thus cause increment ofdriving wheel 256 rotations.Pivotabledrive engagement member 262 rotates withsecond direction 22, contacts with point ofcontact 164a up to supportingleg 268a, thereby pivotabledrive engagement member 262 is connected electrically toconduction path 196a (shown in Figure 4).This just activates the signal to the control circuit (not shown) byconduction path 196a, and sort signal shows that control circuit should forbid being added to the electric current of the 2ndSMA line part 260b.
Each increment ofdriving wheel 256 forms the plunger advancement in thestorage 230, to cause the distinctly fluid distribution of amount.The fluid of the amount out of the ordinary of distributing is along with the number of teeth (that is the size of hook tooth) on driving screw pitch (that is threads/inch), the ratchet changes with the diameter of fluid reservoir.In a preferred embodiment, in order to carry the UIOO insulin of the treatment that is used for type i diabetes, the fluid of the amount out of the ordinary of distributing is between about 0.25 μ L and 0.5 μ L.Control circuit is withSMA line part 260a, 260b alternate energisation, up to having distributed desirable Fluid Volume.Sequence number is the example that No.10/835727,10/836525 and 10/836535 U.S. Patent application at length disclose this control circuit and controlling method, these applications by reference in its entirety be combined among the present invention.
U.S. Patent No. 6,656,158, No.6,656,159 and sequence number be No.10/704,291 U.S. Patent Application Publication can be used on the substitution fluid driving mechanism in the conveying equipment forfluid substances 200 and the example of actuating mechanism, these all patents and patent application are all by with reference in conjunction with in the present invention.
Conveying equipment forfluid substances 200 also can comprise one or more sensors, with the operation of monitoring fluid driving mechanism 250.For example, filling sensor is used in fluid filledstorage 230 and or the liquid level of the fluid thesensing storage 230 during fromstorage 230 distributing fluids.Turn-sensitive device can be used for sensingstarting mechanism 250 according to desired such operation.
Referring to Fig. 6,7A and 7B, an embodiment of filling sensor comprisessensor bar 292, andsensor bar 292 is supported or at one end installed bysensor stand 166, and extends through the path of threaded drive rod 252.When threadeddrive rod 252 engagedfilling sensor bar 292,driveshaft 252 moves filledsensor bar 292 and makes it engage point of contact 165.Engage the filling sensor signal that point ofcontact 165 improves circuit and is activated to control circuit.Filling sensor bar 292 can make and or available conductive material such as nickel or gold plating with conductive material such as Cuprum alloy.
Point whendriveshaft 252 makesfilling sensor bar 292 engage point ofcontact 165, plunger is in the precalculated position in thestorage 230, and the amount of the fluid in thestorage 230 is known.Can fillfluid conveying equipment 200 with indicate storage is filled into predetermined amount and or " waking up " conveying equipment forfluid substances 200 in control circuit the time use this filling sensor.Therefore, in a preferred embodiment of the invention, before triggering filling sensor, the conveying equipment for fluid substances control circuit remains static, and this state of rest has the few activity and the characteristics of power consumpiton.Also can when staying in the storage with the fluid that indicates prearranging quatity, use conveyance fluid this filling sensor.Though illustrated and described an embodiment of filling sensor, also can use other to construct and activate the filling sensor signal, with precalculated position in response to driveshaft.Referring to Figure 14, in alternate embodiment, to fill sensed system and comprise a plurality ofsensor bar 292 and point ofcontact 165, these point ofcontact 165 place along the ideal position of driveshaft 252.Can select the quantity and the position of sensor bar and point of contact, to be used for any desirable scheme.
Referring to Fig. 8 A and 8B, an embodiment of turn-sensitive device comprisesrotation sensing bar 294, androtation sensing bar 294 is supported or at one end installed bysensor stand 168, and extends through polygon (or other cam) shape part of driving wheel 256.Change sensor bar 294 feeler point ofcontact 169, to improve circuit and to be activated to the rotation sensor signal of control circuit.When drivingwheel 256 rotated gradually, the wheel hub ofdriving wheel 256 254 engaged and changessensor bar 294 and will changesensor bar 294 to move and break away from and the contacting of point of contact 169.The activation of rotation sensor signal and deactivation show thatdriving wheel 256 is rotating.Can select the given shape of the polygonal part of driving wheel, be used for the resolution of the turn-sensitive device of special-purpose with optimization.In alternate embodiment, shown in Figure 15 A, 15B and 15C, turn-sensitive device can comprise sensor strip, the position of this sensor strip is defined as between two point ofcontact 169a and 169b alternately, thereby has respectively as Figure 15 A, 15B and three kinds of different states shown in the 15C and the corresponding raising in resolution.Though illustrated and described an embodiment of turn-sensitive device, also can use other to construct and activate rotation sensor signal, with moving in response to driving wheel.
As shown in Figures 9 and 10, sensor strip 292,294 can be supported or is installed in the underframe 100.In this embodiment, sensor stand 166,168 is connected electrically to the sharedgrounding conduction path 195 that extends alongunderframe 100, and point of contact 165,169 is connected electrically to the sensor conduction path 197,198 that extends alongunderframe 100 respectively.Sensor conduction path 197,198 can be connected electrically to this circuit.
Referring to Figure 11 A and 11B,driving wheel 256 can comprise threadedjoint mechanism 240, and threadedjoint mechanism 240 moves to the threaded joint position from non-threaded engagement positio.Non-threaded engagement positio allow threadeddrive rod 252 as during the storage of fill fluid conveying equipment permission threadeddrive rod 252 pass freely through driving wheel 256.The threaded joint position allows when rotation drivingwheel 256 threadeddrive rod 252 to be moved forward from storage distribution or conveyance fluid the time.
The embodiment of 240 conductions of threaded joint mechanism comprisestilt nut 242, andtilt nut 242 has threaded portion 244a, 244b.Tiltnut 242 can comprise one or more pivot pins 246 (see figure 2)s that rotationallytilt nut 242 are supported in the driving wheel 256.Tilt nut pins 246 is provided for the rotatingshaft oftilt nut 242, and this rotatingshaft is perpendicular to the rotatingshaft of driveshaft 252.Preferably with the center-biased of this rotatingshaft from tilt nut 242.Tilt nut 242 remains in thedriving wheel 256 by the part of underframe and bytilt nut folder 1201, and the exploded view oftilt nut folder 1201 is shown in Figure 12 A.Whentilt nut 242 was in open (inclination) position, threadedportion 244a, 244b be the screw thread (seeing Figure 11 A) on the engage threads driveshaft 252 not.Whentilt nut 242 is in the closed position (Figure 11 B), these threaded portion engagethreads driveshafts 252.
According to an embodiment who is shown in Figure 11 A and 12B,tilt nut 242 also can comprise the guidingsurface 146 on thesplice tray 100 and thecam member 248 of cam face 148.Cam member 248 initial joint guidingsurfaces 146 also remain on open (inclination) position (Figure 12 A).During initial rotation,cam member 248 engagecam surfaces 148 andcam face 148 actuatingcam members 248 turn in the threaded joint position.When drivingwheel 256 rotated withreach driveshaft 252 andplunger 236,tilt nut 242 can remain on the threaded joint position, thereby fluid is distributed.Incase driveshaft 252 is engaged bytilt nut 242, tilt nut is just by the surface of underframe with tilt nut is pressed from both sides and the pressure that is added in the direction ofplunger 236 by driveshaft on the biasing rotatingshaft oftilt nut 242 is maintained in its closed position.It should be noted that in a preferred embodiment the static friction of theO shape ring 501 on theplunger 236 provides enough anti-spin friction power, rotates withdriveshaft 252 with surperficial plunger.
Figure 16 and 17 shows the alternate embodiment of " waking up " system that is used for conveying equipment for fluid substances.Figure 16 shows the bottom surface of conveying equipment for fluid substances, and this bottom surface has through skin and entersinstrument 270 and pin cap 1601.As shown in figure 17, the pin cap electric and or be mechanically connected toswitch 1705, switch 1705 couples withpower supply 1703 and control circuit 1705.The switch betweenpower supply 1703 and thecontrol circuit 1705 is closed in removing ofcap 1601, thus " waking up " conveying equipment for fluid substances.
Though shown embodiment shows the device that is mechanically fixed to and is connected electrically to single underframe, but the device of embodiment's according to the invention conveying equipment for fluid substances also can be mechanically fixed to and or be connected electrically to other structure, as separated structures member or shell.
In a word, conveying equipment for fluid substances according to the invention comprises fluid reservoir, is contained in plunger in the fluid reservoir, is couple to plunger with the threaded drive rod of reach plunger in fluid reservoir be couple to the driving wheel of threaded drive rod.Conveying equipment for fluid substances also comprises the pivotable drive engagement member, and the pivotable drive engagement member comprises and is configured to engage and rotates at least one arm of driving wheel gradually and be couple to the pivotable drive engagement member to rotate at least the first and second marmems (SMA) the line part of pivotable drive engagement member.For charging is given a response, a SMA line section construction is become contact and spurs the pivotable drive engagement member with first direction, and with the contact of the 2nd SMA line section construction one-tenth and with second direction pulling pivotable drive engagement member.
Another embodiment's according to the invention conveying equipment for fluid substances comprises fluid reservoir, be contained in plunger in the fluid reservoir, be couple to plunger with the threaded drive rod of reach plunger in fluid reservoir, be couple to the driving wheel of threaded drive rod and be configured to engage and rotate gradually the actuating mechanism of driving wheel.This embodiment of conveying equipment for fluid substances also comprises the turn-sensitive device that extends through driving wheel.Driving wheel is configured to during rotation engage turn-sensitive device, so that turn-sensitive device contact conduction path, thereby activation shows the electrical signal of the rotation of driving wheel.
Another embodiment's according to the invention conveying equipment for fluid substances comprises fluid reservoir, be contained in plunger in the fluid reservoir, be couple to plunger with the threaded drive rod of reach plunger in fluid reservoir, be configured to the threaded joint threaded drive rod when driving wheel rotates, linear motion be added to the driving wheel of threaded drive rod and be configured to engage and rotate gradually the actuating mechanism of driving wheel.This embodiment of conveying equipment for fluid substances also comprises the filling sensor of the path that extends through threaded drive rod.Threaded drive rod is configured to engage filling sensor when plunger is in precalculated position in the fluid reservoir, so that filling sensor contact conductive path, thereby activate the electrical signal that shows the Fluid Volume in the fluid reservoir.
Another embodiment's according to the invention conveying equipment for fluid substances comprises fluid reservoir, is contained in the plunger in the fluid reservoir and is couple to the threaded drive rod of plunger with reach plunger in fluid reservoir.In this embodiment, conveying equipment for fluid substances also comprises driving wheel, this driving wheel is configured to hold threaded drive rod and comprises threaded joint mechanism, this threaded joint mechanism is configured to move to the threaded joint position at non-threaded engagement positio, in this moves, the screw thread of threaded joint mechanism engage threads driveshaft.When driving wheel is configured to be in the rotation of threaded joint position and driving wheel in threaded joint mechanism linear motion is added to threaded drive rod.
Though in this manual principle of the present invention is described, those of skill in the art will appreciate that these are described only as example, rather than to the restriction of scope of the present invention.Except the one exemplary embodiment of shown in this manual and description, also visualize other embodiment within the scope of the present invention.Think the modification undertaken by those of skill in the art and replacing within the scope of the present invention, but the present invention and only limiting by following claims.

Claims (27)

CNA2006800113395A2005-03-282006-03-23Fluid delivery devicePendingCN101208515A (en)

Applications Claiming Priority (3)

Application NumberPriority DateFiling DateTitle
US10/907,2862005-03-28
US10/907,287US20050238507A1 (en)2002-04-232005-03-28Fluid delivery device
US10/907,2872005-03-28

Publications (1)

Publication NumberPublication Date
CN101208515Atrue CN101208515A (en)2008-06-25

Family

ID=39567849

Family Applications (1)

Application NumberTitlePriority DateFiling Date
CNA2006800113395APendingCN101208515A (en)2005-03-282006-03-23Fluid delivery device

Country Status (1)

CountryLink
CN (1)CN101208515A (en)

Cited By (21)

* Cited by examiner, † Cited by third party
Publication numberPriority datePublication dateAssigneeTitle
CN103392070A (en)*2011-02-232013-11-13朱尔技术公司An actuator element and an actuator for generating a force and/or a movement
CN107469186A (en)*2017-09-122017-12-15美敦力公司Fluid infusion apparatus and its drive mechanism
CN108331731A (en)*2017-01-192018-07-27达尔生技股份有限公司Fluid delivery device
WO2019052110A1 (en)*2017-09-122019-03-21美敦力公司Fluid infusion device and driving mechanism therefor
CN111939386A (en)*2019-05-172020-11-17上海移宇科技股份有限公司 Bilaterally actuated multi-infusion mode drug infusion device
CN111939387A (en)*2019-05-172020-11-17上海移宇科技股份有限公司 Drug infusion device with multiple infusion modes
WO2020233128A1 (en)*2019-05-172020-11-26Medtrum Technologies Inc.Miniature patch-type intelligent control infusion device
CN112237655A (en)*2019-07-192021-01-19上海移宇科技股份有限公司 Intelligently controlled miniature fully closed-loop artificial pancreas
CN112295050A (en)*2019-08-012021-02-02上海移宇科技股份有限公司 Drives and drug infusion devices
CN112295061A (en)*2019-08-012021-02-02上海移宇科技股份有限公司Paster type drug infusion device
CN113117184A (en)*2019-12-312021-07-16上海移宇科技股份有限公司Unilateral driving patch type drug infusion device
WO2022109967A1 (en)*2020-11-272022-06-02Medtrum Technologies Inc.A driving structure of a drug infusion device
CN115054771A (en)*2022-07-142022-09-16湖南千山医疗器械有限公司Can dismantle application formula insulin pump
CN115068739A (en)*2022-07-142022-09-20湖南千山医疗器械有限公司 Disposable insulin pump
CN115137913A (en)*2022-07-142022-10-04湖南千山医疗器械有限公司Disposable liquid medicine infusion device
US20220362469A1 (en)*2019-10-312022-11-17Eoflow Co., Ltd.Cartridge module, liquid medicine discharge assembly, and liquid medicine injection device comprising same
CN116350878A (en)*2021-12-282023-06-30上海移宇科技股份有限公司 Power Integrated Drug Infusion Set
WO2024011690A1 (en)*2022-07-142024-01-18湖南千山医疗器械有限公司Detachable insulin pump
WO2024011695A1 (en)*2022-07-142024-01-18湖南千山医疗器械有限公司Driving reset type liquid medicine infusion device
WO2024011696A1 (en)*2022-07-142024-01-18湖南千山医疗器械有限公司Detachable drug liquid infusion device
EP4255527A4 (en)*2020-01-212024-11-06Medtrum Technologies Inc. BILATERALLY CONTROLLED DRUG INFUSION DEVICE

Cited By (60)

* Cited by examiner, † Cited by third party
Publication numberPriority datePublication dateAssigneeTitle
CN103392070A (en)*2011-02-232013-11-13朱尔技术公司An actuator element and an actuator for generating a force and/or a movement
CN103392070B (en)*2011-02-232016-08-17朱尔技术公司Actuator component and for producing the actuator of power and/or motion
CN108331731A (en)*2017-01-192018-07-27达尔生技股份有限公司Fluid delivery device
CN107469186A (en)*2017-09-122017-12-15美敦力公司Fluid infusion apparatus and its drive mechanism
WO2019052110A1 (en)*2017-09-122019-03-21美敦力公司Fluid infusion device and driving mechanism therefor
CN107469186B (en)*2017-09-122019-08-16美敦力公司Fluid infusion apparatus and its driving mechanism
WO2021135173A1 (en)*2019-05-172021-07-08Medtrum Technologies Inc.High reliability drug infusion device
WO2021228232A1 (en)*2019-05-172021-11-18上海移宇科技股份有限公司Double-sided-driving smart control infusion device, and closed-loop artificial pancreas
WO2020233128A1 (en)*2019-05-172020-11-26Medtrum Technologies Inc.Miniature patch-type intelligent control infusion device
WO2020233486A1 (en)*2019-05-172020-11-26Medtrum Technologies Inc.Bilaterally driven drug infusion device with multiple infusion modes
US20230022657A1 (en)*2019-05-172023-01-26Medtrum Technologies Inc.Unilateral-driven patch-type drug infusion device
EP3970767A4 (en)*2019-05-172022-12-14Medtrum Technologies Inc.Drug infusion device
US20230173174A1 (en)*2019-05-172023-06-08Medtrum Technologies Inc.Bilaterally driven intelligent control infusion device
EP3969079A4 (en)*2019-05-172023-07-19Medtrum Technologies Inc. BILATERAL POWERED MEDICATION INFUSION DEVICE WITH MULTIPLE INFUSION MODES
US12427244B2 (en)*2019-05-172025-09-30Medtrum Technologies Inc.Unilateral-driven patch-type drug infusion device
CN111939386A (en)*2019-05-172020-11-17上海移宇科技股份有限公司 Bilaterally actuated multi-infusion mode drug infusion device
US12403247B2 (en)2019-05-172025-09-02Medtrum Technologies Inc.Drug infusion device
US12102792B2 (en)2019-05-172024-10-01Medtrum Technologies Inc.Bilaterally driven drug infusion device with multiple infusion modes
EP3969078A4 (en)*2019-05-172023-07-19Medtrum Technologies Inc. SMART MINIATURE PATCH INFUSION DEVICE
CN113663158B (en)*2019-05-172024-04-26上海移宇科技股份有限公司 Bilaterally driven closed-loop artificial pancreas
CN113543823A (en)*2019-05-172021-10-22上海移宇科技股份有限公司Drug infusion device
CN111939387A (en)*2019-05-172020-11-17上海移宇科技股份有限公司 Drug infusion device with multiple infusion modes
WO2021227298A1 (en)*2019-05-172021-11-18Medtrum Technologies Inc.Bilaterally driven closed-loop artificial pancreas
WO2021227312A1 (en)*2019-05-172021-11-18Medtrum Technologies Inc.Bilateral-driven patch-type drug infusion device
WO2021227297A1 (en)*2019-05-172021-11-18Medtrum Technologies Inc.Bilaterally driven closed-loop artificial pancreas
CN113663157A (en)*2019-05-172021-11-19上海移宇科技股份有限公司 Bilaterally driven closed-loop artificial pancreas
CN113663158A (en)*2019-05-172021-11-19上海移宇科技股份有限公司 Bilaterally driven closed-loop artificial pancreas
CN113663176A (en)*2019-05-172021-11-19上海移宇科技股份有限公司Bilateral drive patch type drug infusion device
CN113543823B (en)*2019-05-172023-12-15上海移宇科技有限公司Drug infusion device
US20220143304A1 (en)*2019-05-172022-05-12Medtrum Technologies Inc.Miniature patch-type intelligent control infusion device
CN113750319A (en)*2019-07-192021-12-07上海移宇科技股份有限公司 Integrated closed-loop artificial pancreas with multiple infusion modes
CN112237428B (en)*2019-07-192023-02-17上海移宇科技股份有限公司Double-side driving medical device integrating infusion and detection
CN112237428A (en)*2019-07-192021-01-19上海移宇科技股份有限公司 Infusion detection integrated bilateral drive medical device
CN112237659A (en)*2019-07-192021-01-19上海移宇科技股份有限公司Miniature full-closed-loop artificial pancreas system
CN112237659B (en)*2019-07-192023-03-14上海移宇科技股份有限公司Miniature full-closed-loop artificial pancreas system
CN112237429B (en)*2019-07-192023-02-17上海移宇科技股份有限公司Bilateral drive integrated medical device
CN112237429A (en)*2019-07-192021-01-19上海移宇科技股份有限公司Bilateral drive integrated medical device
CN112237655A (en)*2019-07-192021-01-19上海移宇科技股份有限公司 Intelligently controlled miniature fully closed-loop artificial pancreas
CN112295061A (en)*2019-08-012021-02-02上海移宇科技股份有限公司Paster type drug infusion device
CN112295050A (en)*2019-08-012021-02-02上海移宇科技股份有限公司 Drives and drug infusion devices
CN112295062A (en)*2019-08-012021-02-02上海移宇科技股份有限公司 Unilateral actuated multi-infusion mode drug infusion device
US20220218899A1 (en)*2019-08-012022-07-14Medtrum Technologies Inc.Patch-type drug infusion device
CN112295062B (en)*2019-08-012023-09-26上海移宇科技股份有限公司Single side driven multi-infusion injection molding type medicine infusion device
US12370303B2 (en)2019-08-012025-07-29Medtrum Technologies Inc.Patch-type drug infusion device
WO2021017408A1 (en)*2019-08-012021-02-04Medtrum Technologies Inc.Patch-type drug infusion device
US20220362469A1 (en)*2019-10-312022-11-17Eoflow Co., Ltd.Cartridge module, liquid medicine discharge assembly, and liquid medicine injection device comprising same
CN113117184A (en)*2019-12-312021-07-16上海移宇科技股份有限公司Unilateral driving patch type drug infusion device
CN113117184B (en)*2019-12-312023-02-28上海移宇科技股份有限公司 Unilateral drive patch drug infusion device
EP4255527A4 (en)*2020-01-212024-11-06Medtrum Technologies Inc. BILATERALLY CONTROLLED DRUG INFUSION DEVICE
WO2022109967A1 (en)*2020-11-272022-06-02Medtrum Technologies Inc.A driving structure of a drug infusion device
CN116350878A (en)*2021-12-282023-06-30上海移宇科技股份有限公司 Power Integrated Drug Infusion Set
CN115054771A (en)*2022-07-142022-09-16湖南千山医疗器械有限公司Can dismantle application formula insulin pump
WO2024011691A1 (en)*2022-07-142024-01-18湖南千山医疗器械有限公司Detachable patch insulin pump
WO2024011696A1 (en)*2022-07-142024-01-18湖南千山医疗器械有限公司Detachable drug liquid infusion device
WO2024011695A1 (en)*2022-07-142024-01-18湖南千山医疗器械有限公司Driving reset type liquid medicine infusion device
WO2024011688A1 (en)*2022-07-142024-01-18湖南千山医疗器械有限公司Disposable liquid medication infusion device
WO2024011690A1 (en)*2022-07-142024-01-18湖南千山医疗器械有限公司Detachable insulin pump
WO2024011694A1 (en)*2022-07-142024-01-18湖南千山医疗器械有限公司Disposable insulin pump
CN115068739A (en)*2022-07-142022-09-20湖南千山医疗器械有限公司 Disposable insulin pump
CN115137913A (en)*2022-07-142022-10-04湖南千山医疗器械有限公司Disposable liquid medicine infusion device

Similar Documents

PublicationPublication DateTitle
CN101208515A (en)Fluid delivery device
EP1874390B1 (en)Fluid delivery device
US20050238507A1 (en)Fluid delivery device
JP2008534131A (en) Fluid dosing device
US10265464B2 (en)Manually operable portable infusion device
CN102686256B (en) Drive mechanism for drug delivery device and elastic element for drive mechanism
CN105722540B (en)Rotation sensing device assembly with space design effectively
CN104981262B (en) Rotary sensor module with axial switch
US9750886B2 (en)Drug delivery device with dose capturing module
EP2211939B1 (en)Drug delivery device with shape memory actuator, lead screw and ratchet mechanism
US20060178633A1 (en)Chassis for fluid delivery device
EP2438957A1 (en)Dispenser components and methods for patient infusion device
US20180369494A1 (en)Rotary sensor assembly with low-power feature
CN113117179A (en)Unilateral driving patch type drug infusion device and control circuit thereof
CN103797336A (en) drug delivery device
CA2813470A1 (en)Medicine delivery device
US20230047034A1 (en)Infusion pumps and methods with shape memory wire driven syringe mechanism
CN103180000A (en) Drug delivery device and method for assembling the drug delivery device
KR20250125400A (en) Drug delivery device driving mechanism
WO2022241128A1 (en)Devices for determining fluid delivery pump information
WO2024211400A1 (en)Liquid detection sensor

Legal Events

DateCodeTitleDescription
C06Publication
PB01Publication
C10Entry into substantive examination
SE01Entry into force of request for substantive examination
C02Deemed withdrawal of patent application after publication (patent law 2001)
WD01Invention patent application deemed withdrawn after publication

Application publication date:20080625


[8]ページ先頭

©2009-2025 Movatter.jp