Movatterモバイル変換


[0]ホーム

URL:


CN101166177B - A method and system for initialization signaling transmission at non access layer - Google Patents

A method and system for initialization signaling transmission at non access layer
Download PDF

Info

Publication number
CN101166177B
CN101166177BCN2006101138334ACN200610113833ACN101166177BCN 101166177 BCN101166177 BCN 101166177BCN 2006101138334 ACN2006101138334 ACN 2006101138334ACN 200610113833 ACN200610113833 ACN 200610113833ACN 101166177 BCN101166177 BCN 101166177B
Authority
CN
China
Prior art keywords
access stratum
initialization signaling
unit
information
access
Prior art date
Legal status (The legal status is an assumption and is not a legal conclusion. Google has not performed a legal analysis and makes no representation as to the accuracy of the status listed.)
Active
Application number
CN2006101138334A
Other languages
Chinese (zh)
Other versions
CN101166177A (en
Inventor
李裕国
Current Assignee (The listed assignees may be inaccurate. Google has not performed a legal analysis and makes no representation or warranty as to the accuracy of the list.)
Datang Mobile Communications Equipment Co Ltd
Original Assignee
Datang Mobile Communications Equipment Co Ltd
Priority date (The priority date is an assumption and is not a legal conclusion. Google has not performed a legal analysis and makes no representation as to the accuracy of the date listed.)
Filing date
Publication date
Application filed by Datang Mobile Communications Equipment Co LtdfiledCriticalDatang Mobile Communications Equipment Co Ltd
Priority to CN2006101138334ApriorityCriticalpatent/CN101166177B/en
Publication of CN101166177ApublicationCriticalpatent/CN101166177A/en
Application grantedgrantedCritical
Publication of CN101166177BpublicationCriticalpatent/CN101166177B/en
Activelegal-statusCriticalCurrent
Anticipated expirationlegal-statusCritical

Links

Images

Landscapes

Abstract

The invention is in use for solving issue that hidden trouble in security is existed in the network system caused by that the user equipment does not encrypt initial signaling transmitted to non-access layer in current technique. The method includes steps: user equipment selects cryptographic algorithm based on own security capability and security capability of access equipment at network side, and using the selected cryptographic algorithm to encrypt initial signaling at non-access layer; user equipment sends message of service request including initial signaling cryptograph for non-access layer into the access equipment at network side. The invention guarantees security of user information, and enhances security performance of network system.

Description

The method and system that a kind of Non-Access Stratum initialization signaling transmits
Technical field
The present invention relates to the communications field, the method and system that particularly a kind of Non-Access Stratum initialization signaling transmits.
Background technology
In the radio interface protocol architecture as shown in Figure 1, Radio Resource control (the RRC of layer 3, RadioResource Control), the medium access control MAC (Medium Access Control) and the Radio Link control RLC (Radio Link Control) of layer 2 realize that in base station eNB (E-UTRAN Node B) side the PDCP PDCP (Packet Data Converge Protocol) of layer 2 realizes in IAD aGW (access Gateway) side.At the user plane of aGW, PDCP realizes the encryption of user data; At the control plane of aGW, PDCP realizes Non-Access Stratum NAS (encryption and the integrity protection of Non Access Stratum signaling.
Because an important need of Long Term Evolution LTE (Long Term Evolution) system is to reduce the time delay (being lower than 100ms) of control plane in the calling procedure, a general idea is, when user equipment (UE) (User Equipment) when making a call, the initial message of NAS (as service request) is by RRC message (as the RRC connection request) carrying, after receiving, admits eNB control, insert if allow, then directly send the RRC connection and set up message to UE, set up necessary Signaling Radio Bearer SRB (Signalling Radio Bearer), transmission channel and Physical Shared Channel thereof, by the signaling of S1 interface control plane, the service request of NAS is issued aGW simultaneously; After aGW receives this request; at first this user is carried out authentication; judge whether this user is validated user; if it is legal; then start and encrypt and integrity protection; and be this UE distribution system evolution architecture SAE (System ArchitectureEvolution) carrying according to the content in the message, the implementation procedure of user equipment (UE) access network as shown in Figure 2 is as follows:
Step 200, user equipment side Non-Access Stratum UE-NAS send initial message (Service Request) to user equipment side Radio Resource control UE-RRC.
Step 201, UE-RRC and base station eNB are passed through Random Access Channel RACH (Random AccessChannel) access network at random.
Step 202, UE-RRC send RRC connection request message (RRC ConnectionRequest) to eNB; The service request information that comprises UE-NAS in this message.
Step 203, eNB return the RRC connection to UE-RRC and set up message (RRC ConnectionSetup); ENB admits control after receiving the request message that UE-RRC sends, and sets up necessary Signaling Radio Bearer SRB, transmission channel and Physical Shared Channel thereof when allowing to insert.
Step 204, eNB send service request information (Service Request) to aGW; The signaling of eNB by S1 interface control plane sends to aGW with the service request information of UE-NAS.
Step 205, UE-RRC send RRC connection setup complete message (RRC ConnectionSetup Complete) to eNB.
Step 206, aGW carry out authentication to the user, generate encryption key CK (Cipher Key) and Integrity Key IK (Integrity Key).
Step 207, aGW start when judging that this user is validated user encrypts and integrity protection, and is terminal distribution SAE carrying according to the content in the service request information.
As from the foregoing, in the aGW side NAS signaling is encrypted and integrity protection in the prior art, and before RRC connects foundation, user equipment (UE) can not obtain safe mode command SMC (the Security Mode Command) message of current network, so user equipment side RRC can not encrypt and integrity protection Initial R RC connection request message and the NAS signaling of carrying thereof, and in NAS initialization signaling (as service request), can comprise some IE and user's privacy information, and such as: called telephone number, user ID and type of service and quality of service QoS (Quality of Service) etc.; Therefore the NAS initialization signaling not being added secret meeting brings user profile to be acquired easily and causes network system to have the problem of potential safety hazard.
Summary of the invention
The invention provides the method and system that a kind of Non-Access Stratum initialization signaling transmits, it is not encrypted and cause network system to have the problem of potential safety hazard in order to solve in the prior art when transmitting the Non-Access Stratum initialization signaling subscriber equipment.
The invention provides following technical scheme:
The method that a kind of Non-Access Stratum initialization signaling transmits comprises step:
Subscriber equipment is selected cryptographic algorithm according to the security capabilities of inherently safe ability and network side access device, and utilizes the cryptographic algorithm of selecting to encrypt the Non-Access Stratum initialization signaling;
The radio resource control RRC that described subscriber equipment will comprise Non-Access Stratum initialization signaling ciphertext and encrypt the relevant information of described Non-Access Stratum initialization signaling is connected to set up asks to send to network side, the relevant information of the described Non-Access Stratum initialization signaling of described encryption is used to offer network side, after network side and described subscriber equipment were set up RRC and be connected, network side was decrypted the Non-Access Stratum initialization signaling ciphertext of receiving from described subscriber equipment.
A kind of terminal equipment comprises:
Be used to obtain the unit of the security capabilities information of network side access device;
Be used to preserve the unit of the security capabilities information of encryption key and described access device;
Be used for selecting cryptographic algorithm, and utilize the cryptographic algorithm of selecting to encrypt the unit of Non-Access Stratum initialization signaling according to the security capabilities of inherently safe ability and network side access device;
Be used for sending the unit that the radio resource control RRC that comprises Non-Access Stratum initialization signaling ciphertext and encrypt the relevant information of described Non-Access Stratum initialization signaling is connected the foundation request to network side, wherein, the relevant information of the described Non-Access Stratum initialization signaling of described encryption is used to offer network side, after network side and described subscriber equipment are set up RRC and be connected, the Non-Access Stratum initialization signaling ciphertext of receiving from described subscriber equipment is decrypted.
A kind of access device comprises:
Be used to preserve unit to the encryption key that generates after the subscription authentication;
Be used to receive the unit of the service request information of the relevant information that comprises Non-Access Stratum initialization signaling ciphertext and encrypt described Non-Access Stratum initialization signaling;
Be used to utilize the relevant information of the described Non-Access Stratum initialization signaling of described encryption, decipher the Non-Access Stratum initialization signaling ciphertext in the described service request information, and handle the unit of the Non-Access Stratum initialization signaling after the deciphering.
A kind of communication system comprises:
Terminal equipment, be used for selecting cryptographic algorithm according to the security capabilities of inherently safe ability and network side access device, and the cryptographic algorithm of utilize selecting encrypts the Non-Access Stratum initialization signaling, and sends the relevant information radio resource control RRC that comprises Non-Access Stratum initialization signaling ciphertext and encrypt described Non-Access Stratum initialization signaling and is connected foundation and asks;
The base station, being used for setting up RRC according to the RRC connection request of setting up with terminal equipment is connected, and the service request information that generates this terminal equipment sends the relevant information that comprises Non-Access Stratum initialization signaling ciphertext in the described service request information and encrypt described Non-Access Stratum initialization signaling to access device;
Access device be used to utilize the relevant information of the described Non-Access Stratum initialization signaling of described encryption to obtain and the corresponding decipherment algorithm of described cryptographic algorithm, and the decipherment algorithm of utilization acquisition is deciphered the Non-Access Stratum initialization signaling ciphertext in the described service request information.
Beneficial effect of the present invention is as follows:
Subscriber equipment is selected cryptographic algorithm according to the security capabilities of inherently safe ability and network side access device among the present invention, utilize the cryptographic algorithm of selecting that the Non-Access Stratum initialization signaling is encrypted, the utilization of network side access device and the corresponding decipherment algorithm of described cryptographic algorithm that receive the service request information that comprises Non-Access Stratum initialization signaling ciphertext are decrypted described ciphertext; Adopt the present invention to guarantee safety of user information, strengthened the security of network system energy.
Description of drawings
Fig. 1 is a radio interface protocol architecture schematic diagram in the prior art;
Fig. 2 is the realization flow figure of subscriber equipment access network in the prior art;
Fig. 3 is the main realization flow figure that the Non-Access Stratum initialization signaling transmits in the embodiment of the invention;
Fig. 3 A is the principle schematic of f8 cryptographic algorithm;
Fig. 3 B is a structural representation of encrypting counter COUNT-C in the f8 cryptographic algorithm;
Fig. 4 is the structural representation of communication system in the embodiment of the invention;
Fig. 4 A is the structural representation of subscriber equipment in the embodiment of the invention;
Fig. 4 B is the structural representation of IAD in the embodiment of the invention;
Fig. 5 is the realization flow figure of subscriber equipment access network in the embodiment of the invention;
Fig. 6 is the process chart of network discharges subscriber equipment in the embodiment of the invention RRC subscriber equipment when connecting.
Embodiment
Subscriber equipment is selected cryptographic algorithm according to the security capabilities of self and the security capabilities of IAD in the present embodiment when making a call, and utilizing described cryptographic algorithm that the NAS initialization signaling is encrypted, the access device that receives NAS initialization signaling ciphertext is decrypted it according to the corresponding decipherment algorithm of cryptographic algorithm.
Present embodiment selects the f8 cryptographic algorithm that the Non-Access Stratum initialization signaling is encrypted as example in the LTE network architecture with subscriber equipment, in conjunction with Figure of description technical solution of the present invention is elaborated.
As shown in Figure 3, the main realization flow that the NAS initialization signaling transmits in the present embodiment is as follows:
Step 300, UE obtain and preserve the security capabilities information of the IAD in the network system information, and this information comprises the cryptographic algorithm that described IAD is supported.
Step 301, UE select cryptographic algorithm according to the security capabilities of inherently safe ability and IAD, and utilize the START value and the encryption key of this cryptographic algorithm and preservation that the NAS initial message is encrypted.
The RRC that step 302, UE will comprise service request information connects and to set up request message and send to the base station, by the chain of command signaling described service request information is sent to IAD by the base station, comprise cryptographic algorithm sign, START value and NAS initialization signaling ciphertext in this service request information.
Step 303, IAD are decrypted described NAS initialization signaling ciphertext according to corresponding decipherment algorithm and the START value of cryptographic algorithm sign.
In the f8 cryptographic algorithm as shown in Figure 3A, the NAS initialization signaling generates corresponding NAS initialization signaling ciphertext with f8 key stream XOR; Input parameter as this cryptographic algorithm comprises encryption key CK (128bit), encryption counter COUNT-C (32bit), radio bearer sign BEARER (5bit), key stream Length Indication LENGTH (16bit) and uplink downlink indication DIRECTION (1bit); Wherein, after network is finished authentication, generate when encryption key CK is user access network, and preserve by subscriber equipment; Encrypt counter COUNT-C, shown in Fig. 3 B, constitute by START value (20bit) and reserved value (12bit), the START value is kept in the subscriber equipment in the corresponding memory cell, when connection status transits to idle condition, need recomputate the START value at subscriber equipment, and when this value was greater than or equal to START threshold value (by the Virtual network operator setting), the request network re-authenticated and generates new encryption key, at this moment, subscriber equipment calculates the zero clearing of current START value again.
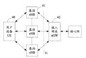
A kind of communication system in the present embodiment as shown in Figure 4, this system comprises by the interconnected a plurality of subscriber equipmenies (UE) 40 of communication interface, a plurality of base station (eNB) 41 and IAD (aGW) 42, wherein, interconnected between the base station by X2 interface, interconnected between base station and the IAD by the S1 interface; Describedsubscriber equipment 40 is used for selecting cryptographic algorithm according to the security capabilities of security capabilities of self andIAD 42, and utilize the encryption key (CK) and the encrypted reference value (START value) of preserving Non-Access Stratum (NAS) initialization signaling to be encrypted, and cryptographic algorithm sign, START value and NAS initialization signaling ciphertext are sent tobase station 41 by RRC connection request message at radio resource control layer (RRC); Describedbase station 41 sends to IAD 42 by the chain of command signaling with cryptographic algorithm sign, START value and the NAS initialization signaling ciphertext that receives; Described IAD 42 is decrypted NAS initialization signaling ciphertext according to the cryptographic algorithm sign and the START value that receive, and startup is encrypted and integrity protection also is that describedsubscriber equipment 40 distributes the SAE carrying.
Shown in Fig. 4 A, describedsubscriber equipment 40 comprises acquiring unit 400, be used to obtain the security capabilities information of IAD, this information comprises the cryptographic algorithm of IAD support etc., this security capabilities information can be obtained from the system information ofbase station 41 broadcasting, also can obtain by carrying out information interaction with IAD; Memory cell 401 is used to preserve encryption key CK and START value; Ciphering unit 402 is used for selecting cryptographic algorithm according to the security capabilities of inherently safe ability and IAD, and utilizes the cryptographic algorithm of selecting, the encryption key and the START value of preservation that the Non-Access Stratum initialization signaling is encrypted; Computing unit 403 is used for calculating the START value at subscriber equipment when connection status transits to idle condition; Processing unit 404, be used for when the START value is greater than or equal to the START threshold value, send the request of re-authenticating by Non-Access Stratum to network side and generate new CK, and trigger described memory cell 401 and preserve new CK and remove the START value of current preservation, and trigger described computing unit 403 and recomputate the START value; Transmitting element 405, the connection request message that is used for comprising Non-Access Stratum initialization signaling ciphertext sends to the base station, and this connection request message comprises information such as cryptographic algorithm sign, START value.
Shown in Fig. 4 B, described IAD 42 comprisesmemory cell 420, is used to preserve the encryption key to generating after the subscription authentication; Receivingelement 421 is used to receive the service request information that the base station sends, and comprises NAS signaling ciphertext, cryptographic algorithm sign and START value in this information;Decrypting device 422; be used for NAS initialization signaling ciphertext being resolved acquisition NAS initialization signaling and being used for when the user who determines access network is validated user, starting encryption and integrity protection, and distribute the SAE carrying for this user according to described NAS signaling content according to described cryptographic algorithm and START value.
Consult Fig. 5, the specific implementation flow process of subscriber equipment access network is as follows in the present embodiment:
Step 500, user equipment (UE) obtain the security capabilities information of the IAD aGW that indicates in the network system information, and with its preservation.
Step 501, user equipment side Non-Access Stratum UE-NAS send NAS initial message (Service Request) to user equipment side Radio Resource control UE-RRC.
Step 502, UE-RRC and base station eNB are passed through Random Access Channel access network at random.
Step 503, UE-RRC encrypt the NAS initial message;
In this step, UE-RRC selects cryptographic algorithm according to the security capabilities of self with the security capabilities that receives the aGW in the system information, utilizes the encryption key CK of current preservation and START value that the NAS initial message is encrypted simultaneously.
Step 504, UE-RRC send RRC connection request message (RRC ConnectionRequest) to eNB; The cryptographic algorithm, START value and the NAS initialization signaling ciphertext that comprise selection in this message.
Step 505, eNB return the RRC connection to UE-RRC and set up message (RRC ConnectionSetup); ENB admits control after receiving the request message that UE-RRC sends, and sets up necessary SRB, transmission channel and Physical Shared Channel thereof when allowing to insert.
Step 506, eNB send service request information (Service Request) to aGW; ENB sends to aGW by the signaling of S1 interface control plane with this service request information; Wherein, carry RRC in this service request information and connect cryptographic algorithm, START value and the NAS initialization signaling ciphertext that comprises in the request of foundation.
Step 507, UE-RRC send RRC connection setup complete message (RRC ConnectionSetup Complete) to eNB.
Step 508, aGW are decrypted the initial ciphertext of NAS according to cryptographic algorithm and START value.
Step 509, aGW carry out authentication to the user.
Step 510, aGW send safe mode command (Security Mode Command) message to eNB when judging that this user is validated user.
Step 511, eNB are to the UE-RRC Security Mode Command message that direct transfers.
Step 512, UE-RRC return safe mode to eNB and finish message (Security ModeComplete).
Step 513, eNB are finished message to the aGW safe mode that direct transfers.
Step 514, aGW send SAE carrying assignment messages (SAE Bearer Allocation) to eNB.
Step 515, eNB send radio bearer to UE-RRC and set up message (Radio Bearer Setup).
When network discharges the RRC connection of user equipment (UE), user equipment (UE) just transits to idle condition from connection status and carries out the sub-district gravity treatment, and the necessary system information of acquisition, at this moment, if the security capabilities of IAD aGW changes, user equipment (UE) then upgrades its inner security capabilities variable, persistent district.If subscriber equipment is found the START value and is greater than or equal to threshold value that user equipment side Non-Access Stratum UE-NAS request network re-authenticates, and generates new CK and IK; As shown in Figure 6, when network discharged the RRC connection of user equipment (UE), the handling process of user equipment (UE) was as follows:
Step 600, eNB send RRC connection release message (RRC ConnectionRelease) to UE-RRC.
Step 601, UE-RRC return RRC to eNB and connect Release complete (RRC ConnectionRelease Complete).
Step 602, UE-RRC send Radio Resource to UE-NAS and discharge request (RR ReleaseRequest).
Step 603, UE-RRC transit to idle condition from connection status, carry out the sub-district gravity treatment.
When step 604, UE-NAS are greater than or equal to threshold value in the START value, re-authenticate to the network side triggering, generate new CK and IK, UE will this newly-generated CK and IK preservation.
Technical solution of the present invention is not limited to realize in the LTE network system, also is applicable to other network architecture systems; The cryptographic algorithm that subscriber equipment is selected in the technical solution of the present invention also is not limited to the f8 cryptographic algorithm, can also repeat no more by the encryption of other cryptographic algorithm realizations to the NAS initialization signaling.
Obviously, those skilled in the art can carry out various changes and modification to the present invention and not break away from the spirit and scope of the present invention.Like this, if of the present invention these are revised and modification belongs within the scope of claim of the present invention and equivalent technologies thereof, then the present invention also is intended to comprise these changes and modification interior.

Claims (18)

CN2006101138334A2006-10-182006-10-18A method and system for initialization signaling transmission at non access layerActiveCN101166177B (en)

Priority Applications (1)

Application NumberPriority DateFiling DateTitle
CN2006101138334ACN101166177B (en)2006-10-182006-10-18A method and system for initialization signaling transmission at non access layer

Applications Claiming Priority (1)

Application NumberPriority DateFiling DateTitle
CN2006101138334ACN101166177B (en)2006-10-182006-10-18A method and system for initialization signaling transmission at non access layer

Publications (2)

Publication NumberPublication Date
CN101166177A CN101166177A (en)2008-04-23
CN101166177Btrue CN101166177B (en)2010-09-22

Family

ID=39334650

Family Applications (1)

Application NumberTitlePriority DateFiling Date
CN2006101138334AActiveCN101166177B (en)2006-10-182006-10-18A method and system for initialization signaling transmission at non access layer

Country Status (1)

CountryLink
CN (1)CN101166177B (en)

Families Citing this family (6)

* Cited by examiner, † Cited by third party
Publication numberPriority datePublication dateAssigneeTitle
CN102300210B (en)*2011-09-012017-08-04重庆中天重邮通信技术有限公司LTE Non-Access Stratum ciphertext decryption methods and its monitoring signaling device
CN103813308B (en)*2012-11-132017-11-10电信科学技术研究院A kind of uplink data transmission method, apparatus and system
CN111182539B (en)*2017-03-242023-04-07华为技术有限公司 Communication method and equipment
EP3881578B1 (en)*2018-12-112023-03-22MediaTek Singapore Pte. Ltd.Apparatuses and methods for protecting an initial non-access stratum (nas) message after a public land mobile network (plmn) change
CN110536291B (en)*2019-01-182024-11-01中兴通讯股份有限公司Authentication method, device and system
WO2022082667A1 (en)*2020-10-222022-04-28华为技术有限公司Method and apparatus for secure transmission of data

Citations (4)

* Cited by examiner, † Cited by third party
Publication numberPriority datePublication dateAssigneeTitle
GB2332594A (en)*1997-12-191999-06-23Motorola Ireland LimitedMethod of processing a service request in a communications system, and control unit for same
CN1478365A (en)*2000-11-282004-02-25��˹��ŵ�� A system that secures encrypted communication after switching
CN1602643A (en)*2001-10-162005-03-30高通股份有限公司 Method and apparatus for providing privacy of user identification and characteristics in a communication system
CN1650659A (en)*2002-08-162005-08-03西门子公司 Method for authenticating communication terminal equipment

Patent Citations (4)

* Cited by examiner, † Cited by third party
Publication numberPriority datePublication dateAssigneeTitle
GB2332594A (en)*1997-12-191999-06-23Motorola Ireland LimitedMethod of processing a service request in a communications system, and control unit for same
CN1478365A (en)*2000-11-282004-02-25��˹��ŵ�� A system that secures encrypted communication after switching
CN1602643A (en)*2001-10-162005-03-30高通股份有限公司 Method and apparatus for providing privacy of user identification and characteristics in a communication system
CN1650659A (en)*2002-08-162005-08-03西门子公司 Method for authenticating communication terminal equipment

Also Published As

Publication numberPublication date
CN101166177A (en)2008-04-23

Similar Documents

PublicationPublication DateTitle
US10397775B2 (en)Key exchange method and apparatus
KR102269726B1 (en)A secondary base station apparatus, a communication method for a secondary base station apparatus, a master base station apparatus, a communication method for a master base station apparatus, a mobile terminal apparatus, a communication method for a mobile terminal apparatus, and an integrated circuit
CN104661216B (en)The method and WTRU of NAS message are transmitted in WTRU
CN102291680B (en)Encrypted group calling method based on long term evolution (TD-LTE) trunking communication system
US8627092B2 (en)Asymmetric cryptography for wireless systems
EP3700127B1 (en)Method and system for key distribution in a wireless communication network
WO2013185735A2 (en)Encryption realization method and system
EP2946581A1 (en)Secure communications in a cellular system with split user and control planes
CN107710801A (en)Exempt from method, user equipment, access network equipment and the equipment of the core network of authorized transmissions
KR102256875B1 (en) How to provide security for multiple NAS connections using separate counts, and associated network nodes and wireless terminals
EP2109278A1 (en)Method and apparatus for generating a new key
CN104581710B (en) A method and system for securely transmitting LTE user IMSI on an air interface
US20120170745A1 (en)Method and device for encrypting user identity during paging procedure
EP2656648A1 (en)Operator-assisted key establishment
CN101166177B (en)A method and system for initialization signaling transmission at non access layer
US20150229620A1 (en)Key management in machine type communication system
CN102056157A (en)Method, system and device for determining keys and ciphertexts
KR20100087023A (en)End-to-end encrypted communication
WO2014131356A1 (en)Method, system, and terminal for hierarchical management of group keys of broadband cluster system
CN101155026A (en) Communication security protection method and device
CN103369523A (en)Method for improving cluster downlink safety
CN1323523C (en) A Method of Generating Dynamic Key in Wireless Local Area Network
EP3664486A1 (en)Method and apparatuses for ensuring secure attachment in size constrained authentication protocols
CN108156604B (en)Group calling encryption transmission method and device of cluster system, cluster terminal and system
WO2012024905A1 (en)Method, terminal and ggsn for encrypting and decrypting data in mobile communication network

Legal Events

DateCodeTitleDescription
C06Publication
PB01Publication
C10Entry into substantive examination
SE01Entry into force of request for substantive examination
C14Grant of patent or utility model
GR01Patent grant

[8]ページ先頭

©2009-2025 Movatter.jp