Movatterモバイル変換


[0]ホーム

URL:


CN101149455A - Lens module - Google Patents

Lens module
Download PDF

Info

Publication number
CN101149455A
CN101149455ACNA2006100627282ACN200610062728ACN101149455ACN 101149455 ACN101149455 ACN 101149455ACN A2006100627282 ACNA2006100627282 ACN A2006100627282ACN 200610062728 ACN200610062728 ACN 200610062728ACN 101149455 ACN101149455 ACN 101149455A
Authority
CN
China
Prior art keywords
optical filter
lens
lens module
lens barrel
microscope base
Prior art date
Legal status (The legal status is an assumption and is not a legal conclusion. Google has not performed a legal analysis and makes no representation as to the accuracy of the status listed.)
Pending
Application number
CNA2006100627282A
Other languages
Chinese (zh)
Inventor
袁崐益
Current Assignee (The listed assignees may be inaccurate. Google has not performed a legal analysis and makes no representation or warranty as to the accuracy of the list.)
Hongfujin Precision Industry Shenzhen Co Ltd
Hon Hai Precision Industry Co Ltd
Original Assignee
Hongfujin Precision Industry Shenzhen Co Ltd
Hon Hai Precision Industry Co Ltd
Priority date (The priority date is an assumption and is not a legal conclusion. Google has not performed a legal analysis and makes no representation as to the accuracy of the date listed.)
Filing date
Publication date
Application filed by Hongfujin Precision Industry Shenzhen Co Ltd, Hon Hai Precision Industry Co LtdfiledCriticalHongfujin Precision Industry Shenzhen Co Ltd
Priority to CNA2006100627282ApriorityCriticalpatent/CN101149455A/en
Publication of CN101149455ApublicationCriticalpatent/CN101149455A/en
Pendinglegal-statusCriticalCurrent

Links

Images

Landscapes

Abstract

Translated fromChinese

本发明提供一种镜头模组,该镜头模组包括镜座、与镜座配合的镜筒以及滤光片,该滤光片与镜筒或镜座是一体成型结构。所述镜头模组因其滤光片与镜筒或镜座是一体成型结构,使得该滤光片稳定固定在该镜筒或镜座上,避免了滤光片与间隔环之间的点胶工序,从而使镜头模组生产良率有所提高。

Figure 200610062728

The invention provides a lens module. The lens module includes a lens base, a lens barrel matched with the lens base, and a filter. The filter is integrally formed with the lens barrel or the lens base. The lens module is integrally formed with the filter and the lens barrel or lens holder, so that the filter is stably fixed on the lens barrel or lens holder, avoiding glue dispensing between the filter and the spacer ring process, so that the production yield of the lens module has been improved.

Figure 200610062728

Description

The camera lens module
Technical field
The present invention relates in particular to a kind of camera lens module with optical filter about a kind of camera lens module.
Background technology
Along with the development of optical image technology, the camera lens module is used widely in various imaging devices such as digital camera, video camera, and is integrated with the electronic installation such as mobile phone, notebook of camera lens module, more obtains numerous consumers' favor.Camera lens module with shoot function generally is made up of topmost eyeglass and mechanism's spare part.For at high-quality camera lens, be the assurance image quality, the position between each spare part should be fixed, so should adopt good assemble method assembles, come off to guarantee position relation firm relatively between each spare part, to be unlikely, thereby guarantee that camera lens has good image quality.
Please refer to Fig. 1, a kind of camera lens module 10 of prior art comprises lens barrel 11, some eyeglasses 12, optical filter 13 and spaced ring 14.Described eyeglass 12, optical filter 13 and spaced ring 14 all are contained in this lens barrel 11.Optical filter 13 is fixed together by gluing together with the mode of adhesive dispensing device point glue with spaced ring 14.
The optical filter 13 of this camera lens module 10 sticks on the spaced ring 14 in the mode of gummed; this method usually can apply inhomogeneous because of rotten, the viscose glue of viscose glue and because of the influence of 13 pairs of ultraviolet lights of optical filter make the viscose glue ultraviolet glue solidify not exclusively and optical filter 13 less with spaced ring 14 contacts area; be again different materials simultaneously; cause adhesion relatively poor and cause optical filter 13 to come off, thereby camera lens module 10 was lost efficacy from spaced ring 14.It is on the low side that Jiao He mode can cause camera lens module 10 production yields in addition.
Summary of the invention
Mirror is arranged at this, be necessary to provide a kind of and can make the camera lens module that optical filter is stably fixed on camera lens or the microscope base and the production yield increases.
A kind of camera lens module comprises microscope base, the lens barrel that cooperates with microscope base and optical filter, and this optical filter and lens barrel or microscope base are integrated formed structures.
Compared to prior art, described camera lens module is an integrated formed structure because of its optical filter and lens barrel or microscope base, make this optical filter be stably fixed on this lens barrel or the microscope base, be unlikely to come off from this lens barrel or microscope base, avoided the some glue process between optical filter and the spaced ring, increased thereby make the camera lens module produce yield.
Description of drawings
Fig. 1 is the diagrammatic cross-section of prior art camera lens module.
Fig. 2 is the diagrammatic cross-section of camera lens module in the first embodiment of the invention.
Fig. 3 is the process flow diagram of optical filter and lens barrel integral formation method.
Fig. 4 is the diagrammatic cross-section of camera lens module in the second embodiment of the invention.
Fig. 5 is the process flow diagram of optical filter and microscope base integral formation method.
Embodiment
Below with reference to accompanying drawing the present invention is described in further detail.
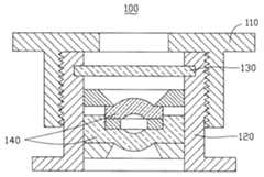
See also Fig. 2, the camera lens module 100 in the first embodiment of the invention comprises microscope base 110, the lens barrel 120 that cooperates with this microscope base 110 and is housed in optical filter 130 and lens set 140 in this lens barrel 120 that this optical filter 130 is one-body molded with lens barrel 120.Described cooperation is fixedly connected or is threaded, and in the present embodiment, is threaded.
Optical filter 130 and lens barrel 120 are can in-molded technology (Insert Molding) one-body molded, see also Fig. 3, and this integral formation method mainly may further comprise the steps:
Optical filter 130 is put into injection mold, then matched moulds;
The jet-out plastic material to this injection mold, injection mo(u)lding lens barrel 120;
Product is taken out in die sinking, obtains integrated optical filter 130 and lens barrel 120.
See also Fig. 4, the lens barrel 220 that the camera lens module 200 in the second embodiment of the invention comprises microscope base 210, cooperate with this microscope base 210 and optical filter 230 and the lens set 240 that is housed in this lens barrel 220, this optical filter 230 is one-body molded with microscope base 210.Described cooperation is fixedly connected or is threaded, and in the present embodiment, is threaded.
Optical filter 230 is one-body molded with in-molded technology with microscope base 210, sees also Fig. 5, and this integral formation method mainly may further comprise the steps:
Optical filter 230 is put into injection mold, then matched moulds;
The jet-out plastic material to this injection mold, injection mo(u)lding microscope base 210;
Product is taken out in die sinking, obtains integrated optical filter 230 and microscope base 210.
Compared to prior art, described camera lens module is an integrated formed structure because of its optical filter and lens barrel or microscope base, make this optical filter be stably fixed on this lens barrel or the microscope base, be unlikely to come off from this lens barrel or microscope base, avoided the some glue process between optical filter and the spaced ring, thereby the production yield of camera lens module increased.
In addition, those skilled in the art can also do other variation in spirit of the present invention, and certainly, the variation that these are done according to spirit of the present invention all should be included in the present invention's scope required for protection.

Claims (2)

1. camera lens module, it comprises microscope base, the lens barrel that cooperates with microscope base and optical filter, it is characterized in that, this optical filter and lens barrel or microscope base are integrated formed structures.
2. camera lens module as claimed in claim 1 is characterized in that described optical filter and lens barrel or microscope base are one-body molded with in-molded technology.
CNA2006100627282A2006-09-222006-09-22 Lens modulePendingCN101149455A (en)

Priority Applications (1)

Application NumberPriority DateFiling DateTitle
CNA2006100627282ACN101149455A (en)2006-09-222006-09-22 Lens module

Applications Claiming Priority (1)

Application NumberPriority DateFiling DateTitle
CNA2006100627282ACN101149455A (en)2006-09-222006-09-22 Lens module

Publications (1)

Publication NumberPublication Date
CN101149455Atrue CN101149455A (en)2008-03-26

Family

ID=39250066

Family Applications (1)

Application NumberTitlePriority DateFiling Date
CNA2006100627282APendingCN101149455A (en)2006-09-222006-09-22 Lens module

Country Status (1)

CountryLink
CN (1)CN101149455A (en)

Cited By (13)

* Cited by examiner, † Cited by third party
Publication numberPriority datePublication dateAssigneeTitle
CN107864325A (en)*2017-12-192018-03-30广东欧珀移动通信有限公司Lens assembly, camera and the electronic equipment of camera
CN107948482A (en)*2017-12-192018-04-20广东欧珀移动通信有限公司Lens assembly, camera and the electronic equipment of camera
CN107948481A (en)*2017-12-192018-04-20广东欧珀移动通信有限公司Lens assembly of camera, camera and electronic equipment
CN107948483A (en)*2017-12-192018-04-20广东欧珀移动通信有限公司Lens assembly, camera and the electronic equipment of camera
CN107976766A (en)*2017-12-192018-05-01广东欧珀移动通信有限公司Lens assembly, camera and the electronic equipment of camera
CN108040197A (en)*2017-12-192018-05-15广东欧珀移动通信有限公司 Camera lens assembly, camera and electronic equipment
CN108040196A (en)*2017-12-192018-05-15广东欧珀移动通信有限公司Lens assembly of camera, camera and electronic equipment
CN108107535A (en)*2017-12-192018-06-01广东欧珀移动通信有限公司Lens assembly of camera, camera with lens assembly and electronic equipment with lens assembly
CN108174065A (en)*2017-12-192018-06-15广东欧珀移动通信有限公司 Lens assembly of camera and camera, electronic equipment having same
CN108174066A (en)*2017-12-192018-06-15广东欧珀移动通信有限公司Lens assembly of camera, camera and electronic equipment
CN108174064A (en)*2017-12-192018-06-15广东欧珀移动通信有限公司 Camera lens assembly, camera and electronic equipment
CN110324512A (en)*2018-03-292019-10-11宁波舜宇光电信息有限公司Camera module and its filtering assembly and manufacturing method and electronic equipment
CN113180651A (en)*2021-04-232021-07-30安徽华米信息科技有限公司Physiological parameter detection mechanism and wearable equipment

Cited By (20)

* Cited by examiner, † Cited by third party
Publication numberPriority datePublication dateAssigneeTitle
CN108174064A (en)*2017-12-192018-06-15广东欧珀移动通信有限公司 Camera lens assembly, camera and electronic equipment
CN107948482A (en)*2017-12-192018-04-20广东欧珀移动通信有限公司Lens assembly, camera and the electronic equipment of camera
CN107948481A (en)*2017-12-192018-04-20广东欧珀移动通信有限公司Lens assembly of camera, camera and electronic equipment
CN107948483A (en)*2017-12-192018-04-20广东欧珀移动通信有限公司Lens assembly, camera and the electronic equipment of camera
CN107976766A (en)*2017-12-192018-05-01广东欧珀移动通信有限公司Lens assembly, camera and the electronic equipment of camera
CN108040197A (en)*2017-12-192018-05-15广东欧珀移动通信有限公司 Camera lens assembly, camera and electronic equipment
CN108040196A (en)*2017-12-192018-05-15广东欧珀移动通信有限公司Lens assembly of camera, camera and electronic equipment
CN108107535A (en)*2017-12-192018-06-01广东欧珀移动通信有限公司Lens assembly of camera, camera with lens assembly and electronic equipment with lens assembly
CN108174066A (en)*2017-12-192018-06-15广东欧珀移动通信有限公司Lens assembly of camera, camera and electronic equipment
CN108174065A (en)*2017-12-192018-06-15广东欧珀移动通信有限公司 Lens assembly of camera and camera, electronic equipment having same
CN108174064B (en)*2017-12-192020-02-04Oppo广东移动通信有限公司Lens assembly of camera, camera and electronic equipment
CN107948482B (en)*2017-12-192024-06-07深圳市欢太科技有限公司Lens component of camera, camera and electronic equipment
CN107864325A (en)*2017-12-192018-03-30广东欧珀移动通信有限公司Lens assembly, camera and the electronic equipment of camera
CN107948481B (en)*2017-12-192020-04-24Oppo广东移动通信有限公司Lens assembly of camera, camera and electronic equipment
CN108107535B (en)*2017-12-192020-05-12Oppo广东移动通信有限公司 Lens assembly of camera and camera and electronic equipment having the same
CN108174065B (en)*2017-12-192020-05-12Oppo广东移动通信有限公司Lens assembly of camera, camera with lens assembly and electronic equipment with lens assembly
CN108040196B (en)*2017-12-192020-06-23Oppo广东移动通信有限公司 Camera lens assemblies, cameras and electronic equipment
CN110324512B (en)*2018-03-292022-07-19宁波舜宇光电信息有限公司Camera module, light filtering assembly and manufacturing method thereof and electronic equipment
CN110324512A (en)*2018-03-292019-10-11宁波舜宇光电信息有限公司Camera module and its filtering assembly and manufacturing method and electronic equipment
CN113180651A (en)*2021-04-232021-07-30安徽华米信息科技有限公司Physiological parameter detection mechanism and wearable equipment

Similar Documents

PublicationPublication DateTitle
CN101149455A (en) Lens module
CN109716745B (en) Camera module and its molded circuit board assembly and molded photosensitive assembly and manufacturing method
TWI685065B (en) Camera module and its molded circuit board components and manufacturing method
US8670055B2 (en)Image pickup lens, camera module using the same, image pickup lens manufacturing method and camera module manufacturing method
CN205961279U (en) Camera module and its molded photosensitive component and molding die
CN110650273B (en)Image pickup module and molded photosensitive assembly and manufacturing method thereof
JP2007006475A (en)Camera module for mobile communication device
CN101174017A (en) Lens module and assembly method thereof
CN101630054A (en)Camera module and manufacturing method thereof
US7914159B2 (en)Method for manufacturing lens using opaque or semi-opaque material
CN101105570A (en)Lens module manufacturing apparatus and manufacturing method thereof
US7796337B2 (en)Optical microstructure plate and fabrication mold thereof
CN109716214A (en) Manufacturing method of contact lenses
CN101738648A (en)Lens and manufacturing method thereof
CN208314234U (en)Eyeglass and lens module
CN101604060B (en)Camera module and method for assembling same
CN101149456A (en) Lens module
CN107682592B (en)Camera module and molded circuit board assembly and manufacturing method thereof
TW200815178A (en)Lens module
US20040240084A1 (en)Optical lens
CN100405107C (en) Mobile phone camera module filter and manufacturing method thereof
CN103376525A (en)Lens structure and camera device thereof
US7990619B2 (en)Lens, lens array having same and method for making same
JP3154933U (en) Stacking lens module positioning lens holder
CN100445791C (en) Digital camera lens module manufacturing method

Legal Events

DateCodeTitleDescription
C06Publication
PB01Publication
C10Entry into substantive examination
SE01Entry into force of request for substantive examination
C12Rejection of a patent application after its publication
RJ01Rejection of invention patent application after publication

Open date:20080326


[8]ページ先頭

©2009-2025 Movatter.jp