





技术领域technical field
本发明涉及网络通讯领域,尤其涉及一种多业务多边缘设备和系统。The invention relates to the field of network communication, in particular to a multi-service multi-edge device and system.
背景技术Background technique
在无线通信系统中,接入网的通用参考架构如图1所示,包括:CPN(用户驻地网络)、Access Network(接入网络)和SP(业务提供商)三部分。其中,CPN由UE(用户设备)和RG(驻地网关)组成;接入网络则由AN(接入节点)和EN(边缘节点)及两者间的汇聚网络(图1中未示)组成;接入网与SP相连,SP可以为ASP(Application Service Provider,应用服务提供商)或NSP(Network Service Provider,网络业务提供者)。In a wireless communication system, the general reference architecture of an access network is shown in Figure 1, including three parts: CPN (Customer Premises Network), Access Network (Access Network) and SP (Service Provider). Among them, the CPN is composed of UE (User Equipment) and RG (Resident Gateway); the access network is composed of AN (Access Node) and EN (Edge Node) and the aggregation network between them (not shown in Figure 1); The access network is connected to the SP, and the SP can be ASP (Application Service Provider, application service provider) or NSP (Network Service Provider, network service provider).
对于WiMAX(World Interoperability for Microwave Access,微波接入全球互联网络),EN为ASN(Access Service Network,接入服务网络)GW(Gateway,网关),AN为BS(基站);对于DSL(Digital SubscriberLine,数字用户线网络)网络,EN为BRAS(BRAS,Broadband RemoteAccess Server,宽带接入服务器)/BNG(Broadband Network Gateway,宽带网络网关),AN为DSLAM(DSL Access Multiplexer,数字用户线接入复用器)。For WiMAX (World Interoperability for Microwave Access, microwave access to the global Internet), EN is ASN (Access Service Network, access service network) GW (Gateway, gateway), AN is BS (base station); for DSL (Digital SubscriberLine, Digital subscriber line network) network, EN is BRAS (BRAS, Broadband Remote Access Server, broadband access server)/BNG (Broadband Network Gateway, broadband network gateway), AN is DSLAM (DSL Access Multiplexer, digital subscriber line access multiplexer) ).
在实际应用中,运营商需要引入丰富的新业务,如IPTV(IP电视)、VoIP(IP话音)和一些在线游戏等多媒体业务。这些多媒体业务对于承载网络的要求与传统的Internet接入有很大不同,比如,带宽要求、QoS(服务质量)保障要求、可扩展性和可靠性要求等。而目前的城域网架构是仅针对尽力而为的Internet接入而设计的,并未考虑到引入各种多媒体业务对网络产生的影响。In practical applications, operators need to introduce rich new services, such as IPTV (IP TV), VoIP (Voice over IP) and some online games and other multimedia services. The requirements of these multimedia services on the bearer network are quite different from those of traditional Internet access, such as bandwidth requirements, QoS (Quality of Service) guarantee requirements, scalability and reliability requirements, and so on. However, the current MAN architecture is only designed for best-effort Internet access, without considering the impact of introducing various multimedia services on the network.
网络边缘节点是相关业务的发起点。目前的城域网都是基于单边缘设备的架构,当需要在城域网上增加新的业务类型时,由于不同类型的业务在本质特点上的不同,网络运营商在上述单边缘设备上低成本、高效率地提供不同类型的业务变得越来越困难。因此,为了适应新的业务需求,网络接入提供商需要采用多种边缘设备。该多种边缘设备通过将不同的SP提供的业务分布在不同的边缘节点上,可为实施和提供各种新的业务类型提供极大的灵活性,可以大大提高网络的可扩展性和可靠性,对于有冗余需求的业务,可以灵活地为其部署冗余的业务边缘节点。The network edge node is the initiation point of related services. The current metropolitan area network is based on the architecture of single-edge devices. When new types of services need to be added to the metropolitan area network, due to the differences in essential characteristics of different types of services, network operators need to use the above-mentioned single-edge devices at low cost. It is becoming more and more difficult to efficiently provide different types of services. Therefore, in order to adapt to new business requirements, network access providers need to adopt a variety of edge devices. By distributing the services provided by different SPs on different edge nodes, this variety of edge devices can provide great flexibility for implementing and providing various new service types, and can greatly improve the scalability and reliability of the network , for services with redundancy requirements, redundant service edge nodes can be flexibly deployed.
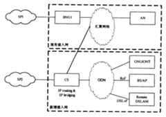
随着光纤技术的发展,出现了的如图2所示的基于光纤技术的接入网。其中,DSLoF(DSL over Fibre)和RoF(Radio over Fibre)技术就是通过光纤来传输DSL(数字用户线)或无线信号到远端的Remote DSLAM、BS或802.11的AP(接入点,Access Point)。由于光纤的衰减很小,因此通过上述DSLoF和RoF技术就可以将DSL和无线蜂窝网络的覆盖范围扩展到几十公里,而且Remote DSLAM、BS或AP基本无需进行软件升级和维护,并且可以做成免维护的封闭式设备,放在靠近用户的节点处。With the development of optical fiber technology, an access network based on optical fiber technology as shown in Figure 2 has emerged. Among them, DSLoF (DSL over Fiber) and RoF (Radio over Fiber) technologies are to transmit DSL (Digital Subscriber Line) or wireless signals to the remote Remote DSLAM, BS or 802.11 AP (Access Point, Access Point) through optical fiber . Due to the small attenuation of optical fibers, the coverage of DSL and wireless cellular networks can be extended to tens of kilometers through the above-mentioned DSLoF and RoF technologies, and Remote DSLAM, BS or AP basically do not need software upgrades and maintenance, and can be made into Maintenance-free closed equipment, placed at the node close to the user.
基于光纤技术的接入网主要包括:OLT(光路终结点)、ODN(光分配网)和ONU/ONT(光网络单元/光网络终端)。其中,OLT实现于CS(Central Station,中心站)。为了支持DSLoF和RoF,CS还实现DSLAM和BS/AP的二层、二层以上及部分物理层混合功能,Remote DSLAM、BS或AP可通过ODN和CS连接。CS相当于基于光纤技术的接入网中的边缘节点。The access network based on optical fiber technology mainly includes: OLT (Optical Path Termination Point), ODN (Optical Distribution Network) and ONU/ONT (Optical Network Unit/Optical Network Terminal). Among them, the OLT is implemented in the CS (Central Station, central station). In order to support DSLoF and RoF, CS also implements the layer 2, above layer 2 and some physical layer hybrid functions of DSLAM and BS/AP. Remote DSLAM, BS or AP can be connected to CS through ODN. CS is equivalent to the edge node in the access network based on optical fiber technology.
现有技术中一种单边缘多业务网络的架构示意图如图3所示。在该方案中,AN(接入节点)对应单一的BNG或BRAS或ASN GW,所有的SP的业务都接到单一的BNG或BRAS或ASN GW上,由接入服务器控制用户对业务提供商的选择,以及后续业务流的处理。A schematic diagram of an architecture of a single-edge multi-service network in the prior art is shown in FIG. 3 . In this solution, AN (access node) corresponds to a single BNG or BRAS or ASN GW, and all SP services are connected to a single BNG or BRAS or ASN GW, and the access server controls the user's access to the service provider. selection, and the processing of subsequent business flows.
上述单边缘多业务网络的架构的缺点为:The disadvantages of the above single-edge multi-service network architecture are as follows:
1、由于不同SP的业务都汇合到同一个BNG/BRAS上,为了实现对不同SP的业务进行隔离,BNG/BRAS必须支持虚拟路由器技术,即必须在BNG/BRAS上模拟多个虚拟IP域,每个SP分属不同的虚拟IP域。因此,将导致BNG/BRAS功能复杂,成本高;每增加一个SP,就要对所有边缘节点重新分配IP地址,对于BNG和AN合一的网络冲击较大;1. Since the services of different SPs are converged on the same BNG/BRAS, in order to isolate the services of different SPs, BNG/BRAS must support virtual router technology, that is, multiple virtual IP domains must be simulated on BNG/BRAS, Each SP belongs to a different virtual IP domain. Therefore, the functions of BNG/BRAS will be complicated and the cost will be high; every time an SP is added, IP addresses must be reassigned to all edge nodes, which will have a greater impact on the network where BNG and AN are integrated;
2、由于不同SP提供的业务特点的差异,导致BNG/BRAS需要支持各种业务特性,即每增加一种新的业务,就需要在BNG/BRAS上增加相关的特性支持;而且所有用户的认证、计费等控制流也需要在BNG/BRAS上支持,从而造成BNG/BRAS需要支持的功能繁多,扩展性差,导致BNG/BRAS成为了整个网络的瓶颈;2. Due to the differences in service characteristics provided by different SPs, BNG/BRAS needs to support various service characteristics, that is, every time a new service is added, relevant feature support needs to be added to BNG/BRAS; and all user authentication Control flows such as billing and billing also need to be supported on BNG/BRAS, resulting in many functions that BNG/BRAS needs to support and poor scalability, causing BNG/BRAS to become the bottleneck of the entire network;
3、该单边缘多业务网络的架构是仅针对尽力而为的Internet接入而设计的,当引入IPTV等高带宽、需QoS支持的业务时,该架构将面临带宽紧张、QoS无法保证等问题。3. The single-edge multi-service network architecture is only designed for best-effort Internet access. When services with high bandwidth and QoS support such as IPTV are introduced, the architecture will face problems such as bandwidth shortage and QoS cannot be guaranteed. .
现有技术中一种多边缘多业务网络的架构示意图如图4所示,AN分别连接到多个BNG,各个SP也都接到不同的BNG上。A schematic diagram of a multi-edge multi-service network architecture in the prior art is shown in FIG. 4 . ANs are respectively connected to multiple BNGs, and each SP is also connected to different BNGs.
上述多边缘多业务网络的架构的缺点为:The disadvantages of the above multi-edge multi-service network architecture are:
所有的AN都必须和不同SP所对应的BNG进行互连,每增加一个SP,同时也增加一个BNG,就要增加一倍的接入网连接建设,所有的AN也都必须增加一个上行口。因此,该方案虽然避免了BNG的瓶颈,但是对接入网的改造的冲击较大,成本较高,且网络的可扩展性不好。All ANs must be interconnected with BNGs corresponding to different SPs. Every time an SP is added, a BNG is added at the same time, and the construction of access network connections must be doubled. All ANs must also add an uplink port. Therefore, although this solution avoids the bottleneck of the BNG, it has a great impact on the transformation of the access network, the cost is high, and the scalability of the network is not good.
特别的,当要在该架构中发展如图2所示的基于光纤技术的新网络时,新增的Remote DSLAM、BS或AP将连接到新增的CS上,基本不可能再与原有的BNG进行连接。如果新增的Remote DSLAM、BS或AP要连到原有的BNG上,则原有的BNG需要增强对DSLAM和BS/AP的二层、二层以上及部分物理层混合功能的支持,将增加原有的BNG的复杂度。In particular, when a new network based on optical fiber technology as shown in Figure 2 is to be developed in this architecture, the newly added Remote DSLAM, BS or AP will be connected to the newly added CS, and it is basically impossible to communicate with the original BNG to connect. If the newly added Remote DSLAM, BS or AP is to be connected to the original BNG, the original BNG needs to enhance the support for the DSLAM and BS/AP on the second layer, above the second layer and some physical layer hybrid functions, and will increase The complexity of the original BNG.
对于在该架构上新增WiMAX网络,也会遇到类似问题,新增的BS连到新增的ASN GW上,基本不可能再与原有的BNG进行连接,原有的AN也不可能连到新增的ASN GW上,在这种情况下,如何提供多业务是个急待解决的问题。For the new WiMAX network on this architecture, similar problems will also be encountered. It is basically impossible to connect the newly added BS to the newly added ASN GW with the original BNG, and it is impossible to connect the original AN. On the newly added ASN GW, in this case, how to provide multiple services is an urgent problem to be solved.
发明内容Contents of the invention
本发明的目的是提供一种多业务多边缘设备和系统,从而在简化接入网边缘节点的功能,降低接入网边缘节点的成本的情况下,通过接入网给用户提供多业务。The purpose of the present invention is to provide a multi-service multi-edge device and system, so as to provide users with multiple services through the access network while simplifying the functions of the access network edge nodes and reducing the cost of the access network edge nodes.
本发明的目的是通过以下技术方案实现的:The purpose of the present invention is achieved through the following technical solutions:
一种接入网边缘节点设备,包括:An access network edge node device, comprising:
用户侧端口通信模块:用于与接入网接入节点进行通信;User-side port communication module: used to communicate with the access node of the access network;
网络侧端口通信模块:用于与接入网外部网络节点进行通信;Network side port communication module: used to communicate with external network nodes of the access network;
边缘节点互连通信模块:用于实现接入网边缘节点设备和其它接入网边缘节点设备互连通信;Edge node interconnection communication module: used to realize interconnection and communication between access network edge node devices and other access network edge node devices;
IP路由模块:用于实现接入网边缘节点设备支持IP路由功能;IP routing module: used to implement the access network edge node device to support IP routing function;
桥接模块:用于实现接入网边缘节点设备支持桥接功能。Bridge module: used to implement the edge node device of the access network to support the bridge function.
所述接入网边缘节点设备还包括:The access network edge node device also includes:
接入节点互连通信模块:用于实现接入网边缘节点设备和其它接入网接入节点设备互连通信。Access node interconnection communication module: used to implement interconnection and communication between access network edge node devices and other access network access node devices.
所述接入网边缘节点设备还包括地址解析协议ARP代理模块、动态主机配置协议DHCP模块和认证模块中的至少一个,其中,The access network edge node device also includes at least one of an address resolution protocol ARP proxy module, a dynamic host configuration protocol DHCP module, and an authentication module, wherein,
ARP代理模块:用于实现接入网边缘节点设备支持ARP代理功能;ARP proxy module: used to implement the access network edge node device to support the ARP proxy function;
DHCP模块:用于实现接入网边缘节点设备支持DHCP代理或中转功能;DHCP module: used to implement the access network edge node device to support DHCP proxy or relay function;
认证模块:用于实现接入网边缘节点设备支持网络接入服务器NAS和/或认证中转AR功能。Authentication module: used to implement the access network edge node device to support network access server NAS and/or authentication relay AR function.
所述桥接模块具体包括:The bridge module specifically includes:
IP桥接模块:用于实现接入网边缘节点设备支持IP桥接功能;和/或,IP bridging module: used to implement the access network edge node device to support the IP bridging function; and/or,
二层桥接模块:用于实现接入网边缘节点设备支持二层桥接功能。Layer 2 bridging module: used to implement the access network edge node device to support the layer 2 bridging function.
所述接入网边缘节点设备包括:中心站CS或宽带网络网关BNG/宽带接入服务器设备BRAS或接入服务网络网关ASN GW。The access network edge node equipment includes: central station CS or broadband network gateway BNG/broadband access server equipment BRAS or access service network gateway ASN GW.
一种接入网系统,包括:业务提供商SP和接入网络,该接入网络包括接入网边缘节点设备和接入节点AN,该接入网边缘节点设备和SP、AN相连,并和SP、AN进行通信。An access network system, comprising: a service provider SP and an access network, the access network includes an access network edge node device and an access node AN, the access network edge node device is connected to the SP and the AN, and is connected to the SP and the AN SP and AN communicate.
一种多业务多边缘系统,包括:至少两个接入网系统,每个接入网系统通过接入网边缘节点设备和其它接入网系统进行互连,每个接入网系统的接入网边缘节点设备只和该接入网系统对应的SP相连。A multi-service multi-edge system, including: at least two access network systems, each access network system is interconnected with other access network systems through an access network edge node device, each access network system The network edge node device is only connected to the corresponding SP of the access network system.
当所述接入网边缘节点设备接收到来自用户端口的ARP请求时,所述ARP代理模块以所述接入网边缘节点设备的MAC地址,从所述用户端口返回ARP应答;When the access network edge node device receives an ARP request from the user port, the ARP proxy module returns an ARP response from the user port with the MAC address of the access network edge node device;
当所述接入网边缘节点设备接收到来自和其它接入网边缘节点设备互连的端口的ARP请求时,所述ARP代理模块以所述接入网边缘节点设备的MAC地址,从所述和其它接入网边缘节点设备互连的端口返回ARP应答。When the access network edge node device receives an ARP request from a port interconnected with other access network edge node devices, the ARP proxy module sends the MAC address of the access network edge node device from the Ports interconnected with other access network edge node devices return ARP responses.
当所述接入网边缘节点设备接收到来自用户端口的分组,并且判断该分组的业务属于所述接入网边缘节点设备连接的业务提供商SP,则由所述IP路由模块进行相应IP路由处理,将该分组路由到所述接入网边缘节点设备连接的SP;When the edge node device of the access network receives a packet from the user port and judges that the business of the packet belongs to the service provider SP connected to the edge node device of the access network, the IP routing module performs corresponding IP routing processing, routing the packet to the SP to which the edge node device of the access network is connected;
当所述接入网边缘节点设备接收到来自用户端口的分组,并且判断该分组的业务属于和其互连的其它接入网边缘节点设备连接的SP,则由所述IP桥接模块进行相应IP桥接处理或者由所述二层桥接模块进行相应二层桥接处理,将该分组转发到所述其它接入网边缘节点设备;When the access network edge node device receives a packet from the user port and judges that the packet service belongs to the SP connected to other access network edge node devices interconnected with it, the IP bridging module performs corresponding IP Bridging processing or performing corresponding Layer 2 bridging processing by the Layer 2 bridging module, and forwarding the packet to the other access network edge node device;
当所述接入网边缘节点设备接收到来自网络侧和SP相连的端口的分组,则由所述IP路由模块进行相应IP路由处理,将该分组通过相应的用户IP地址所在的端口路由到下一跳;When the edge node device of the access network receives a packet from the port connected to the SP on the network side, the IP routing module performs corresponding IP routing processing, and routes the packet to the next port through the port where the corresponding user IP address is located. a jump;
当所述接入网边缘节点设备接收到来自网络侧和其它接入网边缘节点设备互连的端口的分组,则由所述IP桥接模块进行相应IP桥接处理或者由所述二层桥接模块进行相应二层桥接处理,将该分组转发到所述接入网边缘节点设备连接的用户端口。When the access network edge node device receives packets from the network side and the ports interconnected with other access network edge node devices, the IP bridging module performs corresponding IP bridging processing or the Layer 2 bridging module performs Corresponding to the Layer 2 bridging process, the packet is forwarded to the user port connected to the edge node device of the access network.
在所述IP桥接模块中建立保存IP会话和IP业务连接的对应关系的IP桥接转发表,IP会话包括用户侧物理端口、用户IP地址和用户的MAC地址,IP业务连接包括网络侧物理端口、虚拟局域网标识S-VLAN和IP边缘节点MAC地址;IP桥接模块根据该IP桥接转发表完成IP桥接。In the IP bridging module, an IP bridging forwarding table is set up to preserve the corresponding relationship between the IP session and the IP service connection, the IP session includes the user side physical port, the user IP address and the user's MAC address, and the IP service connection includes the network side physical port, The virtual local area network identifies the S-VLAN and the MAC address of the IP edge node; the IP bridging module completes the IP bridging according to the IP bridging forwarding table.
当所述接入网边缘节点设备接收到来自用户终端的携带网络接入标识NAI的认证消息,并且根据该NAI判断该用户终端的业务属于所述接入网边缘节点设备连接的SP,则所述接入网边缘节点设备作为NAS和验证、授权、计费AAA客户,将该认证消息转往相应的AAA服务器实现认证;When the access network edge node device receives the authentication message carrying the network access identifier NAI from the user terminal, and judges that the service of the user terminal belongs to the SP connected to the access network edge node device according to the NAI, then the The above-mentioned access network edge node device is used as a NAS and authentication, authorization, and billing AAA client, and forwards the authentication message to the corresponding AAA server to implement authentication;
当所述接入网边缘节点设备接收到来自用户终端的携带NAI的认证消息,并且根据该NAI判断该用户终端的业务属于和其互连的其它接入网边缘节点设备连接的SP,则所述接入网边缘节点设备作为认证中转将该认证消息中转到所述其它接入网边缘节点设备,该其它接入网边缘节点设备作为NAS/AAA客户,将该认证消息转往相应的AAA服务器实现认证。When the access network edge node device receives the authentication message carrying the NAI from the user terminal, and judges according to the NAI that the service of the user terminal belongs to the SP connected to other access network edge node devices interconnected with it, then the The access network edge node device serves as an authentication relay to transfer the authentication message to the other access network edge node device, and the other access network edge node device acts as a NAS/AAA client and forwards the authentication message to the corresponding AAA server Implement authentication.
当所述接入网边缘节点设备接收到来自用户终端的携带属性参数的DHCP消息,并且根据该属性参数判断该用户终端的业务属于所述接入网边缘节点设备连接的SP,则所述DHCP模块作为DHCP代理/中转,将该DHCP消息转往相应的DHCP服务器;When the access network edge node device receives a DHCP message carrying an attribute parameter from a user terminal, and judges according to the attribute parameter that the service of the user terminal belongs to the SP connected to the access network edge node device, the DHCP The module acts as a DHCP agent/transfer, and forwards the DHCP message to the corresponding DHCP server;
当所述接入网边缘节点设备接收到来自用户终端的携带属性参数的DHCP消息,并且根据该属性参数判断该用户终端的业务属于和其互连的其它接入网边缘节点设备连接的SP,则所述DHCP模块将该DHCP消息中转到所述其它接入网边缘节点设备,该其它接入网边缘节点设备的DHCP模块作为DHCP代理/中转,将该DHCP消息转往相应的DHCP服务器。When the access network edge node device receives the DHCP message carrying the attribute parameter from the user terminal, and judges according to the attribute parameter that the service of the user terminal belongs to the SP connected to other access network edge node devices interconnected with it, Then the DHCP module transfers the DHCP message to the other access network edge node device, and the DHCP module of the other access network edge node device acts as a DHCP proxy/relay, and transfers the DHCP message to the corresponding DHCP server.
所述接入网包括:数字用户线DSL接入网、微波接入全球互联WIMAX接入网或基于光纤技术的接入网。The access network includes: a digital subscriber line DSL access network, a microwave access global interconnection WIMAX access network or an access network based on optical fiber technology.
所述多业务多边缘系统包括:DSL接入网单元和基于光纤技术的接入网单元;The multi-service multi-edge system includes: a DSL access network unit and an access network unit based on optical fiber technology;
DSL接入网单元:包括BNG/BRAS设备、汇聚网络和AN,BNG/BRAS设备作为DSL接入网的IP边缘节点,连接其对应的不和其它BNG/BRAS设备相连的SP和DSL接入网中的AN;通过DSL接入网中的汇聚网络和基于光纤技术的接入网单元中的CS设备相连;DSL access network unit: including BNG/BRAS equipment, aggregation network and AN, BNG/BRAS equipment as the IP edge node of the DSL access network, connected to its corresponding SP and DSL access network not connected with other BNG/BRAS equipment The AN in the DSL access network is connected to the CS equipment in the access network unit based on optical fiber technology through the aggregation network in the DSL access network;
基于光纤技术的接入网单元:包括中心站设备、ODN和基于光纤技术的接入网中的AN,中心站设备作为基于光纤技术的接入网的IP边缘节点,连接其对应的不和其它中心站设备相连的的SP和基于光纤技术的接入网中的光分配网ODN,和DSL接入网中的汇聚网络相连。Access network unit based on optical fiber technology: including central station equipment, ODN and AN in the access network based on optical fiber technology. The SP connected to the center station equipment is connected to the optical distribution network ODN in the access network based on optical fiber technology, and is connected to the aggregation network in the DSL access network.
所述中心站设备具体包括:The central station equipment specifically includes:
通过光纤来传输DSL信号DSLoF模块:用于实现CS设备支持数字用户线接入复用器DSLAM的二层、二层以上及部分物理层混合,使CS设备通过ODN与远端的Remote DSLAM连接;Transmission of DSL signals through optical fibers DSLoF module: used to realize CS equipment supporting digital subscriber line access to the second layer, above layer and part of the physical layer of the multiplexer DSLAM, so that CS equipment can be connected to the remote Remote DSLAM through ODN;
和/或and / or
通过光纤来传输无线信号RoF模块:用于实现CS设备支持基站BS/接入点AP的二层、二层以上及部分物理层混合,使CS设备通过ODN与BS/AP连接;或者,实现CS设备支持ASN GW,使CS设备通过ODN与BS连接;RoF module for transmitting wireless signals through optical fiber: used to realize that CS equipment supports the mixing of layer 2, above layer 2 and some physical layers of base station BS/access point AP, so that CS equipment can connect with BS/AP through ODN; or, realize CS The device supports ASN GW, so that the CS device can connect with the BS through ODN;
和/或,and / or,
光路终结点OLT模块:用于实现CS设备支持OLT,使CS设备通过ODN与光网络单元ONU/光网络终端ONT连接。Optical path termination point OLT module: used to realize that CS equipment supports OLT, so that CS equipment can be connected with optical network unit ONU/optical network terminal ONT through ODN.
所述BNG/BRAS设备连接的SP通过BNG/BRAS到中心站到BS/AP/Remote DSLAM/ONU/ONT的路径提供业务给基于光纤技术的接入网;所述中心站设备连接的SP通过中心站到BS/AP/RemoteDSLAM/ONU/ONT的路径提供业务给基于光纤技术的接入网;The SP connected to the BNG/BRAS equipment provides services to the access network based on optical fiber technology through the path from the BNG/BRAS to the central station to the BS/AP/Remote DSLAM/ONU/ONT; the SP connected to the central station equipment passes through the center The path from the station to BS/AP/RemoteDSLAM/ONU/ONT provides services to the access network based on optical fiber technology;
所述BNG/BRAS设备连接的SP通过BNG/BRAS到AN的路径提供业务给DSL接入网;The SP connected to the BNG/BRAS device provides services to the DSL access network through the path from the BNG/BRAS to the AN;
如果中心站设备不支持与DSL接入网的AN互连,则BNG/BRAS设备实现IP桥接或二层桥接,所述中心站连接的SP通过中心站到BNG/BRAS设备到AN的路径提供业务给DSL接入网;否则,所述中心站连接的SP通过中心站到AN的路径提供业务给DSL接入网。If the central station equipment does not support interconnection with the AN of the DSL access network, the BNG/BRAS equipment implements IP bridging or Layer 2 bridging, and the SP connected to the central station provides services through the path from the central station to the BNG/BRAS equipment to the AN to the DSL access network; otherwise, the SP connected to the central station provides services to the DSL access network through the path from the central station to the AN.
所述多业务多边缘系统包括:DSL接入网单元和WIMAX接入网单元,The multi-service multi-edge system includes: a DSL access network unit and a WIMAX access network unit,
DSL接入网单元:包括:BNG/BRAS设备和AN,BNG/BRAS设备作为DSL接入网的IP边缘节点,连接其对应的不和其它BNG/BRAS设备相连的SP和DSL接入网中的AN,同时,和WIMAX接入网单元中的ASN GW设备相连;DSL access network unit: including: BNG/BRAS equipment and AN, BNG/BRAS equipment as the IP edge node of the DSL access network, connected to its corresponding SP not connected with other BNG/BRAS equipment and in the DSL access network AN, at the same time, is connected to the ASN GW equipment in the WIMAX access network unit;
WIMAX接入网单元:包括:ASN GW设备和BS,ASN GW设备作为WIMAX接入网的边缘节点,连接其对应的不和其它ASN GW设备相连的的SP和WIMAX接入网中的BS,同时,和DSL接入网中的BNG/BRAS设备相连。WIMAX access network unit: including: ASN GW equipment and BS, ASN GW equipment as the edge node of WIMAX access network, connects its corresponding SP not connected with other ASN GW equipment and BS in WIMAX access network, at the same time , to connect with the BNG/BRAS equipment in the DSL access network.
所述BNG/BRAS设备连接的SP通过BNG/BRAS到ASN GW到BS的路径提供业务给WIMAX接入网;所述ASN GW设备连接的SP通过ASN GW到BS的路径提供业务给WIMAX接入网;The SP connected to the BNG/BRAS device provides services to the WIMAX access network through the path from the BNG/BRAS to the ASN GW to the BS; the SP connected to the ASN GW device provides services to the WIMAX access network through the path from the ASN GW to the BS ;
所述BNG/BRAS设备连接的SP通过BNG/BRAS到AN的路径提供业务给DSL接入网;所述ASN GW设备连接的SP通过ASN GW到BNG/BRAS到AN的路径提供业务给DSL接入网。The SP connected to the BNG/BRAS device provides services to the DSL access network through the path from BNG/BRAS to AN; the SP connected to the ASN GW device provides services to DSL access through the path from ASN GW to BNG/BRAS to AN net.
所述多业务多边缘系统包括:基于光纤技术的接入网1单元和基于光纤技术的接入网2单元,The multi-service multi-edge system includes: an access network unit 1 based on optical fiber technology and an access network unit 2 based on optical fiber technology,
基于光纤技术的接入网1单元:包括中心站1设备、ODN和基于光纤技术的接入网中的AN,中心站1设备作为基于光纤技术的接入网1的IP边缘节点,连接其对应的不和其它中心站设备相连的的SP和基于光纤技术的接入网1中的ODN,同时,和基于光纤技术的接入网2中的中心站2设备相连;Optical fiber technology-based access network 1 unit: including central station 1 equipment, ODN and AN in the optical fiber technology-based access network, central station 1 equipment as the IP edge node of the optical fiber technology-based access network 1, connected to its corresponding The SP that is not connected to other central station equipment is connected to the ODN in the access network 1 based on optical fiber technology, and at the same time, is connected to the central station 2 equipment in the access network 2 based on optical fiber technology;
基于光纤技术的接入网2单元:包括中心站2设备、ODN和基于光纤技术的接入网中的AN,中心站2设备作为基于光纤技术的接入网2的IP边缘节点,连接其对应的不和其它中心站设备相连的SP和基于光纤技术的接入网2中的ODN,同时,和基于光纤技术的接入网1中的中心站1设备相连。Optical fiber technology-based access network 2 unit: including central station 2 equipment, ODN and AN in the optical fiber technology-based access network, central station 2 equipment as the IP edge node of the optical fiber technology-based access network 2, connecting its corresponding The SP that is not connected to other central station equipment is connected to the ODN in the access network 2 based on optical fiber technology, and at the same time, is connected to the central station 1 equipment in the access network 1 based on optical fiber technology.
所述中心站1设备连接的SP通过中心站1到中心站2到BS/AP/RemoteThe SP connected to the central station 1 equipment passes through the central station 1 to the central station 2 to the BS/AP/Remote
DSLAM/ONU/ONT的路径提供业务给基于光纤技术的接入网2;所述中心站2设备连接的SP通过中心站2到BS/AP/Remote DSLAM/ONU/ONT的路径提供业务给基于光纤技术的接入网2;The path of DSLAM/ONU/ONT provides services to the access network 2 based on optical fiber technology; the SP connected to the central station 2 equipment provides services to the optical fiber-based path through the central station 2 to BS/AP/Remote DSLAM/ONU/ONT Technical access network 2;
所述中心站1设备连接的SP通过中心站1到BS/AP/RemoteThe SP connected to the central station 1 device passes through the central station 1 to BS/AP/Remote
DSLAM/ONU/ONT的路径提供业务给基于光纤技术的接入网1;所述中心站2设备连接的SP通过中心站2到中心站1到BS/AP/Remote DSLAM/ONU/ONT的路径提供业务给基于光纤技术的接入网1。The path of DSLAM/ONU/ONT provides services to the access network 1 based on optical fiber technology; the SP connected to the central station 2 equipment is provided through the path from central station 2 to central station 1 to BS/AP/Remote DSLAM/ONU/ONT The service is provided to the access network 1 based on optical fiber technology.
所述多业务多边缘系统包括:DSL接入网1单元和DSL接入网2单元,The multi-service multi-edge system includes: DSL access network unit 1 and DSL access network unit 2,
DSL接入网1单元:包括:BNG/BRAS1设备和AN,BNG/BRAS1设备作为DSL接入网1的IP边缘节点,连接其对应的不和其它BNG/BRAS设备相连的的SP,同时,和DSL接入网2中的BNG/BRAS2设备相连;DSL access network 1 unit: including: BNG/BRAS1 equipment and AN, BNG/BRAS1 equipment as the IP edge node of DSL access network 1, connected to its corresponding SP that is not connected to other BNG/BRAS equipment, and at the same time, and The BNG/BRAS2 equipment in the DSL access network 2 is connected;
DSL接入网2单元:包括:BNG/BRAS2设备和AN,BNG/BRAS2设备作为DSL接入网2的IP边缘节点,连接其对应的不和其它BNG/BRAS设备相连的SP,同时,和DSL接入网1中的BNG/BRAS1设备相连。DSL access network 2 unit: including: BNG/BRAS2 equipment and AN, BNG/BRAS2 equipment as the IP edge node of DSL access network 2, connected to its corresponding SP that is not connected to other BNG/BRAS equipment, and at the same time, with DSL The BNG/BRAS1 equipment in the access network 1 is connected.
所述BNG/BRAS1设备连接的SP通过BNG/BRAS1到BNG/BRAS2到AN的路径提供业务给DSL接入网2;所述BNG/BRAS2设备连接的SP通过BNG/BRAS2到AN的路径提供业务给DSL接入网2;The SP connected to the BNG/BRAS1 device provides services to the DSL access network 2 through the path from BNG/BRAS1 to BNG/BRAS2 to AN; the SP connected to the BNG/BRAS2 device provides services to the DSL access network 2 through the path from BNG/BRAS2 to AN DSL access network 2;
所述BNG/BRAS1设备连接的SP通过BNG/BRAS1到AN的路径提供业务给DSL接入网1;所述BNG/BRAS2设备连接的SP通过BNG/BRAS2到BNG/BRAS1到AN的路径提供业务给DSL接入网1。The SP connected to the BNG/BRAS1 device provides services to the DSL access network 1 through the path from BNG/BRAS1 to AN; the SP connected to the BNG/BRAS2 device provides services to the DSL network through the path from BNG/BRAS2 to BNG/BRAS1 to AN DSL access network 1.
由上述本发明提供的技术方案可以看出,本发明通过对接入网边缘节点(例如CS)的功能进行扩展,通过接入网边缘节点将多个接入网相连。和现有技术相比,具有如下优点:It can be seen from the above-mentioned technical solution provided by the present invention that the present invention extends the functions of the access network edge nodes (such as CS), and connects multiple access networks through the access network edge nodes. Compared with the prior art, it has the following advantages:
1、在实现多业务时,现有DSL接入网中的BNG/BRAS无须支持虚拟路由器技术,即无需在BNG/BRAS上模拟多个虚拟IP域,简化了BNG/BRAS的功能,降低了BNG/BRAS成本。1. When implementing multiple services, the BNG/BRAS in the existing DSL access network does not need to support virtual router technology, that is, there is no need to simulate multiple virtual IP domains on the BNG/BRAS, which simplifies the functions of the BNG/BRAS and reduces the BNG /BRAS cost.
2、引入多边缘结构,避免了现有单边缘多业务接入网中的BNG/BRAS成为瓶颈的问题。2. Introducing a multi-edge structure avoids the problem that BNG/BRAS in the existing single-edge multi-service access network becomes a bottleneck.
3、通过对CS的功能进行扩展,新增基于光纤技术的接入网,解决了现有单边缘多业务接入网将面临带宽紧张、QoS无法保证等问题。3. By expanding the functions of the CS and adding an access network based on optical fiber technology, it solves the problems that the existing single-edge multi-service access network will face bandwidth constraints and QoS cannot be guaranteed.
4、新增的Remote DSLAM、BS或AP无须与原有的DSL接入网中的BNG/BRAS进行连接,通过CS与原有的DSL接入网中的BNG/BRAS的互连,从而得到原有的DSL接入网中的SP提供的业务。原有的AN亦可通过CS与原有的DSL接入网中的BNG/BRAS进行互连,从而得到新增SP提供的业务。从而使新增的Remote DSLAM、BS或AP、原有的AN不用增加其上行口,原有的DSL接入网中的汇聚网络也不用改造,对原有的DSL接入网的冲击较低,成本低,整个系统的可扩展性强。4. The newly added Remote DSLAM, BS or AP does not need to be connected with the BNG/BRAS in the original DSL access network, and the original Services provided by SPs in some DSL access networks. The original AN can also be interconnected with the BNG/BRAS in the original DSL access network through the CS, so as to obtain the services provided by the new SP. In this way, the newly added Remote DSLAM, BS or AP, and the original AN do not need to increase their uplink ports, and the aggregation network in the original DSL access network does not need to be modified, and the impact on the original DSL access network is relatively low. The cost is low, and the scalability of the whole system is strong.
同样,对于在DSL接入网上新增WiMAX网络,新增的BSP无须与原有的BNG进行连接,通过ASN GW与原有的BNG的互连得到原有DSL接入网的SP的业务提供,原有DSL接入网的AN亦可通过ASN GW与原有DSL接入网的BNG的互连得到新增SP的业务提供。Similarly, for the new WiMAX network on the DSL access network, the newly added BSP does not need to be connected to the original BNG, and the service provided by the SP of the original DSL access network can be obtained through the interconnection between the ASN GW and the original BNG. The AN of the original DSL access network can also obtain the service provision of the newly added SP through the interconnection between the ASN GW and the BNG of the original DSL access network.
5、原有的DSL接入网中的BNG/BRAS不需增强对DSLAM和BS/AP的二层、二层以上及部分物理层混合功能的支持,即可与基于光纤技术的接入网进行共存,支持DSLoF和RoF。5. The BNG/BRAS in the original DSL access network does not need to strengthen the support for the second layer, the second layer above and some physical layer hybrid functions of DSLAM and BS/AP, and can communicate with the access network based on optical fiber technology. Coexistence, support DSLoF and RoF.
6、CS支持IP路由和IP桥接的二三层混合功能,从而使整个系统实现了灵活地支持多业务的接入网。6. The CS supports the mixed functions of the second and third layers of IP routing and IP bridging, so that the entire system realizes an access network that flexibly supports multiple services.
附图说明Description of drawings
图1为现有通用接入网的通用参考架构示意图;FIG. 1 is a schematic diagram of a general reference architecture of an existing general access network;
图2为现有基于光纤技术的接入网示意图;FIG. 2 is a schematic diagram of an existing access network based on optical fiber technology;
图3为现有技术中一种单边缘多业务网络的架构示意图;FIG. 3 is a schematic diagram of the architecture of a single-edge multi-service network in the prior art;
图4为现有技术中一种多边缘多业务网络的架构示意图;FIG. 4 is a schematic diagram of the architecture of a multi-edge multi-service network in the prior art;
图5为本发明所述边缘节点设备的实施例的结构示意图;FIG. 5 is a schematic structural diagram of an embodiment of an edge node device according to the present invention;
图6为本发明所述多业务多边缘系统的实施例1的结构示意图;6 is a schematic structural diagram of Embodiment 1 of the multi-service multi-edge system of the present invention;
图7为本发明所述多业务多边缘系统的实施例1中的一种逻辑连接示意图;7 is a schematic diagram of a logical connection in Embodiment 1 of the multi-service multi-edge system of the present invention;
图8为本发明所述多业务多边缘系统的实施例1中的一种逻辑连接示意图;FIG. 8 is a schematic diagram of a logical connection in Embodiment 1 of the multi-service multi-edge system of the present invention;
图9为本发明所述多业务多边缘系统的实施例1中的一种逻辑连接示意图;FIG. 9 is a schematic diagram of a logical connection in Embodiment 1 of the multi-service multi-edge system of the present invention;
图10为发明所述多业务多边缘系统的实施例2的结构示意图;Fig. 10 is a schematic structural diagram of Embodiment 2 of the multi-service multi-edge system of the invention;
图11为发明所述多业务多边缘系统的实施例3的结构示意图;Fig. 11 is a schematic structural diagram of Embodiment 3 of the multi-service multi-edge system of the invention;
图12为图6中的CS的ARP代理过程示意图;FIG. 12 is a schematic diagram of the ARP proxy process of the CS in FIG. 6;
图13为图6中的CS的IP bridging/routing混合处理过程示意图;Fig. 13 is a schematic diagram of the IP bridging/routing hybrid processing process of CS in Fig. 6;
图14为本发明所述多业务多边缘系统中的CS的NAS和AR代理功能示意图;Fig. 14 is a schematic diagram of NAS and AR agent functions of CS in the multi-service multi-edge system of the present invention;
图15为本发明所述多业务多边缘系统中的CS的NAS和AR代理功能的具体实现过程示意图;FIG. 15 is a schematic diagram of the specific implementation process of the NAS and AR proxy functions of the CS in the multi-service multi-edge system of the present invention;
图16为本发明所述多业务多边缘系统中的CS的DHCP Proxy/Relay功能示意图;16 is a schematic diagram of the DHCP Proxy/Relay function of the CS in the multi-service multi-edge system of the present invention;
图17为本发明所述多业务多边缘系统中的CS的DHCP Proxy/Relay功能的具体实现过程示意图。FIG. 17 is a schematic diagram of a specific implementation process of the DHCP Proxy/Relay function of the CS in the multi-service multi-edge system of the present invention.
具体实施方式Detailed ways
本发明提供了一种多业务多边缘设备和系统,本发明的核心为:对接入网中的边缘节点的功能进行扩展,将接入网和接入网之间通过边缘节点进行互连,每个接入网的边缘节点只和该接入网对应的SP和AN相连。The present invention provides a multi-service multi-edge device and system. The core of the present invention is: to expand the functions of the edge nodes in the access network, to interconnect the access network and the access network through the edge nodes, The edge nodes of each access network are only connected to the corresponding SP and AN of the access network.
本发明所述多业务多边缘系统由通过边缘节点设备进行互连的各个接入网组成,每个接入网的边缘节点设备只和该接入网对应的SP和AN相连。上述接入网包括:DSL接入网、WIMAX接入网和基于光纤技术的光接入网等接入网络。The multi-service multi-edge system of the present invention is composed of various access networks interconnected by edge node devices, and the edge node devices of each access network are only connected to the corresponding SP and AN of the access network. The above-mentioned access network includes: DSL access network, WIMAX access network and optical access network based on optical fiber technology and other access networks.
上述边缘节点设备的实施例的结构如图5所示,必须包括如下模块:The structure of the embodiment of the above-mentioned edge node device is shown in Figure 5, and must include the following modules:
用户侧端口通信模块:用于与接入网接入节点进行通信;User-side port communication module: used to communicate with the access node of the access network;
网络侧端口通信模块:用于与接入网外部网络节点进行通信;Network side port communication module: used to communicate with external network nodes of the access network;
边缘节点互连通信模块:用于实现接入网边缘节点设备和其它接入网边缘节点设备互连通信;Edge node interconnection communication module: used to realize interconnection and communication between access network edge node devices and other access network edge node devices;
IP路由(IP routing)模块:用于实现接入网边缘节点设备支持IP路由功能;IP routing (IP routing) module: used to realize the edge node device of the access network to support the IP routing function;
桥接(Bridging)模块:用于实现接入网边缘节点设备支持桥接功能。桥接模块包括:IP桥接模块和二层桥接模块。Bridging (Bridging) module: used to implement the edge node device of the access network to support the bridging function. The bridging module includes: an IP bridging module and a layer 2 bridging module.
其中,IP桥接模块:用于实现接入网边缘节点设备支持IP路由和IP桥接的二三层混合功能。Among them, the IP bridging module: used to realize the hybrid functions of the second and third layers supported by the edge node device of the access network to support IP routing and IP bridging.
其中,二层桥接模块:用于实现接入网边缘节点设备支持IP路由和二层桥接混合功能。Among them, the layer-2 bridging module: used to implement the access network edge node device to support the mixed functions of IP routing and layer-2 bridging.
可以包括如下模块:Can include the following modules:
接入节点互连模块:用于实现接入网边缘节点设备和其它接入网的接入节点设备互连。Access node interconnection module: used to realize the interconnection between the edge node devices of the access network and the access node devices of other access networks.
ARP(Address Resolution Protocol,地址解析协议)代理模块:用于实现接入网边缘节点设备支持ARP代理。ARP (Address Resolution Protocol, Address Resolution Protocol) proxy module: used to implement the access network edge node device to support ARP proxy.
DHCP(Dynamic Host Configuration Protocol,动态主机配置协议)模块:用于实现接入网边缘节点设备支持DHCP代理或中转。DHCP (Dynamic Host Configuration Protocol, dynamic host configuration protocol) module: used to realize the edge node device of the access network to support DHCP proxy or relay.
NAS(Network Access Server,网络接入服务器)和AR(Authentication Relay,认证中转)模块:用于实现接入网边缘节点设备支持NAS及AR代理。NAS (Network Access Server, network access server) and AR (Authentication Relay, authentication relay) module: used to realize the edge node device of the access network to support NAS and AR proxy.
基于上述接入网边缘节点设备,本发明提出了一种接入网系统,该接入网系统主要包括:SP(业务提供商)和接入网络,Based on the above access network edge node equipment, the present invention proposes an access network system, which mainly includes: SP (service provider) and access network,
SP:和接入网络中的接入网边缘节点设备相连并进行通信;SP: Connect and communicate with the access network edge node device in the access network;
接入网络:包括上述接入网边缘节点设备和N,该接入网边缘节点设备和SP、AN相连,并和SP、AN进行通信。Access network: including the above access network edge node device and N, the access network edge node device is connected to SP and AN, and communicates with SP and AN.
基于上述接入网系统,本发明还提出了一种多业务多边缘系统,该多业务多边缘系统主要包括:Based on the above access network system, the present invention also proposes a multi-service multi-edge system, the multi-service multi-edge system mainly includes:
通过接入网边缘节点设备进行互连的至少两个上述接入网系统,每个接入网系统的接入网边缘节点设备只和该接入网系统对应的SP相连。For at least two access network systems interconnected through access network edge node devices, the access network edge node devices of each access network system are only connected to the corresponding SP of the access network system.
下面结合附图来详细描述本发明,本方法所述多业务多边缘系统的实施例1的结构如图6所示,包括如下单元:DSL接入网单元和基于光纤技术的接入网单元。The present invention will be described in detail below in conjunction with the accompanying drawings. The structure of Embodiment 1 of the multi-service multi-edge system described in this method is shown in Figure 6, including the following units: a DSL access network unit and an access network unit based on optical fiber technology.
DSL接入网单元:包括BNG/BRAS设备、汇聚网络和AN。BNG/BRAS设备作为DSL接入网的IP边缘节点,连接其对应的不和其它BNG/BRAS设备相连的SP和DSL接入网中的AN,同时,通过DSL接入网中的汇聚网络和基于光纤技术的接入网单元中的CS设备相连。DSL access network unit: including BNG/BRAS equipment, aggregation network and AN. As the IP edge node of the DSL access network, the BNG/BRAS device connects its corresponding SP not connected with other BNG/BRAS devices and the AN in the DSL access network. The CS equipment in the access network unit of optical fiber technology is connected.
基于光纤技术的接入网单元:包括CS设备、ODN和BS/AP/RemoteDSLAM/ONU/ONT。CS设备作为基于光纤技术的接入网的IP边缘节点,连接其对应的不和其它CS设备相连的的SP和基于光纤技术的接入网中的ODN,同时,和DSL接入网中的汇聚网络相连。SP与CS设备间可以存在ER(边缘路由器),ER起SP和CS间的互连路由作用。Access network unit based on optical fiber technology: including CS equipment, ODN and BS/AP/RemoteDSLAM/ONU/ONT. As the IP edge node of the fiber-optic technology-based access network, the CS device connects its corresponding SP that is not connected to other CS devices with the ODN in the fiber-optic technology-based access network, and at the same time, integrates with the DSL access network Internet connection. An ER (Edge Router) may exist between the SP and the CS, and the ER acts as an interconnection route between the SP and the CS.
每个BNG/BRAS设备包括如下模块:Each BNG/BRAS device includes the following modules:
网络侧端口通信模块:用于与接入网外部网络节点进行通信;Network side port communication module: used to communicate with external network nodes of the access network;
边缘节点互连通信模块:用于实现BNG/BRAS设备和其它接入网边缘节点设备互连通信;Edge node interconnection communication module: used to realize interconnection and communication between BNG/BRAS equipment and other access network edge node equipment;
IP路由模块:用于实现BNG/BRAS设备支持IP路由功能;IP routing module: used to realize BNG/BRAS equipment supporting IP routing function;
桥接模块:用于实现BNG/BRAS设备支持桥接功能。桥接模块包括:IP桥接模块和二层桥接模块。Bridge module: used to implement BNG/BRAS equipment to support bridging function. The bridging module includes: an IP bridging module and a layer 2 bridging module.
其中,IP桥接模块:用于实现BNG/BRAS设备支持IP桥接功能。即BNG/BRAS设备即可以作为一种特殊的IP边缘节点,也可以作为一种特殊的AN。Among them, the IP bridging module: used to realize that the BNG/BRAS equipment supports the IP bridging function. That is, the BNG/BRAS device can be used as a special IP edge node or as a special AN.
其中,二层桥接模块:用于实现BNG/BRAS设备支持二层桥接功能。Among them, the layer-2 bridging module: used to implement the BNG/BRAS device to support the layer-2 bridging function.
每个CS设备中包括如下模块:Each CS device includes the following modules:
网络侧端口通信模块:用于与接入网外部网络节点进行通信;Network side port communication module: used to communicate with external network nodes of the access network;
边缘节点互连通信模块:用于实现CS设备和其它接入网边缘节点设备互连通信;Edge node interconnection communication module: used to realize the interconnection and communication between CS equipment and other access network edge node equipment;
IP路由模块:用于实现CS设备支持IP路由功能;IP routing module: used to realize that CS equipment supports IP routing function;
桥接模块:用于实现CS设备支持桥接功能。桥接模块包括:IP桥接模块和二层桥接模块。Bridge module: used to implement the CS device to support the bridge function. The bridging module includes: an IP bridging module and a layer 2 bridging module.
其中,IP桥接模块:用于实现CS设备支持IP桥接功能。即CS设备即可以作为一种特殊的IP边缘节点,也可以作为一种特殊的AN。Wherein, the IP bridging module: used to realize that the CS device supports the IP bridging function. That is, the CS device can be used as a special IP edge node or as a special AN.
如图6所示,对于SP1,BNG1为IP边缘节点,CS作为BNG1的一种特殊的AN,支持IP bridging或二层桥接的功能;对于SP2,CS为IP边缘节点,支持IP routing的功能;若CS不支持与DSL接入网的AN互连,则BNG1作为CS的一种特殊的AN,必须支持IP bridging或二层桥接的功能。As shown in Figure 6, for SP1, BNG1 is an IP edge node, and CS is a special AN of BNG1, supporting the function of IP bridging or Layer 2 bridging; for SP2, CS is an IP edge node, supporting the function of IP routing; If the CS does not support interconnection with the AN of the DSL access network, BNG1, as a special AN of the CS, must support the function of IP bridging or Layer 2 bridging.
二层桥接模块:用于实现CS设备支持二层桥接功能。Layer 2 bridging module: used to implement the CS device to support the Layer 2 bridging function.
AN互连模块:用于和DSL接入网中的汇聚网络相连,通过该汇聚网络和DSL接入网中的AN设备互连。AN interconnection module: used to connect with the aggregation network in the DSL access network, and interconnect with the AN equipment in the DSL access network through the aggregation network.
ARP代理模块:用于实现CS设备支持ARP代理功能。ARP proxy module: used to implement the CS device to support the ARP proxy function.
DHCP代理模块:用于实现CS设备支持ARP代理或中转功能。DHCP proxy module: used to implement CS equipment to support ARP proxy or relay function.
NAS和AR模块:用于实现CS设备支持NAS及AR代理功能。NAS and AR module: used to implement CS equipment to support NAS and AR proxy functions.
由于上述CS设备作为基于光纤技术的接入网中的IP边缘节点,因此,CS设备还包括:Since the above-mentioned CS equipment is used as an IP edge node in the access network based on optical fiber technology, the CS equipment also includes:
DSLoF模块:用于实现CS设备支持DSLAM的二层、二层以上及部分物理层功能,即实现DSLoF功能。使CS设备通过ODN与Remote DSLAM连接。DSLoF module: It is used to realize that the CS equipment supports the second layer, the second layer above and some physical layer functions of DSLAM, that is, to realize the DSLoF function. Connect the CS device to the Remote DSLAM through the ODN.
RoF模块:用于实现CS设备支持BS/AP的二层、二层以上及部分物理层功能,即实现RoF功能。使CS设备通过ODN与BS/AP连接。或者,实现CS设备支持ASN GW的功能,使CS设备通过ODN与BS连接。RoF module: It is used to realize that the CS device supports the second layer, above layer two and some physical layer functions of the BS/AP, that is, to realize the RoF function. Connect the CS device to the BS/AP through the ODN. Alternatively, the CS device supports the ASN GW function, so that the CS device is connected to the BS through the ODN.
OLT模块:用于实现CS设备支持OLT功能,使CS设备通过ODN与ONU/ONT连接。OLT module: used to implement the CS equipment to support the OLT function, so that the CS equipment can be connected to the ONU/ONT through the ODN.
该实施例中的逻辑连接示意图如图7-9所示。The schematic diagrams of logical connections in this embodiment are shown in Figures 7-9.
如图7所示,SP1通过BNG/BRAS1->CS->BS/AP/RemoteDSLAM/ONU/ONT的路径提供业务给新增的基于光纤技术的接入网;SP2则直接通过CS->BS/AP/Remote DSLAM/ONU/ONT的路径提供业务给新增的基于光纤技术的接入网。As shown in Figure 7, SP1 provides services to the newly added access network based on optical fiber technology through the path of BNG/BRAS1->CS->BS/AP/RemoteDSLAM/ONU/ONT; SP2 directly passes CS->BS/ The path of AP/Remote DSLAM/ONU/ONT provides services to the newly added access network based on optical fiber technology.
如图8所示,SP1直接通过BNG/BRAS1->AN的路径提供业务给DSL接入网;当CS不支持与DSL接入网的AN互连,则BNG/BRAS1作为CS的一种特殊的AN,提供IP bridging或二层桥接的功能。于是,SP2通过CS->BNG/BRAS 1->AN的路径提供业务给DSL接入网。As shown in Figure 8, SP1 directly provides services to the DSL access network through the path of BNG/BRAS1->AN; when the CS does not support the interconnection with the AN of the DSL access network, BNG/BRAS1 is used as a special kind of CS AN, providing IP bridging or Layer 2 bridging function. Therefore, SP2 provides services to the DSL access network through the path of CS->BNG/BRAS 1->AN.
如图9所示,当CS支持与DSL接入网的AN互连时,SP2通过CS->AN的路径提供业务给DSL接入网;SP1则还是直接通过BNG/BRAS1->AN的路径提供业务给DSL接入网。As shown in Figure 9, when the CS supports interconnection with the AN of the DSL access network, SP2 provides services to the DSL access network through the path of CS->AN; while SP1 directly provides services through the path of BNG/BRAS1->AN The service is provided to the DSL access network.
本方法所述多业务多边缘系统的实施例2的结构如图10所示,包括:DSL接入网单元和WIMAX接入网单元。The structure of Embodiment 2 of the multi-service multi-edge system described in this method is shown in FIG. 10 , including: a DSL access network unit and a WIMAX access network unit.
DSL接入网单元:包括:BNG/BRAS设备和AN。BNG/BRAS设备作为DSL接入网的IP边缘节点,连接其对应的不和其它BNG/BRAS设备相连的SP和DSL接入网中的AN,同时,和WIMAX接入网单元中的ASN GW设备相连。DSL access network unit: including: BNG/BRAS equipment and AN. As the IP edge node of the DSL access network, the BNG/BRAS device connects its corresponding SP and AN in the DSL access network that are not connected to other BNG/BRAS devices, and at the same time, it communicates with the ASN GW device in the WIMAX access network unit connected.
WIMAX接入网单元:包括:ASN GW设备和BS。ASN GW设备作为WIMAX接入网的边缘节点,连接其对应的不和其它ASN GW设备相连的SP和WIMAX接入网中的BS,同时,和DSL接入网中的BNG/BRAS设备相连。WIMAX access network unit: including: ASN GW equipment and BS. As the edge node of the WIMAX access network, the ASN GW device connects its corresponding SP not connected with other ASN GW devices and the BS in the WIMAX access network, and at the same time, connects with the BNG/BRAS device in the DSL access network.
该实施例中的逻辑连接过程为:The logical connection process in this embodiment is:
所述BNG/BRAS设备连接的SP通过BNG/BRAS到ASN GW到BS的路径提供业务给WIMAX接入网;所述ASN GW设备连接的SP通过ASN GW到BS的路径提供业务给WIMAX接入网;The SP connected to the BNG/BRAS device provides services to the WIMAX access network through the path from the BNG/BRAS to the ASN GW to the BS; the SP connected to the ASN GW device provides services to the WIMAX access network through the path from the ASN GW to the BS ;
所述BNG/BRAS设备连接的SP通过BNG/BRAS到AN的路径提供业务给DSL接入网;所述ASN GW设备连接的SP通过ASN GW到BNG/BRAS到AN的路径提供业务给DSL接入网。The SP connected to the BNG/BRAS device provides services to the DSL access network through the path from BNG/BRAS to AN; the SP connected to the ASN GW device provides services to DSL access through the path from ASN GW to BNG/BRAS to AN net.
本方法所述多业务多边缘系统的实施例3的结构如图11所示,包括如下单元:The structure of Embodiment 3 of the multi-service multi-edge system described in this method is shown in Figure 11, including the following units:
基于光纤技术的接入网1单元:包括中心站1设备、ODN和基于光纤技术的接入网中的AN。中心站1设备作为基于光纤技术的接入网1的IP边缘节点,连接其对应的不和其它中心站设备相连的SP和基于光纤技术的接入网1中的ODN,同时,和基于光纤技术的接入网2中的CS2设备相连。Access network 1 unit based on optical fiber technology: including central station 1 equipment, ODN and AN in the access network based on optical fiber technology. The central station 1 device acts as the IP edge node of the access network 1 based on optical fiber technology, and connects its corresponding SP not connected to other central station devices with the ODN in the access network 1 based on optical fiber technology. The CS2 device in the access network 2 is connected.
基于光纤技术的接入网2单元:包括中心站2设备、ODN和基于光纤技术的接入网中的AN。CS2设备作为基于光纤技术的接入网2的IP边缘节点,连接其对应的不和其它中心站设备相连的SP和基于光纤技术的接入网2中的ODN,同时,和基于光纤技术的接入网1中的中心站1设备相连。Optical fiber technology-based access network unit 2: including central station 2 equipment, ODN and AN in the optical fiber technology-based access network. As the IP edge node of the access network 2 based on optical fiber technology, the CS2 device connects its corresponding SP that is not connected to other central station equipment and the ODN in the access network 2 based on optical fiber technology. The central station 1 equipment in the network 1 is connected.
每个CS设备中包括如下模块:Each CS device includes the following modules:
网络侧端口通信模块:用于与接入网外部网络节点进行通信;Network side port communication module: used to communicate with external network nodes of the access network;
边缘节点互连通信模块:用于实现接入网边缘节点设备和其它接入网边缘节点设备互连通信;Edge node interconnection communication module: used to realize interconnection and communication between access network edge node devices and other access network edge node devices;
IP路由模块:用于实现CS设备支持IP路由功能;IP routing module: used to realize that CS equipment supports IP routing function;
桥接模块:用于实现CS设备支持桥接功能。桥接模块包括:IP桥接模块和二层桥接模块。Bridge module: used to implement the CS device to support the bridge function. The bridging module includes: an IP bridging module and a layer 2 bridging module.
其中,IP桥接模块:用于实现CS设备支持IP桥接功能。即CS设备即可以作为一种特殊的IP边缘节点,也可以作为一种特殊的AN。即CS设备即可以作为一种特殊的IP边缘节点,也可以作为一种特殊的AN。Wherein, the IP bridging module: used to realize that the CS device supports the IP bridging function. That is, the CS device can be used as a special IP edge node or as a special AN. That is, the CS device can be used as a special IP edge node or as a special AN.
如图12所示,对于SP1,CS1为IP边缘节点,支持IP routing的功能,CS2作为CS1的一种特殊的AN,支持IP bridging或二层桥接的功能;对于SP2,CS2为IP边缘节点,支持IP routing的功能,CS1作为CS2的一种特殊的AN,支持IP bridging或二层桥接的功能。As shown in Figure 12, for SP1, CS1 is an IP edge node that supports the function of IP routing; CS2, as a special AN of CS1, supports the function of IP bridging or Layer 2 bridging; for SP2, CS2 is an IP edge node, Support IP routing function, CS1 as a special AN of CS2, support IP bridging or Layer 2 bridging function.
其中,二层桥接模块:用于实现CS设备支持二层桥接功能。Wherein, the layer-2 bridging module: used to realize that the CS device supports the layer-2 bridging function.
接入节点互连模块:用于实现接入网边缘节点设备和其它接入网的接入节点设备互连。Access node interconnection module: used to realize the interconnection between the edge node devices of the access network and the access node devices of other access networks.
ARP代理模块:用于实现CS设备支持ARP代理功能。ARP proxy module: used to implement the CS device to support the ARP proxy function.
DHCP代理:用于实现CS设备支持DHCP代理或中转功能。DHCP agent: used to implement the CS device to support the DHCP agent or relay function.
NAS和AR模块:用于实现CS设备支持NAS及AR代理功能。NAS and AR module: used to implement CS equipment to support NAS and AR proxy functions.
DSLoF模块:用于实现CS设备支持DSLAM的二层、二层以上及部分物理层功能,即实现DSLoF功能。使CS设备通过ODN与Remote DSLAM连接。DSLoF module: It is used to realize that the CS equipment supports the second layer, the second layer above and some physical layer functions of DSLAM, that is, to realize the DSLoF function. Connect the CS device to the Remote DSLAM through the ODN.
RoF模块:用于实现CS设备支持BS/AP的二层、二层以上及部分物理层功能,即实现RoF功能。使CS设备通过ODN与BS/AP连接。RoF module: It is used to realize that the CS device supports the second layer, above layer two and some physical layer functions of the BS/AP, that is, to realize the RoF function. Connect the CS device to the BS/AP through the ODN.
OLT模块:用于实现CS设备支持OLT功能,使CS设备通过ODN与ONU/ONT连接。OLT module: used to implement the CS equipment to support the OLT function, so that the CS equipment can be connected to the ONU/ONT through the ODN.
上述实施例3中的逻辑连接的过程为:The process of the logical connection in the above-mentioned embodiment 3 is:
SP1通过CS1->和CS1相连的BS/AP/Remote DSLAM/ONU/ONT的路径提供业务给CS1所在的基于光纤技术的接入网;SP1还通过CS1->CS2->和CS2相连的BS/AP/Remote DSLAM/ONU/ONT的路径提供业务给CS2所在的基于光纤技术的接入网。SP1 provides services to the access network based on optical fiber technology where CS1 is located through the path of CS1->BS/AP/Remote DSLAM/ONU/ONT connected to CS1; SP1 also passes CS1->CS2->BS/AP connected to CS2 The path of AP/Remote DSLAM/ONU/ONT provides services to the access network based on optical fiber technology where CS2 is located.
SP2通过CS2->和CS2相连的BS/AP/Remote DSLAM/ONU/ONT的路径提供业务给CS2所在的基于光纤技术的接入网;SP2还通过CS2->CS1->和CS1相连的BS/AP/Remote DSLAM/ONU/ONT的路径提供业务给CS1所在的基于光纤技术的接入网。SP2 provides services to the access network based on optical fiber technology where CS2 is located through the path of CS2->BS/AP/Remote DSLAM/ONU/ONT connected to CS2; SP2 also passes CS2->CS1->BS/AP connected to CS1 The path of AP/Remote DSLAM/ONU/ONT provides services to the access network based on optical fiber technology where CS1 is located.
本方法所述多业务多边缘系统的实施例4包括如下单元:Embodiment 4 of the multi-service multi-edge system described in the method includes the following units:
DSL接入网1单元:包括:BNG/BRAS1设备和AN。BNG/BRAS1设备作为DSL接入网1的IP边缘节点,连接其对应的不和其它BNG/BRAS设备相连的SP,同时,和DSL接入网2中的BNG/BRAS2设备相连;DSL access network 1 unit: including: BNG/BRAS1 equipment and AN. The BNG/BRAS1 device acts as the IP edge node of the DSL access network 1, connects to its corresponding SP that is not connected to other BNG/BRAS devices, and at the same time, connects to the BNG/BRAS2 device in the DSL access network 2;
DSL接入网2单元:包括:BNG/BRAS2设备和AN。BNG/BRAS2设备作为DSL接入网2的IP边缘节点,连接其对应的不和其它BNG/BRAS设备相连的SP,同时,和DSL接入网1中的BNG/BRAS1设备相连。DSL access network unit 2: including: BNG/BRAS2 equipment and AN. As the IP edge node of DSL access network 2, BNG/BRAS2 device connects to its corresponding SP that is not connected to other BNG/BRAS devices, and at the same time, connects to BNG/BRAS1 device in DSL access network 1.
上述实施例4中的逻辑连接的过程为:The process of the logical connection in the above-mentioned embodiment 4 is:
所述BNG/BRAS1设备连接的SP通过BNG/BRAS1到BNG/BRAS2到AN的路径提供业务给DSL接入网2;所述BNG/BRAS2设备连接的SP通过BNG/BRAS2到AN的路径提供业务给DSL接入网2;The SP connected to the BNG/BRAS1 device provides services to the DSL access network 2 through the path from BNG/BRAS1 to BNG/BRAS2 to AN; the SP connected to the BNG/BRAS2 device provides services to the DSL access network 2 through the path from BNG/BRAS2 to AN DSL access network 2;
所述BNG/BRAS1设备连接的SP通过BNG/BRAS1到AN的路径提供业务给DSL接入网1;所述BNG/BRAS2设备连接的SP通过BNG/BRAS2到BNG/BRAS1到AN的路径提供业务给DSL接入网1。The SP connected to the BNG/BRAS1 device provides services to the DSL access network 1 through the path from BNG/BRAS1 to AN; the SP connected to the BNG/BRAS2 device provides services to the DSL network through the path from BNG/BRAS2 to BNG/BRAS1 to AN DSL access network 1.
下面以图7为例,说明CS的ARP代理功能和IP bridging/routing混合功能,对于图8、图11中的CS和图9、图10中的BNG的ARP代理功能和IPbridging/routing混合功能和下述说明类似。Take Figure 7 as an example below to illustrate the ARP proxy function and IP bridging/routing hybrid function of CS, for the ARP proxy function and IP bridging/routing hybrid function of CS in Figure 8 and Figure 11 and BNG in Figure 9 and Figure 10 The description below is similar.
假设CPN中的RG为二层桥接设备,UE的IP地址为IPa,BNG/BRAS1的IP地址为IPx,UE的MAC地址为MAC1,CS的MAC地址为MAC2,BNG/BRAS1的MAC地址为MAC4;UE所在的CS用户端口为端口x,CS通过端口n连接到BNG/BRAS,CS通过端口t连接到SP2。Suppose the RG in the CPN is a Layer 2 bridging device, the IP address of the UE is IPa, the IP address of BNG/BRAS1 is IPx, the MAC address of the UE is MAC1, the MAC address of the CS is MAC2, and the MAC address of BNG/BRAS1 is MAC4; The CS user port where the UE is located is port x, the CS is connected to the BNG/BRAS through port n, and the CS is connected to SP2 through port t.
CS的ARP代理过程示意图如图12所示,CS支持ARP代理功能功能,ARP为在TCP/IP网络环境下,用来把IP地址转换成相应的MAC地址的一种协议。对于来自用户端口x的ARP请求(ARP-req),CS以CS的MAC地址MAC2回应ARP应答(ARP-reply)给用户;对于来自端口n的ARP请求(ARP-req),CS同样以CS的MAC地址MAC2由端口n回应ARP应答(ARP-reply)。The schematic diagram of the ARP proxy process of the CS is shown in Figure 12. The CS supports the ARP proxy function. ARP is a protocol used to convert an IP address into a corresponding MAC address in a TCP/IP network environment. For the ARP request (ARP-req) from the user port x, the CS responds to the ARP reply (ARP-reply) with the MAC address MAC2 of the CS to the user; for the ARP request (ARP-req) from the port n, the CS also responds with the CS The MAC address MAC2 responds with an ARP reply (ARP-reply) by port n.
由于CS还支持DHCP代理或中转功能,因此,CS可以通过UE发起的DHCP报文得到UE的MAC地址,从而在CS上建立起基于IP会话的IP桥接转发表,该IP桥接转发表的结构如表1所示。其中,IP会话由用户侧物理端口、用户IP地址和用户的MAC地址表征;IP业务连接由网络侧物理端口、S-VLAN(虚拟局域网标识)和IP边缘节点MAC地址表征。Since the CS also supports the DHCP proxy or relay function, the CS can obtain the MAC address of the UE through the DHCP message initiated by the UE, thereby establishing an IP bridging forwarding table based on an IP session on the CS. The structure of the IP bridging forwarding table is as follows Table 1 shows. Among them, the IP session is represented by the user-side physical port, the user IP address and the user's MAC address; the IP service connection is represented by the network-side physical port, S-VLAN (virtual local area network identifier) and the MAC address of the IP edge node.
表1:CS的IP桥接转发表Table 1: IP bridge forwarding table of CS
图7中的CS的IP bridging/routing混合处理过程示意图如图13所示,其中的括号表示某一层的分组,带IP地址的为IP分组,带MAC地址的为MAC帧。CS的IP bridging/routing混合处理的详细描述如下:The schematic diagram of the IP bridging/routing hybrid processing process of CS in Figure 7 is shown in Figure 13, where the brackets indicate a certain layer of packets, IP packets with IP addresses, and MAC frames with MAC addresses. The detailed description of CS's IP bridging/routing mixed processing is as follows:
在上行方向:In the upstream direction:
对来自CS用户侧端口的分组(带MAC帧和IP包头),CS根据连接标识、隧道标识或S-VLAN等信息感知业务。如果用户分组的业务属于SP2,则由CS的IP routing功能模块进行相应路由处理,通过CS网络侧端口t路由到下一跳。For the packet (with MAC frame and IP packet header) from the user side port of the CS, the CS senses the service according to information such as the connection ID, the tunnel ID, or the S-VLAN. If the service of the user group belongs to SP2, the IP routing function module of the CS will perform corresponding routing processing, and route to the next hop through the CS network side port t.
如果用户分组的业务属于SP1,则CS根据IP分组源IP地址(本例中为IPa)查CS的IP桥接转发表(即表1),得到网络侧物理端口(本例中为端口n)、S-VLAN(本例中为0111)和IP边缘节点MAC地址(本例中为MAC4),然后将该分组的MAC帧的目的地址改为MAC4,源地址改为CS的MAC地址MAC2,添加或修改MAC帧中的S-VLAN为“0111”;随后将该分组通过端口n转发给BNG/BRAS,完成在该节点的IP桥接。也可将端口n缺省绑定特定S-VLAN值,如“0111”,IP业务连接仅由S-VLAN和BNG MAC地址表征,当查表得到S-VLAN为“0111”,即默认由端口n转发。If the service of the user group belongs to SP1, then the CS checks the IP bridge forwarding table (i.e. Table 1) of the CS according to the IP packet source IP address (IPa in this example), and obtains the network side physical port (port n in this example), S-VLAN (0111 in this example) and IP edge node MAC address (MAC4 in this example), then change the destination address of the MAC frame of this group to MAC4, and change the source address to MAC address MAC2 of CS, add or Modify the S-VLAN in the MAC frame to "0111"; then forward the packet to the BNG/BRAS through port n to complete the IP bridging at the node. Port n can also be bound to a specific S-VLAN value by default, such as "0111". The IP service connection is only represented by the S-VLAN and BNG MAC address. n Forward.
在下行方向:In the downstream direction:
对来自CS网络侧端口t的分组,经CS的IP routing功能模块进行相应路由处理,通过相应的用户IP地址所在的端口路由到下一跳。For the packet from the port t on the CS network side, the IP routing function module of the CS performs corresponding routing processing, and routes to the next hop through the port where the corresponding user IP address is located.
对来自CS网络侧端口n的分组(带MAC帧和IP包头),CS根据IP分组目的IP地址(本例中为IPa)查CS的IP桥接转发表(即表1),得到用户侧物理端口(本例中为端口x)和用户的MAC地址(本例中为MAC1),然后将该分组的MAC帧的目的地址改为MAC1,源地址改为CS的MAC地址MAC2;随后将该分组通过端口x转发给用户,完成在该节点的IP桥接。For the packet (with MAC frame and IP header) from port n on the CS network side, the CS checks the IP bridging forwarding table (ie Table 1) of the CS according to the destination IP address of the IP packet (IPa in this example), and obtains the physical port on the user side (port x in this example) and the MAC address of the user (MAC1 in this example), then the destination address of the MAC frame of the group is changed to MAC1, and the source address is changed to the MAC address MAC2 of CS; then the group is passed Port x is forwarded to the user, completing IP bridging at that node.
图7中的CS的IP routing和二层桥接混合功能的详细描述如下:The detailed description of the mixed function of IP routing and Layer 2 bridging of CS in Figure 7 is as follows:
上行方向:Up direction:
对来自CS用户侧端口的分组(带MAC帧和IP包头),CS根据MAC地址、连接标识或用户VLAN等方法感知业务。如果用户数据的业务属于SP2,则由CS的IP routing功能模块进行相应路由处理,通过CS网络侧端口t路由到下一跳;如果用户数据的业务属于SP1,则CS的二层桥接功能模块进行相应二层桥接处理,通过端口n转发给BNG/BRAS。For the packet (with MAC frame and IP header) from the CS user side port, the CS perceives the service according to the MAC address, connection ID or user VLAN. If the service of user data belongs to SP2, then the IP routing function module of CS will perform corresponding routing processing, and route to the next hop through CS network side port t; if the service of user data belongs to SP1, then the Layer 2 bridging function module of CS will perform The corresponding Layer 2 bridge processing is forwarded to BNG/BRAS through port n.
下行方向:Down direction:
对来自CS网络侧端口t的分组,经CS的IP routing功能模块进行相应路由处理,通过相应的用户IP地址所在的端口路由到下一跳;对来自CS网络侧端口n的分组,CS的二层桥接功能模块进行相应二层桥接处理,通过端口x转发给用户。For the grouping from the port t on the CS network side, the IP routing function module of the CS performs corresponding routing processing, and routes to the next hop through the port where the corresponding user IP address is located; for the grouping from the port n on the CS network side, the second hop of the CS The layer bridging function module performs corresponding layer 2 bridging processing, and forwards to the user through port x.
本发明所述多业务多边缘系统中的CS的NAS和AR代理功能示意图如图14所示,其具体实现过程如图15所示,该具体实现过程同样适用于BNG/BRAS/ASN GW,具体描述如下:The schematic diagram of the NAS and AR proxy functions of CS in the multi-service multi-edge system of the present invention is shown in Figure 14, and its specific implementation process is shown in Figure 15. This specific implementation process is also applicable to BNG/BRAS/ASN GW, specifically Described as follows:
UE(用户终端)向CS1发送认证消息发起认证过程,认证消息中携带N AI(Network Access Identifier,网络接入标识),NAI用于表明UE的业务属于哪个业务服务商,CS1根据NAI决定做NAS/AAA客户功能体还是做认证中转功能。The UE (user terminal) sends an authentication message to CS1 to initiate the authentication process. The authentication message carries N AI (Network Access Identifier, Network Access Identifier). NAI is used to indicate which service provider the UE's business belongs to. CS1 decides to do NAS according to the NAI The /AAA client function is still an authentication transfer function.
若NAI表明UE的业务属于SP1,则CS1作为NAS/AAA客户功能体将认证消息转往AAA Server1实现认证。If the NAI indicates that the service of the UE belongs to SP1, CS1, as the NAS/AAA client function, forwards the authentication message to AAA Server1 for authentication.
若NAI表明UE的业务属于SP2,则CS1作为AR功能体将认证消息中转到CS2,CS2根据NAI实现NAS/AAA客户功能将认证消息转往AAA Server2以完成认证。If the NAI indicates that the service of the UE belongs to SP2, then CS1, as the AR function body, forwards the authentication message to CS2, and CS2 implements the NAS/AAA client function according to the NAI and forwards the authentication message to AAA Server2 to complete the authentication.
本发明所述多业务多边缘系统中的CS的DHCP Proxy/Relay功能示意图如图16所示,其具体实现过程如图17所示,该具体实现过程同样适用于BNG/BRAS/ASN GW,具体描述如下:The schematic diagram of the DHCP Proxy/Relay function of the CS in the multi-service multi-edge system of the present invention is shown in Figure 16, and its specific implementation process is shown in Figure 17. This specific implementation process is also applicable to BNG/BRAS/ASN GW, specifically Described as follows:
UE向CS1发送DHCP消息发起DHCP过程,DHCP消息中携带属性参数,用于表明用户终端类型或业务类型,CS1根据DHCP消息中携带的属性参数将DHCP消息发往相应的SP。The UE sends a DHCP message to CS1 to initiate the DHCP process. The DHCP message carries attribute parameters to indicate the user terminal type or service type. CS1 sends the DHCP message to the corresponding SP according to the attribute parameters carried in the DHCP message.
若DHCP消息中携带的属性参数表明用户终端类型或业务类型属于SP1,则CS1作为DHCP Proxy/Relay将DHCP消息发往SP1的DHCPServer1;If the attribute parameter carried in the DHCP message indicates that the user terminal type or service type belongs to SP1, then CS1 acts as a DHCP Proxy/Relay and sends the DHCP message to DHCPServer1 of SP1;
若DHCP消息中携带的属性参数表明用户终端类型或业务类型属于SP2,则CS1作为DHCP Relay/Relay将DHCP消息中转到CS2,CS2根据DHCP消息中携带的属性参数实现DHCP Proxy/Relay功能将DHCP消息转往SP2的DHCP Server2。If the attribute parameters carried in the DHCP message indicate that the user terminal type or service type belongs to SP2, then CS1, as a DHCP Relay/Relay, transfers the DHCP message to CS2, and CS2 implements the DHCP Proxy/Relay function according to the attribute parameters carried in the DHCP message. Go to DHCP Server2 of SP2.
以上所述,仅为本发明较佳的具体实施方式,但本发明的保护范围并不局限于此,任何熟悉本技术领域的技术人员在本发明揭露的技术范围内,可轻易想到的变化或替换,都应涵盖在本发明的保护范围之内。因此,本发明的保护范围应该以权利要求的保护范围为准。The above is only a preferred embodiment of the present invention, but the scope of protection of the present invention is not limited thereto. Any person skilled in the art within the technical scope disclosed in the present invention can easily think of changes or Replacement should be covered within the protection scope of the present invention. Therefore, the protection scope of the present invention should be determined by the protection scope of the claims.
| Application Number | Priority Date | Filing Date | Title |
|---|---|---|---|
| CN200610104281ACN100589428C (en) | 2006-08-09 | 2006-08-09 | Multi-service multi-edge equipment and systems |
| PCT/CN2007/070441WO2008019619A1 (en) | 2006-08-09 | 2007-08-09 | Multi-service multi-edge equipment and system |
| Application Number | Priority Date | Filing Date | Title |
|---|---|---|---|
| CN200610104281ACN100589428C (en) | 2006-08-09 | 2006-08-09 | Multi-service multi-edge equipment and systems |
| Publication Number | Publication Date |
|---|---|
| CN101123564Atrue CN101123564A (en) | 2008-02-13 |
| CN100589428C CN100589428C (en) | 2010-02-10 |
| Application Number | Title | Priority Date | Filing Date |
|---|---|---|---|
| CN200610104281AActiveCN100589428C (en) | 2006-08-09 | 2006-08-09 | Multi-service multi-edge equipment and systems |
| Country | Link |
|---|---|
| CN (1) | CN100589428C (en) |
| WO (1) | WO2008019619A1 (en) |
| Publication number | Priority date | Publication date | Assignee | Title |
|---|---|---|---|---|
| WO2010028578A1 (en)* | 2008-09-09 | 2010-03-18 | 华为技术有限公司 | Method for sensing the service provider on an optical network device, device and system thereof |
| CN101515950B (en)* | 2009-04-09 | 2011-11-16 | 杭州华三通信技术有限公司 | Realization method and device for WLAN subnet terminal and wireless access client |
| CN101621399B (en)* | 2008-06-30 | 2011-12-07 | 华为技术有限公司 | Management method and system of passive optical network as well as optical line terminal |
| CN102882699A (en)* | 2011-07-14 | 2013-01-16 | 华为技术有限公司 | Method and device for distributing edge nodes, edge node controller |
| CN103039038A (en)* | 2010-06-21 | 2013-04-10 | 德国电信股份公司 | Method and system for efficient use of a telecommunications network and connections between the telecommunications network and customer premises equipment |
| CN105610710A (en)* | 2010-12-29 | 2016-05-25 | 瞻博网络公司 | Methods and apparatus for standard protocol validation mechanisms deployed over switch fabric system |
| CN106161227A (en)* | 2016-06-27 | 2016-11-23 | 杭州华三通信技术有限公司 | A kind of message forwarding method and device |
| CN108966279A (en)* | 2018-08-17 | 2018-12-07 | 北京邮电大学 | A kind of light-carried wireless cut-in method and system based on center pressure marginalisation |
| WO2022089134A1 (en)* | 2020-10-30 | 2022-05-05 | 华为技术有限公司 | Networking method and apparatus for passive optical network |
| Publication number | Priority date | Publication date | Assignee | Title |
|---|---|---|---|---|
| JP3478218B2 (en)* | 1999-12-27 | 2003-12-15 | 日本電気株式会社 | Edge node exchanges and exchanges |
| WO2003067821A1 (en)* | 2002-02-08 | 2003-08-14 | Telefonaktiebolaget Lm Ericsson (Publ) | Method and system relating service providers to clients, in an access network, using dynamically allocated mac addresses |
| CN1957567A (en)* | 2004-05-18 | 2007-05-02 | 松下电器产业株式会社 | Access network system and user data path control method |
| Publication number | Priority date | Publication date | Assignee | Title |
|---|---|---|---|---|
| CN101621399B (en)* | 2008-06-30 | 2011-12-07 | 华为技术有限公司 | Management method and system of passive optical network as well as optical line terminal |
| WO2010028578A1 (en)* | 2008-09-09 | 2010-03-18 | 华为技术有限公司 | Method for sensing the service provider on an optical network device, device and system thereof |
| CN101515950B (en)* | 2009-04-09 | 2011-11-16 | 杭州华三通信技术有限公司 | Realization method and device for WLAN subnet terminal and wireless access client |
| CN103039038B (en)* | 2010-06-21 | 2017-05-24 | 德国电信股份公司 | Method and system for efficient use of a telecommunications network and connections between the telecommunications network and customer premises equipment |
| CN103039038A (en)* | 2010-06-21 | 2013-04-10 | 德国电信股份公司 | Method and system for efficient use of a telecommunications network and connections between the telecommunications network and customer premises equipment |
| US9332579B2 (en) | 2010-06-21 | 2016-05-03 | Deutsche Telekom Ag | Method and system for efficient use of a telecommunication network and the connection between the telecommunications network and a customer premises equipment |
| CN105610710A (en)* | 2010-12-29 | 2016-05-25 | 瞻博网络公司 | Methods and apparatus for standard protocol validation mechanisms deployed over switch fabric system |
| CN105610710B (en)* | 2010-12-29 | 2019-08-02 | 瞻博网络公司 | The method and apparatus for the standard agreement authentication mechanism disposed in switching fabric system |
| CN102882699A (en)* | 2011-07-14 | 2013-01-16 | 华为技术有限公司 | Method and device for distributing edge nodes, edge node controller |
| US10230684B2 (en) | 2011-07-14 | 2019-03-12 | Huawei Technologies Co., Ltd. | Method, apparatus, and edge node controller for allocating edge node |
| CN106161227A (en)* | 2016-06-27 | 2016-11-23 | 杭州华三通信技术有限公司 | A kind of message forwarding method and device |
| CN106161227B (en)* | 2016-06-27 | 2021-02-12 | 新华三技术有限公司 | Message forwarding method and device |
| CN108966279A (en)* | 2018-08-17 | 2018-12-07 | 北京邮电大学 | A kind of light-carried wireless cut-in method and system based on center pressure marginalisation |
| WO2022089134A1 (en)* | 2020-10-30 | 2022-05-05 | 华为技术有限公司 | Networking method and apparatus for passive optical network |
| Publication number | Publication date |
|---|---|
| WO2008019619A1 (en) | 2008-02-21 |
| CN100589428C (en) | 2010-02-10 |
| Publication | Publication Date | Title |
|---|---|---|
| US7916740B2 (en) | Access network system, access equipment, ARP proxy method and an IP bridging forwarding method | |
| CN100589428C (en) | Multi-service multi-edge equipment and systems | |
| US8121126B1 (en) | Layer two (L2) network access node having data plane MPLS | |
| US7835370B2 (en) | System and method for DSL subscriber identification over ethernet network | |
| US8085791B1 (en) | Using layer two control protocol (L2CP) for data plane MPLS within an L2 network access node | |
| JP3613464B2 (en) | XDSL-based Internet access router | |
| US6788696B2 (en) | Transparent QoS using VC-merge capable access modules | |
| US6504844B1 (en) | High speed internet access | |
| US8649292B2 (en) | Method, apparatus and system for virtual network configuration and partition handover | |
| CN101123549B (en) | Access network system with separation of control and bearer and method for realizing communication thereof | |
| CN101185296B (en) | Method and corresponding device for establishing multi-link access between local network and remote network | |
| EP1875668B1 (en) | Scalable system method for dsl subscriber traffic over an ethernet network | |
| JP2019526983A (en) | Separation of control plane function and transfer plane function of broadband remote access server | |
| CN102025589A (en) | Method and system for realizing virtual private network | |
| CN102025591A (en) | Method and system for implementing virtual private network | |
| US8144646B2 (en) | Method and system for interconnecting broadband wireless access network with optical access broadband network | |
| CN101594243A (en) | A Realization Method of Cross-VLAN Multicast Based on Optical Network Unit | |
| CN102238075A (en) | IPv6 (Internet Protocol version 6) routing establishing method based on Ethernet Point-to-Point Protocol and access server | |
| CN101123800B (en) | Multi-edge system with interconnected WiMAX multi-edge system and WiMAX and wired network | |
| US20080049765A1 (en) | Method and system for inter working a point-to-point link and a LAN service | |
| US7715391B1 (en) | System and method for optimal delivery of multicast content | |
| JP2004304574A (en) | Communication device | |
| CN101651941B (en) | Home agent clustering system and deployment method thereof | |
| EP2073506B1 (en) | Method for resolving a logical user address in an aggregation network | |
| WO2008125603A1 (en) | Method for forwarding data packets in an access network and device |
| Date | Code | Title | Description |
|---|---|---|---|
| C06 | Publication | ||
| PB01 | Publication | ||
| C10 | Entry into substantive examination | ||
| SE01 | Entry into force of request for substantive examination | ||
| C14 | Grant of patent or utility model | ||
| GR01 | Patent grant | ||
| TR01 | Transfer of patent right | ||
| TR01 | Transfer of patent right | Effective date of registration:20201203 Address after:Group 2, niqiao village, Xilai Town, Jingjiang City, Taizhou City, Jiangsu Province Patentee after:Jingjiang Baisheng Fastener Manufacturing Co.,Ltd. Address before:Unit 2414-2416, main building, no.371, Wushan Road, Tianhe District, Guangzhou City, Guangdong Province Patentee before:GUANGDONG GAOHANG INTELLECTUAL PROPERTY OPERATION Co.,Ltd. Effective date of registration:20201203 Address after:Unit 2414-2416, main building, no.371, Wushan Road, Tianhe District, Guangzhou City, Guangdong Province Patentee after:GUANGDONG GAOHANG INTELLECTUAL PROPERTY OPERATION Co.,Ltd. Address before:518129 Bantian HUAWEI headquarters office building, Longgang District, Guangdong, Shenzhen Patentee before:HUAWEI TECHNOLOGIES Co.,Ltd. | |
| TR01 | Transfer of patent right | ||
| TR01 | Transfer of patent right | Effective date of registration:20220624 Address after:214500 No. 1, Botanical Garden Road, Xilai Town, Jingjiang City, Taizhou City, Jiangsu Province Patentee after:Jingjiang Xilai Ecological Culture Tourism Co.,Ltd. Address before:Group 2, niqiao village, Xilai Town, Jingjiang City, Taizhou City, Jiangsu Province Patentee before:Jingjiang Baisheng Fastener Manufacturing Co.,Ltd. | |
| TR01 | Transfer of patent right | ||
| TR01 | Transfer of patent right | Effective date of registration:20230331 Address after:214500 No. 1, Botanical Garden Road, Xilai Town, Jingjiang City, Taizhou City, Jiangsu Province Patentee after:Jingjiang Xilai Nongcheng Operation Management Co.,Ltd. Address before:214500 No. 1, Botanical Garden Road, Xilai Town, Jingjiang City, Taizhou City, Jiangsu Province Patentee before:Jingjiang Xilai Ecological Culture Tourism Co.,Ltd. |