
































本申请要求分别于2005年12月31日提交中国专利局、申请号分别为200610032613.9、200610032614.3、发明名称分别为“一种无线网络层下移实现网络互连的系统及方法”、“一种无线网络层下移实现网络互连的系统和方法”以及于2006年1月18日提交的、申请号为200610001622.1、发明名称为“基站和有线网络互连的方法和系统”的中国专利申请的优先权,其全部内容通过引用结合在本申请中。 The requirements of this application were submitted to the China Patent Office on December 31, 2005. The application numbers are 200610032613.9 and 200610032614.3 respectively, and the titles of the inventions are "a system and method for moving down the wireless network layer to realize network interconnection", "a wireless The system and method for realizing network interconnection by moving the network layer down” and the Chinese patent application filed on January 18, 2006 with the application number 200610001622.1 and the invention title “Method and system for interconnection between base station and wired network” are the priority rights, the entire contents of which are incorporated in this application by reference. the
技术领域technical field
本发明涉及通信技术领域,尤其涉及优化无线网络层实现网络互连的方法和系统、以及无线网络与有线网络的互连方法。 The invention relates to the field of communication technology, in particular to a method and system for optimizing a wireless network layer to realize network interconnection, and an interconnection method between a wireless network and a wired network. the
背景技术Background technique
现有技术的光纤接入网(统称FTTx)以光网络单元(ONU)的位置所在,分为FTTH(Fibre To The Home光纤到家)、光纤到大楼(FTTB,Fibre ToThe Building)和光纤到路边(FTTC,Fibre To The Curb)等几种情况。 The optical fiber access network (collectively referred to as FTTx) in the prior art is divided into FTTH (Fibre To The Home), Fiber To The Building (FTTB, Fiber To The Building) and Fiber To The Curb based on the location of the optical network unit (ONU). (FTTC, Fiber To The Curb) and several other situations. the
光纤接入网(OAN,Optical Access Network)的正式名称是光纤用户环路(FITL,Fiberin the loop),由于光接入网接入的高带宽,能够更好的开展Triple Play即同时传输语音、数据与多媒体视频的业务。光纤接入网主要采用无源光网络(PON,Passive Optical Network,)的技术,PON作为一种新兴的覆盖最后一公里的宽带接入技术,其在ODN不需要节点设备,只需安装一个简单的光分路器即可,因此具有节省光缆资源、设备安全性高、建网速度快、维护简单等优点。对于已开通FTTH的大楼可以很方便的得到传输资源,而且由于FTTH的高宽带性,是解决3G IP传输基站的有效补充手段。 The official name of Optical Access Network (OAN, Optical Access Network) is Fiber In The Loop (FITL, Fiberin the loop). Due to the high bandwidth of optical access network access, it can better carry out Triple Play, that is, simultaneously transmit voice, Data and multimedia video business. The optical fiber access network mainly adopts passive optical network (PON, Passive Optical Network,) technology. PON is an emerging broadband access technology covering the last mile. The optical splitter is enough, so it has the advantages of saving optical cable resources, high equipment security, fast network construction, and simple maintenance. It is very convenient to obtain transmission resources for buildings that have opened FTTH, and because of the high bandwidth of FTTH, it is an effective supplementary means to solve the problem of 3G IP transmission base stations. the
而现在主流比较成熟技术主要有两种:以太无源光网络(EPON,Ethernet Passive Optical Network)及千兆位无源光网络(GPON,GigabitPassive Optical Network)。FTTx网络主要的网络架构如图1所示,描述了光接入网的网络架构,其具体的OAN参考架构如图2所示。 Now, there are two mainstream mature technologies: Ethernet Passive Optical Network (EPON, Ethernet Passive Optical Network) and Gigabit Passive Optical Network (GPON, Gigabit Passive Optical Network). The main network architecture of the FTTx network is shown in Figure 1, which describes the network architecture of the optical access network, and its specific OAN reference architecture is shown in Figure 2. the
OAN由用户驻地网(CPN)、接入网(Access Network)和业务功能点(Service Node Function)组成。其中用户驻地网和接入网的主要网元包括:光路终结点(OLT)、光分配网(ODN)、ONU/(光网络终端)ONT,适配功能体AF。在接入网中,AF(适配功能体)是可选设备,主要是提供ONU/ONT接口与UNI(用户网络接口)的相互转换,AF也可以内置在ONU中,这样“a”参考点可以不要。AF也可以放在OLT之后作OLT接口和业务点接口(SNI)的相互转换。AF既可以看成CPN的功能体,也可以看成是Access Network的功能体。T为UNI接口的参考点,V为SNI接口的参考点。OLT为ODN提供网络接口并连至一个或多个ODN。ODN为OLT和ONU提供传输手段。ONU为OAN提供用户侧接口并和ODN相连。 OAN consists of customer premises network (CPN), access network (Access Network) and service function point (Service Node Function). Among them, the main network elements of the customer premises network and the access network include: optical path termination point (OLT), optical distribution network (ODN), ONU/(optical network terminal) ONT, and adaptation function body AF. In the access network, AF (Adaptation Function Body) is an optional device, mainly to provide mutual conversion between ONU/ONT interface and UNI (User Network Interface). AF can also be built in ONU, so "a" reference point Can not. The AF can also be placed behind the OLT for mutual conversion between the OLT interface and the service point interface (SNI). AF can be regarded as the functional body of CPN and the functional body of Access Network. T is the reference point of the UNI interface, and V is the reference point of the SNI interface. The OLT provides a network interface for the ODN and connects to one or more ODNs. ODN provides transmission means for OLT and ONU. The ONU provides a user-side interface for the OAN and is connected to the ODN. the
用户的设备CPE通过UNI接口(如:通过DSL线路)连接到AF,AF将报文格式由UNI接口格式转换成能与ONU连接的a接口(如:Ethernet链路)格式,ONU再将报文转换成能在ODN上传送的格式(如:EPON的封装、GPON的通用组帧的封装)。最后由OLT将报文转换成SNI接口(如:Ethernet链路)的报文格式,再进行业务点的访问。 The user's equipment CPE is connected to the AF through the UNI interface (such as: through the DSL line), and the AF converts the message format from the UNI interface format to the a interface (such as: Ethernet link) format that can be connected to the ONU, and the ONU then converts the message Convert to a format that can be transmitted on ODN (such as: EPON encapsulation, GPON general framing encapsulation). Finally, the OLT converts the message into the message format of the SNI interface (such as: Ethernet link), and then accesses the service point. the
在3G/2G无线通信系统采用类似的结构,其包括无线接入网络(RadioAccess Network,RAN)和核心网络(CN,Core Network)。其中无线接入网络RAN用于处理所有与无线有关的功能,而CN处理无线通信系统内所有的话音呼叫和数据连接,并实现与外部网络的交换和路由功能。CN从逻辑上分为电路交换域(CS,Circuit Switched Domain)和分组交换域(PS,Packet Switched Domain)。RAN、CN与移动台(MS,Mobile Station)一起构成了整个3G/2G无线通信网络,其系统参考架构如图3所示。 A similar structure is adopted in the 3G/2G wireless communication system, which includes a radio access network (RadioAccess Network, RAN) and a core network (CN, Core Network). Among them, the wireless access network RAN is used to handle all wireless-related functions, while the CN handles all voice calls and data connections in the wireless communication system, and realizes switching and routing functions with external networks. CN is logically divided into circuit switched domain (CS, Circuit Switched Domain) and packet switched domain (PS, Packet Switched Domain). RAN, CN and mobile station (MS, Mobile Station) together constitute the entire 3G/2G wireless communication network, and its system reference architecture is shown in Figure 3. the
其中,基站(BS,Base Station,)在GSM/GPRS/CDMA/CDMA2000中称为基站收发信台(BTS,Base Transceiver Station,),在WCDMA/TD-SCDMA中称为节点B(Node B);基站控制器BSC在WCDMA中称为无线网络控制器(RNC,Radio Network Controller,);在CDMA2000中,包控制功能实体(PCF,Packet Control Function),PCF位于BSC与分组数据服务节点(PDSN,Packet Data Serving Node,)之间,提供分组数据业务支持,作为无线接入网络的一部分可以和BSC放置 在一起,也可以单独放置。 Among them, the base station (BS, Base Station,) is called a base transceiver station (BTS, Base Transceiver Station,) in GSM/GPRS/CDMA/CDMA2000, and is called a node B (Node B) in WCDMA/TD-SCDMA; The base station controller BSC is called the radio network controller (RNC, Radio Network Controller,) in WCDMA; Data Serving Node,) provide packet data service support, as part of the wireless access network can be placed together with the BSC, or can be placed separately. the
对于WCDMA,UTRAN中使用了Iu系列接口,包括Iu,Iur和Iub接口,这些接口按UTRAN接口通用协议模型划分协议栈由相应的无线网络层(RNL)和传输网络层(TNL)组成。Iu接口是连接UTRAN和CN的接口,是一个开放的标准接口,其控制面协议是RANAP,用户面协议是GTP协议。Iur接口是连接RNC之间的接口,是UMTS系统特有的接口,用于对RAN中移动台的移动管理。比如在不同的RNC之间进行软切换时,移动台所有数据都是通过Iur接口从正在工作的RNC传到候选RNC。Iur也是开放的标准接口,Iur接口控制面协议是RNSAP,用户面协议是Iur FP。Iub接口是连接NodeB与RNC的接口,Iub接口也是一个开放的标准接口,其控制面协议是NBAP,用户面协议是Iub FP。 For WCDMA, Iu series interfaces are used in UTRAN, including Iu, Iur and Iub interfaces. These interfaces are divided into the protocol stack by the corresponding radio network layer (RNL) and transport network layer (TNL) according to the UTRAN interface general protocol model. The Iu interface is an interface connecting UTRAN and CN. It is an open standard interface. Its control plane protocol is RANAP, and its user plane protocol is GTP protocol. The Iur interface is an interface connecting RNCs, and is a unique interface of the UMTS system, and is used for mobility management of the mobile station in the RAN. For example, when performing soft handover between different RNCs, all data of the mobile station is transmitted from the working RNC to the candidate RNC through the Iur interface. Iur is also an open standard interface. The Iur interface control plane protocol is RNSAP, and the user plane protocol is Iur FP. The Iub interface is an interface connecting NodeB and RNC. The Iub interface is also an open standard interface. The control plane protocol is NBAP, and the user plane protocol is Iub FP. the
Node B是WCDMA系统的基站(即无线收发信机),包括无线收发信机和基带处理部件。通过标准的Iub接口和RNC互连,主要完成Uu接口物理层协议的处理。它的主要功能是扩频、调制、信道编码及解扩、解调、信道解码,还包括基带信号和射频信号的相互转换等功能。 Node B is the base station (that is, wireless transceiver) of the WCDMA system, including wireless transceivers and baseband processing components. Through the standard Iub interface and RNC interconnection, it mainly completes the processing of the Uu interface physical layer protocol. Its main functions are spread spectrum, modulation, channel coding and despreading, demodulation, channel decoding, and also include functions such as mutual conversion of baseband signals and radio frequency signals. the
所述无线网络控制器RNC用于控制UTRAN的无线资源,主要完成连接建立和断开、切换、宏分集合并、无线资源管理控制等功能。具体包括:(1)执行系统信息广播与系统接入控制功能;(2)切换和RNC迁移(Relocation,或重定位)等移动性管理功能;(3)宏分集合并、功率控制、无线承载分配等无线资源管理和控制功能。 The radio network controller RNC is used to control the radio resources of the UTRAN, and mainly completes functions such as connection establishment and disconnection, handover, macro-diversity combination, and radio resource management and control. Specifically include: (1) Executing system information broadcast and system access control functions; (2) Mobility management functions such as handover and RNC relocation (Relocation, or relocation); (3) Macrodiversity combining, power control, and radio bearer allocation and other wireless resource management and control functions. the
用户设备UE和UTRAN之间的无线接口协议栈架构包括了多种协议,它们分布在无线接入网络中的不同节点实现,如图4所示,其中,RRC协议在UE和RNC中实现,它主要实现RRC连接的管理,无线承载的管理,寻呼/广播以及移动性管理等功能。它负责配置无线接口协议栈中其他协议实体的参数信息。RLC协议在UE和RNC中实现,它主要实现用户数据的传输功能,它提供了三种数据传输模式,分别适合于传送不同QoS要求的业务数据。MAC协议通常在UE和RNC中实现,它负责为用户数据选择合适的传送格式,负责实现逻辑信道到传输信道的映射。对于一些特殊的信道类型,Node B中也有MAC协议的实现。PDCP协议在UE和RNC中 实现,它的功能包括:在发送与接收实体中分别执行IP数据流的头部压缩与解压缩,如TCP/IP和RTP/UDP/IP头部压缩方法对应特定的网络层传输层或上层协议的组合;传输用户数据是将非接入层送来的PDCP-SDU转发到RLC层,若支持无损SRNS迁移功能则转发PDCP-SDU及相应的序列号将多个不同的RB复用到同一个RLC实体。 The radio interface protocol stack architecture between the user equipment UE and UTRAN includes a variety of protocols, which are distributed and implemented by different nodes in the radio access network, as shown in Figure 4. Among them, the RRC protocol is implemented in the UE and the RNC. It mainly implements functions such as RRC connection management, radio bearer management, paging/broadcasting and mobility management. It is responsible for configuring the parameter information of other protocol entities in the wireless interface protocol stack. The RLC protocol is implemented in UE and RNC. It mainly implements the transmission function of user data. It provides three data transmission modes, which are suitable for transmitting service data with different QoS requirements. The MAC protocol is usually implemented in UE and RNC. It is responsible for selecting the appropriate transmission format for user data and implementing the mapping from logical channels to transport channels. For some special channel types, there are also MAC protocol implementations in Node B. The PDCP protocol is implemented in the UE and the RNC. Its functions include: performing header compression and decompression of the IP data stream in the sending and receiving entities, such as TCP/IP and RTP/UDP/IP header compression methods corresponding to specific Combination of network layer transport layer or upper layer protocol; user data transmission is to forward PDCP-SDU sent by non-access layer to RLC layer, if lossless SRNS migration function is supported, PDCP-SDU and corresponding sequence number will be multiple different The RBs are multiplexed to the same RLC entity. the
BMC的功能包括:小区广播消息的存储;业务流量监视和为CBS要求无线资源;BMC消息的调度;发送BMC消息到UE;向高层(NAS)传送小区广播消息等。 The functions of BMC include: storage of cell broadcast messages; service flow monitoring and requesting radio resources for CBS; scheduling of BMC messages; sending BMC messages to UE; transmitting cell broadcast messages to higher layers (NAS), etc. the
由于现有协议栈中Node B只处理物理层协议,一旦需要采用资源管理进行判决的自适应技术,都需要在RNC中实现,网络到终端必须经过RNC到Node B,Node B到终端两个阶段,反之亦然,从而导致Iub接口较长的时延,而且降低了Node B的处理能力和Iub接口传输资源的统计复用率;而RNC和UE之间的RLC层的重传机制在Iub接口存在较大时延情况下,吞吐率会下降;并且外环功率控制算法在Iub接口时延较大情况下,不能快速根据空中接口的变化进行SIRtarget调整;同时小区负载信息目前依赖NodeB周期性上报,存在信息滞后,导致RNC获取的负载信息不实时。 Since the Node B in the existing protocol stack only handles the physical layer protocol, once the adaptive technology that uses resource management for decision-making needs to be implemented in the RNC, the network to the terminal must go through two stages: RNC to Node B, and Node B to the terminal , and vice versa, resulting in a longer delay on the Iub interface, and reducing the processing capability of the Node B and the statistical multiplexing rate of the transmission resources of the Iub interface; and the retransmission mechanism of the RLC layer between the RNC and the UE in the Iub interface In the case of a large delay, the throughput rate will drop; and the outer loop power control algorithm cannot quickly adjust the SIRtarget according to the change of the air interface when the delay of the Iub interface is large; at the same time, the load information of the cell currently relies on NodeB to report periodically , there is an information lag, which causes the load information acquired by the RNC to be out of real time. the
由此可见,将所有接入高层均放在RNC中的协议结构将不适应高速数据传输,在采用类似于自适应协调、反馈控制的技术后,该种协议结构不能保证高速、高效,因而难以适应高速数据传输的需求。 It can be seen that the protocol structure that puts all access layers in the RNC will not be suitable for high-speed data transmission. After adopting technologies similar to adaptive coordination and feedback control, this protocol structure cannot guarantee high speed and high efficiency, so it is difficult to To meet the needs of high-speed data transmission. the
HFC接入网络(DOCSIS)是建立在有线电视同轴网基础上的双向交互式宽带网,它保留了传统的模拟传输方式,同时充分利用现有的有线电视同轴电缆资源,不需重新铺设配线网就可为用户提供电话、广播电视、视频点播、Internet接入、视频会议、数据等多种业务。因此,DOCSIS具有低成本、宽频带和多业务特性,它将成为解决最后1公里宽带接入的优选方案。DOCSIS是对双向交互式HFC接入网的CableLabs标准,分组电缆(PacketCable)标准是建立在DOCSIS的基础上的MSO(多业务运营商)宽带网络标准。 HFC access network (DOCSIS) is a two-way interactive broadband network based on the cable TV coaxial network. It retains the traditional analog transmission mode, and at the same time makes full use of the existing cable TV coaxial cable resources without re-laying The distribution network can provide users with various services such as telephone, radio and television, video on demand, Internet access, video conferencing, and data. Therefore, DOCSIS has the characteristics of low cost, wide frequency band and multi-service, and it will become the preferred solution to solve the last 1 km broadband access. DOCSIS is the CableLabs standard for the two-way interactive HFC access network, and the packet cable (PacketCable) standard is an MSO (Multi-Service Operator) broadband network standard based on DOCSIS. the
PacketCable分为HFC接入网络、用户驻地网和Managed IP Network(管理IP网络),基于HFC接入网络的PacketCable参考架构如图5所示, HFC接入网络和用户驻地网的主要网元包括:电缆调制解调局端设备(CMTS)、HFC传输网络(HFC/Cable Network)、电缆调制解调器(CM,Cable Modem)、多媒体终端适配器MTA(Multimedia Terminal Adapter,图中省略)等。其中,CMCI为用户驻地网中用户端设备(CPE)和CM的参考点;CMRFI为CM和HFC/Cable Network间的参考点;CMTS-NSI为CMTS和Managed IP Network间的以太网汇聚(Ethernet Aggregation)参考点。 PacketCable is divided into HFC access network, customer premises network and Managed IP Network (management IP network). The PacketCable reference architecture based on HFC access network is shown in Figure 5. The main network elements of HFC access network and customer premises network include: Cable modem central office equipment (CMTS), HFC transmission network (HFC/Cable Network), cable modem (CM, Cable Modem), multimedia terminal adapter MTA (Multimedia Terminal Adapter, omitted in the figure), etc. Among them, CMCI is the reference point between customer premises equipment (CPE) and CM in the customer premises network; CMRFI is the reference point between CM and HFC/Cable Network; CMTS-NSI is the Ethernet aggregation (Ethernet Aggregation) between CMTS and Managed IP Network ) reference point. the
在MANAGED IP NETWORK和CPE间可仅采用二层网络桥接技术;也可采用IP三层路由技术。 Between MANAGED IP NETWORK and CPE, only Layer 2 network bridging technology can be used;
现有技术中的一种2G或3G网络基站的传输方法为: A transmission method of a 2G or 3G network base station in the prior art is:
采用E1/T1作为基站的传输技术,例如,在图6所示的WCDMA典型组网传输方式示意图中,WCDMA的Iub接口出E1组网,WCDMA给每一个用户提供的带宽最高仅2Mbps,WCDMA R99在Iub传输上为ATM传输技术,ATM可以承载在TDM传输上,如E1/T1上(E1传输速率为2MHz,T1传输速率为1.5MHz)。通常,基站为了支持大量用户,需要对E1/T1进行多路捆绑,即采用IMA(ATM反向复用)技术。 E1/T1 is used as the transmission technology of the base station. For example, in the schematic diagram of the typical WCDMA network transmission mode shown in Figure 6, the Iub interface of WCDMA exits the E1 network, and the maximum bandwidth provided by WCDMA to each user is only 2Mbps. WCDMA R99 The Iub transmission is ATM transmission technology, and ATM can be carried on TDM transmission, such as E1/T1 (E1 transmission rate is 2MHz, T1 transmission rate is 1.5MHz). Usually, in order to support a large number of users, the base station needs to perform multi-channel bundling on E1/T1, that is, adopt IMA (ATM inverse multiplexing) technology. the
上述现有技术中,当数据业务所需要的传输带宽不断提高后,如果运营商传输继续使用E1/T1传输方式,由于E1/T1传输方式的传输速率比较低,BS和基站控制器之间的链路负载会比较大,无法满足高速数据业务的速率要求,无法为高速数据业务的QoS提供保证。同时,由于数据业务的收费低廉,将导致高成本低收益,会严重影响运营商的盈利水平。 In the above-mentioned prior art, when the transmission bandwidth required by the data service continues to increase, if the operator continues to use the E1/T1 transmission mode for transmission, since the transmission rate of the E1/T1 transmission mode is relatively low, the transmission rate between the BS and the base station controller The link load will be relatively large, unable to meet the rate requirements of high-speed data services, and unable to provide guarantee for the QoS of high-speed data services. At the same time, due to the low charges of data services, it will lead to high costs and low returns, which will seriously affect the profitability of operators. the
因此,无线网络的传输问题将是运营商迫切需要解决的问题,不管是建立自己的传输网络,还是寻找其他廉价的替代技术,都将是运营商直接面临的抉择。 Therefore, the wireless network transmission problem will be an urgent problem for operators to solve. Whether it is to build their own transmission network or find other cheap alternative technologies, it will be a direct choice for operators. the
发明内容Contents of the invention
本发明实施例提供一种优化无线网络层实现网络互连的方法,包括: An embodiment of the present invention provides a method for optimizing the wireless network layer to realize network interconnection, including:
将无线网络控制器RNC的控制与承载功能分离,分为无线接入网服务器和无线适配器; Separate the control and bearer functions of the radio network controller RNC into radio access network servers and wireless adapters;
并将所述无线适配器设置在基站BS中,当进行通信时,所述无线适配器对相关的无线接口协议进行处理; And setting the wireless adapter in the base station BS, when communicating, the wireless adapter processes the relevant wireless interface protocol;
通过适配功能体将设置在基站中的无线适配器与光接入网络相连接,将无线通信网络的无线接入网服务器和核心网分别连接到相应的光网络单元,以实现光接入网络与无线通信网络的互连。 The wireless adapter set in the base station is connected to the optical access network through the adaptation function body, and the wireless access network server and the core network of the wireless communication network are respectively connected to the corresponding optical network unit, so as to realize the connection between the optical access network and the optical access network. Interconnection of wireless communication networks. the
更适宜地,在无线接入网中设置无线网关,该方法还包括: Preferably, a wireless gateway is set in the wireless access network, the method also includes:
将所述无线网关设置在所述基站与核心网之间;和/或 setting the wireless gateway between the base station and the core network; and/or
所述无线网关与所述无线接入网服务器相连接。 The wireless gateway is connected to the wireless access network server. the
更适宜地,所述无线适配器与无线接入网服务器间的接口的无线资源控制、无线网络层和传输网络层直接承载在光接入网络上。 More suitably, the radio resource control, radio network layer and transport network layer of the interface between the wireless adapter and the radio access network server are directly carried on the optical access network. the
本发明实施例提供一种优化无线网络层实现网络互连的系统,包括无线接入网络及对应的核心网络,该系统还包括:无线适配器、无线接入网服务器; An embodiment of the present invention provides a system for optimizing the wireless network layer to realize network interconnection, including a wireless access network and a corresponding core network, the system also includes: a wireless adapter, a wireless access network server;
无线适配器,用于对相关的无线接口协议进行处理;设置在基站中,所提供的功能包括媒体接入控制、无线链路控制、分组数据汇聚协议、小区专用无线资源管理以及切换控制,所提供的功能还包括接入控制、小区内控制或/和QoS调度中的至少一种功能; The wireless adapter is used to process related wireless interface protocols; it is set in the base station, and the functions provided include media access control, wireless link control, packet data convergence protocol, cell-specific wireless resource management, and handover control. The function also includes at least one function in access control, intra-cell control or/and QoS scheduling;
所述无线接入网服务器,用于提供无线适配器之间迁移以及系统信息广播的功能。 The wireless access network server is used to provide functions of migrating between wireless adapters and broadcasting system information. the
本发明实施例提供一种基站与有线网络互连的系统,包括: An embodiment of the present invention provides a system for interconnecting a base station and a wired network, including:
基站设备,用于通过至少一对有线链路在参考点a和光接入网OAN网络的光网络单元ONU/光网络终端ONT设备相连,完成无线用户的无线接入处理,并将接入的无线用户的数据包或帧做基站控制处理后传递给ONU/ONT设备,将来自ONU/ONT设备的数据包或帧做基站控制处理后输出给无线用户; The base station equipment is used to connect the optical network unit ONU/optical network terminal ONT equipment of the optical access network OAN network at the reference point a through at least one pair of wired links, complete the wireless access processing of wireless users, and transfer the accessed wireless The user's data packet or frame is processed by the base station and then passed to the ONU/ONT device, and the data packet or frame from the ONU/ONT device is processed by the base station and then output to the wireless user;
ONU/ONT设备,用于分别与基站设备及OAN的光路终结点OLT相连,将来自基站设备的数据包或帧转换成光信号后传递给OAN的OLT,将来自OLT的数据包或帧转换成电信号后传递给基站设备。 The ONU/ONT equipment is used to connect with the base station equipment and the optical path termination point OLT of the OAN respectively, convert the data packets or frames from the base station equipment into optical signals and transmit them to the OLT of the OAN, and convert the data packets or frames from the OLT into The electrical signal is then transmitted to the base station equipment. the
本发明实施例提供一种基站与有线网络互连的系统,包括: An embodiment of the present invention provides a system for interconnecting a base station and a wired network, including:
基站设备,集成了ONU/ONT功能,与ODN与OLT设备相连,完成无线用户的无线接入处理,并将接入的无线用户的数据包或帧进行处理后传递给OLT设备,将OLT设备传递过来的数据包或帧做基站控制处理后输出给无线用户。 The base station equipment integrates the ONU/ONT function, connects with the ODN and the OLT equipment, completes the wireless access processing of the wireless users, processes the data packets or frames of the wireless users connected to the OLT equipment, and transmits the OLT equipment The incoming data packets or frames are processed by the base station and then output to the wireless users. the
优选地,该系统还包括: Preferably, the system also includes:
远程供电设备:用于将市电输入或直流电输入转换成高压直流电输出,以向基站设备进行远程供电。 Remote power supply equipment: used to convert the mains input or DC input into high-voltage DC output for remote power supply to base station equipment. the
本发明实施例提供一种基站与有线网络互连的系统,包括: An embodiment of the present invention provides a system for interconnecting a base station and a wired network, including:
基站设备,在参考点CMCI和光纤/同轴电缆混合网接入网络DOCSIS的电缆调制解调器CM设备相连,完成无线用户的无线接入处理,并将接入的无线用户的数据包或帧做基站控制处理后传递给CM设备,将CM设备传递过来的数据包或帧做基站控制处理后输出给无线用户; The base station equipment is connected at the reference point CMCI with the cable modem CM equipment of the fiber optic/coaxial cable hybrid network access network DOCSIS, completes the wireless access processing of wireless users, and controls the data packets or frames of the wireless users accessed by the base station After processing, it is passed to the CM device, and the data packet or frame passed by the CM device is controlled by the base station and then output to the wireless user;
CM设备,与所述基站设备以及DOCSIS网络的电缆调制解调器终端系统CMTS设备相连,将来自基站设备的数据包或帧做DOCSIS调制后传递给CMTS设备,将来自CMTS设备的数据包或帧做DOCSIS解调后传递给基站设备。 The CM equipment is connected with the base station equipment and the cable modem terminal system CMTS equipment of the DOCSIS network, and transmits the data packets or frames from the base station equipment to the CMTS equipment after DOCSIS modulation, and performs DOCSIS decoding on the data packets or frames from the CMTS equipment. After adjustment, it is sent to the base station equipment. the
本发明实施例提供一种基站与有线网络互连的系统,包括: An embodiment of the present invention provides a system for interconnecting a base station and a wired network, including:
基站设备,在参考点CMRFI和DOCSIS网络的CMTS设备相连,完成无线用户的无线接入处理,并将接入的无线用户的数据包或帧做基站控制处理后传递给CMTS设备,将CMTS设备传递过来的数据包或帧做基站控制处理后输出给无线用户; The base station equipment is connected to the CMTS equipment of the DOCSIS network at the reference point CMRFI, completes the wireless access processing of the wireless users, and transfers the data packets or frames of the accessed wireless users to the CMTS equipment after the base station control processing, and transmits the CMTS equipment The incoming data packets or frames are processed by the base station and then output to the wireless users;
CMTS设备,分别与所述基站设备以及管理IP网络Managed IP Network相连,将基站设备传递过来的数据包或帧做DOCSIS解调后传递给ManagedIP Network,将Managed IP Network传递过来的数据包或帧做DOCSIS调制后传递给基站设备。 The CMTS equipment is respectively connected to the base station equipment and the managed IP network Managed IP Network, performs DOCSIS demodulation on the data packets or frames transmitted from the base station equipment, and then transmits them to the ManagedIP Network, and performs DOCSIS demodulation on the data packets or frames transmitted from the Managed IP Network. After DOCSIS modulation, it is transmitted to the base station equipment. the
综上,本发明的实施例中,针对3G/2G无线通信网络和OAN(如PON技术接入的网络)互连的课题,提出了无线网络将无线接口协议栈下移到基站,再与OAM网络紧耦合或松耦合的方案,作为OAM有线接入的无线延伸,适用于固定无线、游牧、便携和移动接入应用。为OAN网络运营商发展无线网络提供了一种演进途径。因此,可最大限度的重用了标准Iu/Iur接口,现有UTRAN架构可以平滑演进;空口协议栈的下移,减小了传输时延对用户QoS的影响,为高速数据业务的QoS提供了保证;BS和基站控制器之间的链路负载会大大降低,因为无线接口协议控制面RRC配置无线接口协议用户面协议的消息会在BS内部执行,而且RLC重传也不会再使用这条链路,BS和基站控制器间的传输机制将大为简化,提高了数据传输性能和无线接入网络资源的使用效率; In summary, in the embodiments of the present invention, aiming at the subject of interconnection between the 3G/2G wireless communication network and the OAN (such as a network accessed by PON technology), it is proposed that the wireless network move the wireless interface protocol stack down to the base station, and then integrate with the OAN Network tightly coupled or loosely coupled solutions, as a wireless extension of OAM wired access, are suitable for fixed wireless, nomadic, portable and mobile access applications. It provides an evolution path for OAN network operators to develop wireless networks. Therefore, the standard Iu/Iur interface can be reused to the greatest extent, and the existing UTRAN architecture can evolve smoothly; the downshift of the air interface protocol stack reduces the impact of transmission delay on user QoS, and provides a guarantee for the QoS of high-speed data services ; The link load between the BS and the base station controller will be greatly reduced, because the message of the radio interface protocol control plane RRC configuration radio interface protocol user plane protocol will be executed inside the BS, and the RLC retransmission will no longer use this link The transmission mechanism between the BS and the base station controller will be greatly simplified, which improves the data transmission performance and the utilization efficiency of wireless access network resources;
采用控制面和用户面分离,可以简化每个实体的设计,优化RNC和基站、SGSN和GGSN的功能,使其更适用于采用分布式网络结构的接入网结构,且保证网络与UE之间有快速的反应机制,并具有更强的灵活性和可扩展性,为组网带来便利,从而更能适应未来业务的发展; The separation of the control plane and the user plane can simplify the design of each entity, optimize the functions of RNC and base station, SGSN and GGSN, and make it more suitable for the access network structure with distributed network structure, and ensure the communication between the network and UE It has a quick response mechanism, and has stronger flexibility and scalability, which brings convenience to networking and thus better adapts to future business development;
采用多对多的网络架构,有效的避免了单点故障; Adopting many-to-many network architecture, effectively avoiding single point of failure;
特别适合与固定、游牧、便携和低速移动的无线接入应用,便于与有线网络融合。 It is especially suitable for fixed, nomadic, portable and low-speed mobile wireless access applications, and is easy to integrate with wired networks. the
本发明提出的紧耦合的方式,基于Wireless/Mobile over Fiber(光纤承载无线/移动网络),根据对无线/移动接入技术和OAN接入技术的特点进行互补,扩大网络的覆盖。Wireless/Mobile over Fiber主要利用无线覆盖性对OAN覆盖范围进行补充,可以使3G/2G接入网的建设尽量利用原OAN网络已布设的线路资源,从而降低3G/2G接入网的建设成本。 The tight coupling method proposed by the present invention is based on Wireless/Mobile over Fiber (wireless/mobile network carried by fiber optics), and complements the characteristics of wireless/mobile access technology and OAN access technology to expand the coverage of the network. Wireless/Mobile over Fiber mainly uses wireless coverage to supplement the coverage of OAN, which can make the construction of 3G/2G access network use the line resources already deployed in the original OAN network as much as possible, thereby reducing the construction cost of 3G/2G access network. the
本发明提出的松耦合的方式,对无线网络与OAN,尽量共享两个网络的核心网资源,进行统一的认证、计费和客户服务(Customer Care)。 The loose coupling method proposed by the present invention shares the core network resources of the two networks as much as possible for the wireless network and the OAN, and performs unified authentication, billing and customer care (Customer Care). the
附图说明Description of drawings
此处所说明的附图用来提供对本发明的进一步理解,构成本申请的一部分,本发明的示意性实施例及其说明用于解释本发明,并不构成对本发明的限定。在附图中 The accompanying drawings described here are used to provide a further understanding of the present invention, and constitute a part of the application. The schematic embodiments of the present invention and their descriptions are used to explain the present invention, and do not constitute a limitation to the present invention. in the attached picture
图1为现有技术的FTTx网络主要的网络架构示意图; Fig. 1 is the main network architecture schematic diagram of the FTTx network of prior art;
图2为现有技术的光接入网OAN的参考架构示意图; FIG. 2 is a schematic diagram of a reference architecture of an optical access network OAN in the prior art;
图3为现有技术的3G/2G通信系统的接入网参考架构示意图; FIG. 3 is a schematic diagram of an access network reference architecture of a 3G/2G communication system in the prior art;
图4为现有技术的无线接口协议栈架构示意图; Fig. 4 is a schematic diagram of the wireless interface protocol stack architecture of the prior art;
图5为现有技术的基于HFC接入网络的PacketCable参考架构示意图; Fig. 5 is a schematic diagram of the PacketCable reference architecture based on the HFC access network of the prior art;
图6为现有技术的WCDMA典型组网传输方式示意图; Fig. 6 is a schematic diagram of a typical WCDMA networking transmission mode in the prior art;
图7为本发明实施例中系统无线接口功能下移的增强型移动网络架构示意图; 7 is a schematic diagram of an enhanced mobile network architecture in which the system wireless interface function is moved down in an embodiment of the present invention;
图8(a)、(b)和(c)为本发明实施例中无线接口功能下移的增强型移动网络接口协议栈示意图;其中,(a)为本发明系统无线接口功能下移的增强型移动网络用户面的结构示意图;(b)为本发明系统无线接口功能下移的增强型移动网络控制面的结构示意图;(c)为本发明系统基于IP的Megaco/H.248协议栈示意图; Figure 8 (a), (b) and (c) are schematic diagrams of the enhanced mobile network interface protocol stack in which the wireless interface function is moved down in the embodiment of the present invention; wherein, (a) is the enhancement of the wireless interface function of the system of the present invention to be moved down (b) is the structural representation of the enhanced mobile network control plane that the wireless interface function of the system of the present invention moves down; (c) is the Megaco/H.248 protocol stack schematic diagram based on IP of the system of the present invention ;
图9为本发明第一实施例的无线接口功能下移的增强型移动网络架构示意图; FIG. 9 is a schematic diagram of an enhanced mobile network architecture in which the wireless interface function is moved down according to the first embodiment of the present invention;
图10为本发明第二实施例的无线接口功能下移的增强型移动网络架构示意图; FIG. 10 is a schematic diagram of an enhanced mobile network architecture in which the wireless interface function is moved down according to the second embodiment of the present invention;
图11为本发明的另一实施例中的新型网络架构示意图; Fig. 11 is a schematic diagram of a novel network architecture in another embodiment of the present invention;
图12为本发明第一实施例的光接入网与无线网络互连的结构示意图; FIG. 12 is a schematic structural diagram of the interconnection between the optical access network and the wireless network according to the first embodiment of the present invention;
图13为本发明第一实施例的网络互连方案中用户面:BS+WA集成网元和AF网元分离时的示意图; 13 is a schematic diagram of the user plane in the network interconnection solution of the first embodiment of the present invention: when the BS+WA integrated network element and the AF network element are separated;
图14为本发明第一实施例的网络互连方案中用户面BS、WA和AF网元集成时的示意图; 14 is a schematic diagram of the integration of user plane BS, WA and AF network elements in the network interconnection solution of the first embodiment of the present invention;
图15为本发明第二实施例的网络互连方案中控制面:BS+WA集成网元和AF网元分离时的示意图; 15 is a schematic diagram of the control plane in the network interconnection solution of the second embodiment of the present invention: when the BS+WA integrated network element and the AF network element are separated;
图16为本发明第二实施例的网络互连方案中用户面:BS、WA和AF网元集成时的示意图; 16 is a schematic diagram of the user plane in the network interconnection solution of the second embodiment of the present invention: BS, WA and AF network elements are integrated;
图17为本发明第二实施例中的光接入网络OAN与无线网络互连方案 示意图; Fig. 17 is a schematic diagram of the interconnection scheme between the optical access network OAN and the wireless network in the second embodiment of the present invention;
图18为本发明第二实施例中的网络互连方案中用户面:BS、WA和ONU/ONT网元集成的架构示意图; 18 is a schematic diagram of the user plane in the network interconnection solution in the second embodiment of the present invention: BS, WA and ONU/ONT network element integration architecture;
图19为本发明第二实施例中的网络互连方案中控制面:BS、WA和ONU/ONT网元集成的架构示意图; Fig. 19 is a control plane in the network interconnection solution in the second embodiment of the present invention: a schematic diagram of the architecture of BS, WA and ONU/ONT network element integration;
图20为本发明实施例中的增强型移动网络架构示意图; Figure 20 is a schematic diagram of an enhanced mobile network architecture in an embodiment of the present invention;
图21(a)-(c)为本发明无线接口功能下移的增强型移动网络接口协议栈示意图;其中,(a)为本发明施例中系统无线接口功能下移的增强型移动网络用户面的结构示意图;(b)为本发明系统无线接口功能下移的增强型移动网络控制面的结构示意图;(c)为本发明系统基于IP的Megaco/H.248协议栈示意图; Figure 21 (a)-(c) is a schematic diagram of the enhanced mobile network interface protocol stack in which the wireless interface function is moved down in the present invention; (a) is an enhanced mobile network user in which the system wireless interface function is moved down in the embodiment of the present invention The structural representation of plane; (b) is the structural representation of the enhanced mobile network control plane that the wireless interface function of the system of the present invention moves down; (c) is the Megaco/H.248 protocol stack schematic diagram based on IP of the system of the present invention;
图22为本发明实施例的无线接口功能下移的增强型移动网络架构示意图; FIG. 22 is a schematic diagram of an enhanced mobile network architecture in which the wireless interface function is moved down according to an embodiment of the present invention;
图23为本发明实施例的无线接口功能下移的增强型移动网络架构示意图; 23 is a schematic diagram of an enhanced mobile network architecture in which the wireless interface function is moved down according to an embodiment of the present invention;
图24为本发明实施例的光接入网与无线网络互连的结构示意图; Figure 24 is a schematic structural diagram of the interconnection between an optical access network and a wireless network according to an embodiment of the present invention;
图25为本发明实施例中光接入网络与无线网络互连的示意图; Figure 25 is a schematic diagram of the interconnection between an optical access network and a wireless network in an embodiment of the present invention;
图26为本发明实施例中光接入网络与无线网络互连方案示意图; Figure 26 is a schematic diagram of an interconnection scheme between an optical access network and a wireless network in an embodiment of the present invention;
图27为本发明实施例用户面中BS+WA集成网元和AF网元分离的示意图; Figure 27 is a schematic diagram of the separation of BS+WA integrated network elements and AF network elements in the user plane according to an embodiment of the present invention;
图28为本发明实施例的用户面中BS、WA和AF网元集成的示意图; Figure 28 is a schematic diagram of the integration of BS, WA and AF network elements in the user plane of the embodiment of the present invention;
图29为本发明实施例的用户面中BS、WA和AF网元集成的示意图; Figure 29 is a schematic diagram of the integration of BS, WA and AF network elements in the user plane of the embodiment of the present invention;
图30为本发明实施例中控制面的BS+WA集成网元和AF网元分离,OLT和RGW集成示意图; Figure 30 is a schematic diagram of the separation of the BS+WA integrated network element and the AF network element of the control plane in the embodiment of the present invention, and the integration of the OLT and the RGW;
图31为本发明实施例中控制面的BS、WA和AF网元集成,OLT和RGW集成示意图; Figure 31 is a schematic diagram of the integration of BS, WA and AF network elements of the control plane in the embodiment of the present invention, and the integration of OLT and RGW;
图32为本发明实施例中控制面BS、WA和AF网元集成,OLT和WGW集成示意图; Figure 32 is a schematic diagram of the integration of control plane BS, WA and AF network elements, and the integration of OLT and WGW in the embodiment of the present invention;
图33为本发明实施例的光接入网络与无线网络互连的示意图; Figure 33 is a schematic diagram of the interconnection between an optical access network and a wireless network according to an embodiment of the present invention;
图34为本发明光接入网络与无线网络互连的示意图; Figure 34 is a schematic diagram of the interconnection between the optical access network and the wireless network of the present invention;
图35为本发明实施例中用户面的BS、WA和ONU/ONT网元集成示意图; Figure 35 is a schematic diagram of the integration of BS, WA and ONU/ONT network elements of the user plane in the embodiment of the present invention;
图36为本发明实施例中控制面的BS、WA和ONU/ONT网元集成,RGW和OLT网元集成示意图; Figure 36 is a schematic diagram of the integration of BS, WA and ONU/ONT network elements of the control plane in the embodiment of the present invention, and the integration of RGW and OLT network elements;
图37为本发明实施例的所述基站与有线网络互连的方法流程图; FIG. 37 is a flowchart of a method for interconnecting the base station and the wired network according to an embodiment of the present invention;
图38为本发明实施例中基站采用PON传输的示意图; FIG. 38 is a schematic diagram of a base station using PON transmission in an embodiment of the present invention;
图39为本发明实施例中基站采用DOCSIS传输的示意图; FIG. 39 is a schematic diagram of a base station using DOCSIS transmission in an embodiment of the present invention;
图40为本发明实施例中BS和PON网络互连的系统结构示意图; FIG. 40 is a schematic structural diagram of a system interconnection between BS and PON networks in an embodiment of the present invention;
图41为本发明实施例中另一种BS和PON网络互连的系统结构示意图; FIG. 41 is a schematic structural diagram of another BS and PON network interconnection system in an embodiment of the present invention;
图42为本发明实施例中一种BS和DOCSIS网络互连的系统结构示意图; FIG. 42 is a schematic structural diagram of a system interconnection between a BS and a DOCSIS network in an embodiment of the present invention;
图43为本发明实施例中另一种BS和DOCSIS网络互连的系统结构示意图。 FIG. 43 is a schematic structural diagram of another system interconnection between a BS and a DOCSIS network in an embodiment of the present invention. the
具体实施方式Detailed ways
下面结合说明书附图来说明本发明的具体实施方式。 The specific implementation manners of the present invention will be described below in conjunction with the accompanying drawings. the
本发明的实施例中,为了使得所述无线网络层下移实现网络互连的,将无线接入网络RAN做功能分解,定义功能单元:BS、无线适配器WA(Wireless Adaptor)和无线接入网服务器(RAN-Server);其中BS、WA和RAN-Server的功能划分如下: In the embodiment of the present invention, in order to move the wireless network layer down to realize network interconnection, the wireless access network RAN is decomposed into functions, and functional units are defined: BS, wireless adapter WA (Wireless Adaptor) and wireless access network Server (RAN-Server); the functions of BS, WA and RAN-Server are divided as follows:
对于WCDMA/GPRS/TD-SCDMA网络的RAN,BS、WA和RAN-Server功能分解如表1所示,其中的WA功能可以下移到BS。 For the RAN of the WCDMA/GPRS/TD-SCDMA network, the functional decomposition of BS, WA and RAN-Server is shown in Table 1, and the WA function can be moved down to the BS. the
表1BS、WA和RWG功能分解 Table 1 Functional breakdown of BS, WA and RWG
本发明实施例中新的无线网络架构如图7所示,UE网元与BS+WA网元间的接口采用原UE和UTRAN接口Uu,Node B和RNC间的Iub接口不再存在;BS+WA网元与RAN-Server间采用新定义的接口Iub-C;BS+WA与CN间的接口Iu-D采用原RNC与SGSN间的接口Iu的用户面;RAN-Server与CN间的接口Iu-C采用原RNC与SGSN间的接口Iu的控制面;RAN-Server间采用原RNC间的Iur接口的控制面;另外所增加的BS+WA网元间接口采用原RNC间的Iur接口。无线接口功能下移的增强型移动网络接口定义及其协议栈如图8所示。 The new wireless network architecture in the embodiment of the present invention is shown in Figure 7. The interface between the UE network element and the BS+WA network element adopts the original UE and UTRAN interface Uu, and the Iub interface between Node B and RNC no longer exists; BS+WA The newly defined interface Iub-C is adopted between WA network element and RAN-Server; the interface Iu-D between BS+WA and CN adopts the user plane of the interface Iu between the original RNC and SGSN; the interface Iu between RAN-Server and CN -C adopts the control plane of the interface Iu between the original RNC and SGSN; the RAN-Server adopts the control plane of the Iur interface between the original RNCs; in addition, the interface between the added BS+WA network elements adopts the Iur interface between the original RNCs. The definition of the enhanced mobile network interface and its protocol stack with the function of the wireless interface moved down are shown in Figure 8. the
本发明实施例中进一步对CN PS域做控制与承载分离功能分解,一种功能分解方法是定义功能单元:服务GPRS支持节点服务器SGSN-Server、 服务GPRS支持节点网关SGSN-GW、网关GPRS支持节点服务器GGSN-Server和网关GPRS支持节点网关GGSN-GW。SGSN-Server包含原SGSN的控制面功能,实现移动性管理,连接管理,会话管理等SGSN控制面功能,SGSN-GW包含原SGSN的用户面功能,GGSN-Server包含原GGSN的控制面功能,GGSN-GW包含原GGSN的用户面功能。 In the embodiment of the present invention, further decompose the control and bearer separation functions of the CNPS domain, a function decomposition method is to define functional units: serving GPRS support node server SGSN-Server, serving GPRS support node gateway SGSN-GW, gateway GPRS support node The server GGSN-Server and the gateway GPRS support the node gateway GGSN-GW. SGSN-Server includes the control plane functions of the original SGSN, and implements SGSN control plane functions such as mobility management, connection management, and session management. SGSN-GW includes the user plane functions of the original SGSN, and GGSN-Server includes the control plane functions of the original GGSN. GGSN -GW includes the user plane function of the original GGSN. the
与此相应,本发明实施例中的无线网络架构如图9所示。其中,RAN同图7的RAN;在CN中,SGSN-GW与BS+WA间的接口Iu-D采用原RNC与SGSN间的接口Iu的用户面;SGSN-Server与RAN-Server间的接口Iu-C采用原RNC与SGSN间的接口Iu的控制面;SGSN-GW与GGSN-GW间的接口Gn-D采用原GGSN与SGSN间的接口Gn的用户面;SGSN-Server与GGSN-Server间的接口Gn-C采用原GGSN与SGSN间的接口Gn的控制面;SGSN-Server与SGSN-GW间的接口采用IETF的Megaco或ITU-T的H.248,也可以采用全新的协议栈,SGSN-Server通过Megaco/H.248对SGSN-GW进行管理;GGSN-Server与GGSN-GW间的接口采用IETF的Megaco或ITU-T的H.248,也可以采用全新的协议栈,GGSN-Server通过Megaco/H.248对GGSN-GW进行管理,如图8(c)所示。 Correspondingly, the wireless network architecture in the embodiment of the present invention is shown in FIG. 9 . Among them, the RAN is the same as the RAN in Figure 7; in the CN, the interface Iu-D between the SGSN-GW and the BS+WA adopts the user plane of the interface Iu between the original RNC and the SGSN; the interface Iu between the SGSN-Server and the RAN-Server -C adopts the control plane of the interface Iu between the original RNC and the SGSN; the interface Gn-D between the SGSN-GW and the GGSN-GW adopts the user plane of the interface Gn between the original GGSN and the SGSN; the interface between the SGSN-Server and the GGSN-Server The interface Gn-C adopts the control plane of the interface Gn between the original GGSN and SGSN; the interface between the SGSN-Server and SGSN-GW adopts Megaco of IETF or H.248 of ITU-T, or a new protocol stack, SGSN- Server manages SGSN-GW through Megaco/H.248; the interface between GGSN-Server and GGSN-GW adopts Megaco of IETF or H.248 of ITU-T, or adopts a new protocol stack. GGSN-Server uses Megaco /H.248 manages the GGSN-GW, as shown in Figure 8(c). the
本发明的第二实施例中,CNPS域功能分解方法是定义功能单元:综合GPRS支持节点服务器IGSN-Server和综合GPRS支持节点网关IGSN-GW。IGSN-Server包含原SGSN和GGSN的控制面功能,IGSN-GW包含原SGSN和GGSN的用户面功能。 In the second embodiment of the present invention, the CNPS domain function decomposition method is to define functional units: integrated GPRS support node server IGSN-Server and integrated GPRS support node gateway IGSN-GW. The IGSN-Server includes the control plane functions of the original SGSN and GGSN, and the IGSN-GW includes the user plane functions of the original SGSN and GGSN. the
与此相应,本发明新的无线网络架构如图1O所示。其中,RAN同图7的RAN;在CN中,IGSN-GW与BS+WA间的接口Iu-D采用原RNC与SGSN间的接口Iu的用户面;IGSN-Server与RAN-Server间的接口Iu-C采用原RNC与SGSN间的接口Iu的控制面;IGSN-Server与IGSN-GW间的接口采用IETF的Megaco或ITU-T的H.248,也可以采用全新的协议栈,IGSN-Server通过Megaco/H.248对IGSN-GW进行管理。 Correspondingly, the new wireless network architecture of the present invention is shown in FIG. 10 . Among them, the RAN is the same as the RAN in Figure 7; in the CN, the interface Iu-D between the IGSN-GW and the BS+WA adopts the user plane of the interface Iu between the original RNC and the SGSN; the interface Iu between the IGSN-Server and the RAN-Server -C adopts the control plane of the interface Iu between the original RNC and SGSN; the interface between IGSN-Server and IGSN-GW adopts Megaco of IETF or H.248 of ITU-T, and can also adopt a new protocol stack. IGSN-Server passes Megaco/H.248 manages the IGSN-GW. the
与此相应,本发明实施例中的另一无线网络架构如图11所示,其中,无线接入网服务器RAN-Server和综合GPRS支持节点服务器IGSN-Server整合为一个网元,称为无线服务器W-Server(Wireless-Server);IGSN-GW 不变。BS+WA与W-Server间采用新定义的接口Iub-C;W-Server与IGSN-GW间的接口采用IETF的Megaco或ITU-T的H.248,也可以采用全新的协议栈,W-Server通过Megaco/H.248对IGSN-GW进行管理;W-Server间接口Iur-C采用原RNC间的Iur接口的控制面。 Correspondingly, another wireless network architecture in the embodiment of the present invention is shown in Figure 11, wherein the radio access network server RAN-Server and the integrated GPRS support node server IGSN-Server are integrated into one network element, called a wireless server W-Server (Wireless-Server); IGSN-GW remains unchanged. The newly defined interface Iub-C is adopted between BS+WA and W-Server; the interface between W-Server and IGSN-GW adopts Megaco of IETF or H.248 of ITU-T, and a brand new protocol stack can also be adopted, W- The Server manages the IGSN-GW through Megaco/H.248; the interface Iur-C between W-Servers adopts the control plane of the Iur interface between the original RNCs. the
由此,本发明的光接入网OAN与无线网络互连方法的第一实施例如图12所示,3G/2G无线通信网络BS和WA通过AF与OAN在OAN内的参考点(a)互连,RAN-Server和CN与OLT在OAN内的参考点v互连。该方案可以使3G/2G接入网的建设尽量利用原OAN已布设的资源,如:运营商已经有了FTTB/FTTC的网络,3G/2G无线通信网络设备设在大楼直接利用大楼的铜线资源,通过ONU接入OAN网,从而减少了无线通信网络的额外布线。从而降低3G/2G接入网的建设成本,属于紧耦合方案。 Therefore, the first embodiment of the method for interconnecting the optical access network OAN and the wireless network of the present invention is shown in FIG. Connect, RAN-Server and CN are interconnected with reference point v of OLT in OAN. This solution can make the construction of 3G/2G access network use the resources already deployed by the original OAN as much as possible. For example, the operator already has a FTTB/FTTC network, and the 3G/2G wireless communication network equipment is installed in the building and directly uses the copper wire of the building. Resources are connected to the OAN network through the ONU, thereby reducing the extra wiring of the wireless communication network. Thereby reducing the construction cost of the 3G/2G access network, which belongs to the tightly coupled scheme. the
该方案BS和WA网元集成、BS+WA集成网元和AF可以网元分离,以参考点T互连;或BS、WA和AF网元集成为一体。RAN-Server可以和OLT网元集成为一体。 In this solution, BS and WA network elements are integrated, BS+WA integrated network elements and AF can be separated and interconnected with a reference point T; or BS, WA and AF network elements can be integrated into one. RAN-Server can be integrated with OLT network elements. the
以WCDMA为例,在UE->Node B->ONU->OLT->Core Network路径下的协议栈,用户面如图13和图14所示,控制面如图15和图16所示。BS、WA和RAN-Server功能分解如表1所示;Core Network包括了SGSN和GGSN;SGSN和GGSN也可以合二为一,形成新的网元IGSN;CoreNetwork也可以按图9和图10中所示的方案。 Taking WCDMA as an example, the protocol stack under the UE->Node B->ONU->OLT->Core Network path, the user plane is shown in Figure 13 and Figure 14, and the control plane is shown in Figure 15 and Figure 16. The functional decomposition of BS, WA and RAN-Server is shown in Table 1; Core Network includes SGSN and GGSN; SGSN and GGSN can also be combined into one to form a new network element IGSN; CoreNetwork can also be as shown in Figure 9 and Figure 10 scheme shown. the
基于上述协议栈结构,UE在数据通信时首先通过控制面协议栈建立无线资源控制RRC连接,在和核心网协商后开始进行RAB的建立,RAB的建立过程伴随着用户面RB的建立。RAB建立成功后,用户就可以通过已经建立好的用户面承载传送数据了。PDCP的压缩/解压缩功能可以启用,也可以不启用。信令建立流程是在UE与UTRAN之间的RRC连接建立成功后,UE通过RNC建立与CN的信令连接,也叫“NAS信令建立流程”,用于UE与CN的信令交互NAS信息,如鉴权、业务请求、连接建立等。一种启用了压缩/解压缩功能的用户面数据的传输过程如下: Based on the above protocol stack structure, the UE first establishes a radio resource control RRC connection through the control plane protocol stack during data communication, and starts to establish an RAB after negotiating with the core network. The RAB establishment process is accompanied by the establishment of the user plane RB. After the RAB is successfully established, the user can transmit data through the established user plane bearer. The compression/decompression function of PDCP can be enabled or disabled. The signaling establishment process is that after the RRC connection between the UE and UTRAN is successfully established, the UE establishes a signaling connection with the CN through the RNC, also called "NAS signaling establishment process", which is used for the signaling exchange of NAS information between the UE and the CN. , such as authentication, service request, connection establishment, etc. The transmission process of a user plane data with the compression/decompression function enabled is as follows:
上行:UE的应用层数据被封装成IP包或者PPP包后发给RNL的PDCP协议,PDCP协议对数据包报头进行压缩,并将压缩后的数据传给RNL的 RLC/MAC,RLC/MAC协议在接收到数据包处理完后,增加RLC/MAC报头后发给WCDMA物理层RFL,物理层对接收到的数据包进行编码调制等操作通过Uu接口发送到UTRAN。UTRAN中BS+WA的WCDMA物理层RFL收到数据后发送给RNL的MAC/RLC协议,MAC/RLC协议依次去除协议报头,经过重组合并,将数据发给RNL的PDCP协议,PDCP协议将被压缩的数据包报头进行解压缩。BS+WA通过GTP隧道将解出来的数据经过Iu-D接口转发到CN,WA与CN间的Iu-D接口GTP隧道协议、UDP和IP可直接承载在OAN网络之上,WA与CN间OAN网络可以采用二层桥接技术(例如,以太网桥接),即AF、ONU/ONT和OLT皆为二层网元;或在WA与CN间采用三层路由技术(例如,IP三层路由),即AF、ONU/ONT和OLT皆为三层网元。 Uplink: UE's application layer data is encapsulated into IP packets or PPP packets and sent to RNL's PDCP protocol. PDCP protocol compresses the data packet header and transmits the compressed data to RNL's RLC/MAC, RLC/MAC protocol After the received data packet is processed, the RLC/MAC header is added and then sent to the WCDMA physical layer RFL. The physical layer encodes and modulates the received data packet and sends it to UTRAN through the Uu interface. The WCDMA physical layer RFL of BS+WA in UTRAN sends the data to the MAC/RLC protocol of RNL after receiving the data. The MAC/RLC protocol removes the protocol header in turn, and after reorganization and merger, the data is sent to the PDCP protocol of RNL. The PDCP protocol will be compressed The header of the packet is decompressed. BS+WA forwards the decrypted data to CN through the Iu-D interface through the GTP tunnel. The Iu-D interface GTP tunnel protocol, UDP and IP between WA and CN can be directly carried on the OAN network, and the OAN between WA and CN The network can adopt layer-2 bridging technology (for example, Ethernet bridging), that is, AF, ONU/ONT and OLT are all layer-2 network elements; or use layer-3 routing technology between WA and CN (for example, IP layer-3 routing), That is, AF, ONU/ONT, and OLT are all three-layer network elements. the
BS+WA将GTP/UDP/IP包分割成LNK帧,然后承载在Node B和AF间物理层送往AF;AF将LNK帧转换为ONU LNK帧,然后承载在ONU/ONT和AF间物理层送往ONU/ONT;ONU/ONT将ONU/ONT LNK帧转换为适合光传输的ODN LNK帧,然后进行电光转换承载在ODN物理层,经光纤送往OLT;OLT PHY进行光电转换得到ODN LNK帧,再将ODN LNK帧转换为LNK帧送往CN做进一步处理。 BS+WA divides GTP/UDP/IP packets into LNK frames, and then carries them on the physical layer between Node B and AF and sends them to AF; AF converts LNK frames into ONU LNK frames, and then carries them on the physical layer between ONU/ONT and AF Send to ONU/ONT; ONU/ONT converts ONU/ONT LNK frame into ODN LNK frame suitable for optical transmission, and then carries out electro-optical conversion and bears it on ODN physical layer, and sends it to OLT through optical fiber; OLT PHY performs photoelectric conversion to obtain ODN LNK frame , and then convert the ODN LNK frame into an LNK frame and send it to CN for further processing. the
在CN,SGSN/SGSN-GW做Iu-D接口的传输网络层和无线网络层处理,从Iu-D接口的GTP隧道接收到数据再用GTP隧道经过Gn/Gn-D接口发送给GGSN/GGSN-GW。GGSN/GGSN-GW从Gn/Gn-D接口的GTP隧道接收到的数据就是UE的IP包或者PPP包,GGSN/GGSN-GW再以IP包或者PPP协议包的形式通过Gi接口发给外部网络;或者,IGSN/IGSN-GW做Iu-D接口的传输网络层和无线网络层处理,从Iu-D接口的GTP隧道接收到的数据就是UE的IP包或者PPP包,IGSN/IGSN-GW再以IP包或者PPP协议包的形式发给外部网络。 In CN, SGSN/SGSN-GW performs the transmission network layer and wireless network layer processing of the Iu-D interface, receives data from the GTP tunnel of the Iu-D interface and sends it to the GGSN/GGSN through the Gn/Gn-D interface through the GTP tunnel -GW. The data received by the GGSN/GGSN-GW from the GTP tunnel of the Gn/Gn-D interface is the IP packet or PPP packet of the UE, and the GGSN/GGSN-GW sends the IP packet or PPP protocol packet to the external network through the Gi interface ; Or, IGSN/IGSN-GW performs the transmission network layer and wireless network layer processing of the Iu-D interface, and the data received from the GTP tunnel of the Iu-D interface is the IP packet or PPP packet of the UE, and the IGSN/IGSN-GW then It is sent to the external network in the form of IP packets or PPP protocol packets. the
下行与上行类似,只是BS+WA中的PDCP协议负责对下行数据的报头进行压缩,而UE中的PDCP协议负责对下行数据的报头进行解压缩。 The downlink is similar to the uplink, except that the PDCP protocol in the BS+WA is responsible for compressing the header of the downlink data, while the PDCP protocol in the UE is responsible for decompressing the header of the downlink data. the
本发明该实施例的控制面信令的传输过程如下: The transmission process of the control plane signaling in this embodiment of the present invention is as follows:
上行:UE的RRC将GMM/SM/SMS消息或本层的信令消息被封装成数 据包传给RNL的RLC/MAC,RLC/MAC协议在接收到数据包处理完后,增加RLC/MAC报头后发给WCDMA物理层RFL,物理层对接收到的数据包进行编码调制等操作通过Uu接口发送到UTRAN。UTRAN中BS+WA的WCDMA物理层RFL收到数据后发送给RNL的MAC/RLC协议,MAC/RLC协议依次去除协议报头,经过重组合并,将数据发给RNL的RRC协议,RRC协议通常直接解析信令消息,进行相应处理,如连接建立、测量报告等。 Uplink: RRC of UE encapsulates GMM/SM/SMS messages or signaling messages of this layer into data packets and sends them to RLC/MAC of RNL. RLC/MAC protocol adds RLC/MAC after receiving data packets and processing them. After the header, it is sent to the WCDMA physical layer RFL, and the physical layer encodes and modulates the received data packets and sends them to UTRAN through the Uu interface. The WCDMA physical layer RFL of BS+WA in UTRAN sends the data to the MAC/RLC protocol of RNL after receiving the data. The MAC/RLC protocol removes the protocol header in turn, and after reorganization and merger, the data is sent to the RRC protocol of RNL. The RRC protocol is usually directly parsed. Signaling messages are processed accordingly, such as connection establishment, measurement reports, etc. the
但对于BS+WA之间迁移、多小区无线资源管理、系统信息广播、寻呼控制,以及RANAP/RNSAP消息的转发等功能,BS+WA的RRC将直接把相应的信令消息通过Iub-C接口无线网络层(如FP)和传输网络层(如IP/LNK/PHY)承载将处理结果通知RAN-Server的RRC层,再通过RAN-Server经Iu-C接口的无线网络层(如NANAP)和传输网络层(如SCCP/M3UA/SCTP/IP/LNK/PHY,其中M3UA/SCTP/IP即为图中的信令承载层Signaling Bearer)转交CN处理。WA与RAN-Server间的Iub-C接口的RRC、无线网络层(如FP或NBAP)和传输网络层(如IP层或信令承载层Signaling Bearer(例如SCTP/IP))可直接承载在OAN网络之上,WA与RAN-Server间OAN网络可以采用二层桥接技术(例如,以太网桥接),即AF、ONU/ONT和OLT皆为二层网元;或在WA与RAN-Server间采用三层路由技术(例如,IP三层路由),即AF、ONU/ONT和OLT皆为三层网元。 However, for functions such as migration between BS+WA, multi-cell radio resource management, system information broadcast, paging control, and forwarding of RANAP/RNSAP messages, the RRC of BS+WA will directly pass the corresponding signaling message through Iub-C The interface wireless network layer (such as FP) and transport network layer (such as IP/LNK/PHY) carry the RRC layer that notifies the processing result to the RAN-Server, and then passes the wireless network layer (such as NANAP) of the Iu-C interface through the RAN-Server And the transmission network layer (such as SCCP/M3UA/SCTP/IP/LNK/PHY, where M3UA/SCTP/IP is the signaling bearer layer Signaling Bearer in the figure) is transferred to the CN for processing. The RRC, wireless network layer (such as FP or NBAP) and transmission network layer (such as IP layer or signaling bearer layer Signaling Bearer (such as SCTP/IP)) of the Iub-C interface between WA and RAN-Server can be directly carried on the OAN On the network, the OAN network between WA and RAN-Server can adopt Layer 2 bridging technology (for example, Ethernet bridging), that is, AF, ONU/ONT and OLT are all Layer 2 network elements; or between WA and RAN-Server. Three-layer routing technology (for example, IP three-layer routing), that is, AF, ONU/ONT and OLT are all three-layer network elements. the
BS+WA将Iub-C接口的FP/IP或NBAP/SCTP/IP包分割成LNK帧,然后承载在Node B和AF间物理层送往AF;AF将LNK帧转换为ONU LNK帧,然后承载在ONU/ONT和AF间物理层送往ONU/ONT;ONU/ONT将ONU/ONT LNK帧转换为适合光传输的ODN LNK帧,然后进行电光转换承载在ODN物理层,经光纤送往OLT;OLT PHY进行光电转换得到ODNLNK帧,再将ODN LNK帧转换为LNK帧送往RAN-Server做进一步处理。RAN-Server做Iub-C接口的传输网络层和无线网络层处理,从FP中得到RRC的RNL帧,发送给RNL的MAC/RLC协议,MAC/RLC协议依次去除协议报头,经过重组合并,将数据发给RRC,RRC协议将被压缩的数据包 报头进行解压缩,得到数据包,然后通过Iu-C接口的无线网络层和传输网络层处理将数据包发往CN的网元。 BS+WA divides the FP/IP or NBAP/SCTP/IP packets of the Iub-C interface into LNK frames, and then sends them to AF at the physical layer between Node B and AF; AF converts LNK frames into ONU LNK frames, and then carries them The physical layer between ONU/ONT and AF is sent to ONU/ONT; ONU/ONT converts the ONU/ONT LNK frame into an ODN LNK frame suitable for optical transmission, and then carries out electro-optic conversion on the ODN physical layer, and sends it to the OLT through the optical fiber; OLT PHY performs photoelectric conversion to obtain ODNLNK frames, and then converts ODN LNK frames into LNK frames and sends them to RAN-Server for further processing. RAN-Server handles the transmission network layer and wireless network layer of the Iub-C interface, obtains the RNL frame of RRC from FP, and sends it to the MAC/RLC protocol of RNL. The data is sent to RRC, and the RRC protocol decompresses the compressed data packet header to obtain the data packet, and then the data packet is sent to the network element of the CN through the wireless network layer and the transmission network layer of the Iu-C interface. the
在CN,IGSN/SGSN/IGSN-Server/SGSN-Server做Iu-C接口传输网络层和无线网络层处理,从RANAP中得到GMM/SM/SMS消息。 In CN, IGSN/SGSN/IGSN-Server/SGSN-Server performs Iu-C interface transmission network layer and wireless network layer processing, and obtains GMM/SM/SMS messages from RANAP. the
类似的,UE通过相反的过程来接收核心网的信令消息和接入网的RRC信令消息。上述协议栈处理模型中,RRC层分别由RAN-Server和基站实现,这样针对RRC中功能不同,把类似于快速建立连接、快速反馈、资源调度等功能在基站中实现,而类似于一些数据管理、数据存储以及需要处理多个基站的内容放在RAN-Server中实现。 Similarly, the UE receives the signaling message of the core network and the RRC signaling message of the access network through the reverse process. In the above-mentioned protocol stack processing model, the RRC layer is implemented by the RAN-Server and the base station respectively. In view of the different functions in the RRC, functions such as fast connection establishment, fast feedback, and resource scheduling are implemented in the base station, and similar to some data management , data storage, and content that needs to deal with multiple base stations are implemented in the RAN-Server. the
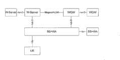
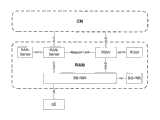
本发明的光接入网OAN与无线网络互连方法第二实施例,如图17所示,3G/2G无线通信网络的BS和WA与OAN宽带网在ODN处互连,RAN-Server和CN与OLT在OAN内的参考点v互连,属于紧耦合方案。3G/2G无线通信网络直接利用OAN的光网络资源,如:运营商已经有了FTTH的网络,WiMAX设备设在大楼直接接入ODN网。该方案BS+WA集成了ONU/ONT的功能,RAN-Server可以和OLT网元集成为一体。 The second embodiment of the interconnection method between the optical access network OAN and the wireless network of the present invention, as shown in FIG. It is interconnected with the reference point v of the OLT in the OAN, which belongs to the tight coupling scheme. The 3G/2G wireless communication network directly utilizes the optical network resources of OAN. For example, the operator already has an FTTH network, and the WiMAX equipment is installed in the building to directly connect to the ODN network. The solution BS+WA integrates the functions of ONU/ONT, and RAN-Server can be integrated with OLT network elements. the
以WCDMA为例,在UE->Node B->ONU->OLT->Core Network路径下的协议栈,用户面如图18所示,控制面如图19所示。BS、WA和RAN-Server功能分解如表1所示;Core Network包括了SGSN和GGSN;SGSN和GGSN也可以合二为一,形成新的网元IGSN;Core Network也可以按图9和图10中所示的方案。 Taking WCDMA as an example, the protocol stack under the UE->Node B->ONU->OLT->Core Network path, the user plane is shown in Figure 18, and the control plane is shown in Figure 19. The functional decomposition of BS, WA and RAN-Server is shown in Table 1; Core Network includes SGSN and GGSN; SGSN and GGSN can also be combined into one to form a new network element IGSN; Core Network can also be as shown in Figure 9 and Figure 10 scheme shown in . the
本发明方法启用了压缩/解压缩功能的用户面数据的传输过程如下: The transmission process of the user plane data with the compression/decompression function enabled by the method of the present invention is as follows:
上行:UE的应用层数据被封装成IP包或者PPP包后发给RNL的PDCP协议,PDCP协议对数据包报头进行压缩,并将压缩后的数据传给RNL的RLC/MAC,RLC/MAC协议在接收到数据包处理完后,增加RLC/MAC报头后发给WCDMA物理层RFL,物理层对接收到的数据包进行编码调制等操作通过Uu接口发送到UTRAN。UTRAN中BS+WA+ONU/ONT的WCDMA物理层RFL收到数据后发送给RNL的MAC/RLC协议,MAC/RLC协议依次去除协议报头,经过重组合并,将数据发给RNL的PDCP协议,PDCP协议将被压缩的数据包报头进行解压缩。BS+WA+ONU/ONT通过 GTP隧道将解出来的数据经过Iu-D接口转发到CN,WA与CN间的Iu-D接口GTP隧道协议、UDP和IP可直接承载在OAN网络之上,WA与CN间OAN网络可以采用二层桥接技术(例如,以太网桥接),即OLT为二层网元;或在WA与CN间采用三层路由技术(例如,IP三层路由),即OLT为三层网元。 Uplink: UE's application layer data is encapsulated into IP packets or PPP packets and sent to RNL's PDCP protocol. PDCP protocol compresses the data packet header and transmits the compressed data to RNL's RLC/MAC, RLC/MAC protocol After the received data packet is processed, the RLC/MAC header is added and then sent to the WCDMA physical layer RFL. The physical layer encodes and modulates the received data packet and sends it to UTRAN through the Uu interface. The WCDMA physical layer RFL of BS+WA+ONU/ONT in UTRAN sends the data to the MAC/RLC protocol of RNL after receiving the data. The MAC/RLC protocol removes the protocol header in turn, and after reorganization and merger, sends the data to the PDCP protocol of RNL. PDCP The protocol decompresses compressed packet headers. BS+WA+ONU/ONT forwards the decrypted data to CN through the Iu-D interface through the GTP tunnel. The Iu-D interface GTP tunnel protocol, UDP and IP between WA and CN can be directly carried on the OAN network. WA The OAN network between the CN and the CN can adopt a layer-2 bridging technology (for example, Ethernet bridging), that is, the OLT is a layer-2 network element; or a layer-3 routing technology (for example, IP layer-3 routing) is used between the WA and CN, that is, the OLT is a
BS+WA+ONU/ONT将GTP/UDP/IP包分割成适合光传输的ODNLNK帧,然后进行电光转换承载在ODN物理层,经光纤送往OLT;OLT PHY进行光电转换得到ODN LNK帧,再将ODN LNK帧转换为LNK帧送往CN做进一步处理。 BS+WA+ONU/ONT divides GTP/UDP/IP packets into ODNLNK frames suitable for optical transmission, and then carries out electro-optical conversion on ODN physical layer, and sends them to OLT through optical fiber; OLT PHY performs photoelectric conversion to obtain ODN LNK frames, and then Convert ODN LNK frame to LNK frame and send to CN for further processing. the
在CN,SGSN/SGSN-GW做Iu-D接口的传输网络层和无线网络层处理,从Iu-D接口的GTP隧道接收到数据再用GTP隧道经过Gn/Gn-D接口发送给GGSN/GGSN-GW。GGSN/GGSN-GW从Gn/Gn-D接口的GTP隧道接收到的数据就是UE的IP包或者PPP包,GGSN/GGSN-GW再以IP包或者PPP协议包的形式通过Gi接口发给外部网络;或者,IGSN/IGSN-GW做Iu-D接口的传输网络层和无线网络层处理,从Iu-D接口的GTP隧道接收到的数据就是UE的IP包或者PPP包,IGSN/IGSN-GW再以IP包或者PPP协议包的形式发给外部网络。 In CN, SGSN/SGSN-GW performs the transmission network layer and wireless network layer processing of the Iu-D interface, receives data from the GTP tunnel of the Iu-D interface and sends it to the GGSN/GGSN through the Gn/Gn-D interface through the GTP tunnel -GW. The data received by the GGSN/GGSN-GW from the GTP tunnel of the Gn/Gn-D interface is the IP packet or PPP packet of the UE, and the GGSN/GGSN-GW sends the IP packet or PPP protocol packet to the external network through the Gi interface ; Or, IGSN/IGSN-GW performs the transmission network layer and wireless network layer processing of the Iu-D interface, and the data received from the GTP tunnel of the Iu-D interface is the IP packet or PPP packet of the UE, and the IGSN/IGSN-GW then It is sent to the external network in the form of IP packets or PPP protocol packets. the
下行与上行类似,只是BS+WA+ONU/ONT中的PDCP协议负责对下行数据的报头进行压缩,而UE中的PDCP协议负责对下行数据的报头进行解压缩。 Downlink is similar to uplink, except that the PDCP protocol in BS+WA+ONU/ONT is responsible for compressing the header of downlink data, while the PDCP protocol in UE is responsible for decompressing the header of downlink data. the
本发明另一实施例中的控制面信令的传输过程如图19所示的包括: The transmission process of the control plane signaling in another embodiment of the present invention, as shown in Figure 19, includes:
上行:UE的RRC将GMM/SM/SMS消息或本层的信令消息被封装成数据包传给RNL的RLC/MAC,RLC/MAC协议在接收到数据包处理完后,增加RLC/MAC报头后发给WCDMA物理层RFL,物理层对接收到的数据包进行编码调制等操作通过Uu接口发送到UTRAN。UTRAN中BS+WA+ONU/ONT的WCDMA物理层RFL收到数据后发送给RNL的MAC/RLC协议,MAC/RLC协议依次去除协议报头,经过重组合并,将数据发给RNL的RRC协议,RRC协议通常直接解析信令消息,进行相应处理,如连接建立、测量报告等。但对于BS+WA+ONU/ONT之间迁移、多小区无线 资源管理、系统信息广播、寻呼控制,以及现RANAP/RNSAP消息的转发等功能,BS+WA+ONU/ONT的RRC将直接把相应的信令消息通过Iub-C接口无线网络层(如FP)和传输网络层(如IP/LNK/PHY)承载将处理结果通知RAN-Server的RRC层,再通过RAN-Server经Iu-C接口的无线网络层(如NANAP)和传输网络层(如SCCP/M3UA/SCTP/IP/LNK/PHY,其中M3UA/SCTP/IP即为图中的信令承载层Signaling Bearer)转交CN处理。WA与RAN-Server间的Iub-C接口的RRC、无线网络层(如FP或NBAP)和传输网络层(如IP层或信令承载层Signaling Bearer(例如SCTP/IP))可直接承载在OAN网络之上,WA与RAN-Server间OAN网络可以采用二层桥接技术(例如,以太网桥接),即OLT为二层网元;或在WA与RAN-Server间采用三层路由技术(例如,IP三层路由),即OLT为三层网元。 Uplink: UE's RRC encapsulates GMM/SM/SMS messages or signaling messages of this layer into data packets and sends them to RNL's RLC/MAC. After the RLC/MAC protocol receives and processes the data packets, it adds the RLC/MAC header Afterwards, it is sent to the WCDMA physical layer RFL, and the physical layer encodes and modulates the received data packets and sends them to UTRAN through the Uu interface. The WCDMA physical layer RFL of BS+WA+ONU/ONT in UTRAN sends the data to the MAC/RLC protocol of RNL after receiving the data. The MAC/RLC protocol removes the protocol header in turn, and after reorganization and merger, the data is sent to the RRC protocol of RNL. RRC The protocol usually directly parses the signaling message and performs corresponding processing, such as connection establishment and measurement report. However, for functions such as migration between BS+WA+ONU/ONT, multi-cell radio resource management, system information broadcast, paging control, and forwarding of existing RANAP/RNSAP messages, the RRC of BS+WA+ONU/ONT will directly The corresponding signaling message is carried by the wireless network layer (such as FP) and the transmission network layer (such as IP/LNK/PHY) of the Iub-C interface to notify the RRC layer of the RAN-Server of the processing result, and then through the RAN-Server through the Iu-C The wireless network layer (such as NANAP) and transmission network layer (such as SCCP/M3UA/SCTP/IP/LNK/PHY, where M3UA/SCTP/IP is the Signaling Bearer in the figure) of the interface are transferred to the CN for processing. The RRC, wireless network layer (such as FP or NBAP) and transmission network layer (such as IP layer or signaling bearer layer Signaling Bearer (such as SCTP/IP)) of the Iub-C interface between WA and RAN-Server can be directly carried on the OAN On the network, the OAN network between WA and RAN-Server can adopt Layer 2 bridging technology (for example, Ethernet bridging), that is, OLT is a Layer 2 network element; or
BS+WA将Iub-C接口的FP/IP或NBAP/SCTP/IP包分割成适合光传输的ODN LNK帧,然后进行电光转换承载在ODN物理层,经光纤送往OLT;OLT PHY进行光电转换得到ODN LNK帧,再将ODN LNK帧转换为LNK帧送往RAN-Server做进一步处理。RAN-Server做Iub-C接口的传输网络层和无线网络层处理,从FP中得到RRC的RNL帧,发送给RNL的MAC/RLC协议,MAC/RLC协议依次去除协议报头,经过重组合并,将数据发给RRC,RRC协议将被压缩的数据包报头进行解压缩,得到数据包,然后通过Iu-C接口的无线网络层和传输网络层处理将数据包发往CN的网元。 BS+WA divides the FP/IP or NBAP/SCTP/IP packets of the Iub-C interface into ODN LNK frames suitable for optical transmission, and then carries out electro-optical conversion on the ODN physical layer, and sends them to the OLT through optical fibers; OLT PHY performs photoelectric conversion Get the ODN LNK frame, then convert the ODN LNK frame into an LNK frame and send it to the RAN-Server for further processing. RAN-Server handles the transmission network layer and wireless network layer of the Iub-C interface, obtains the RNL frame of RRC from FP, and sends it to the MAC/RLC protocol of RNL. The data is sent to RRC, and the RRC protocol decompresses the compressed data packet header to obtain the data packet, and then the data packet is sent to the network element of the CN through the wireless network layer and the transmission network layer of the Iu-C interface. the
在CN,IGSN/SGSN/IGSN-Server/SGSN-Server做Iu-C接口传输网络层和无线网络层处理,从RANAP中得到GMM/SM/SMS消息。 In CN, IGSN/SGSN/IGSN-Server/SGSN-Server performs Iu-C interface transmission network layer and wireless network layer processing, and obtains GMM/SM/SMS messages from RANAP. the
类似的,UE通过相反的过程来接收核心网的信令消息和接入网的RRC信令消息。 Similarly, the UE receives the signaling message of the core network and the RRC signaling message of the access network through the reverse process. the
本发明的另一实施例中,为了通过无线网络层下移实现网络互连,将无线接入网络RAN做功能分解,定义功能单元包括:基站BS、无线适配器(WA,Wireless Adaptor)、无线接入网服务器(RAN-Server)和无线网关(RGW,Radio Gateway),其功能划分如下: In another embodiment of the present invention, in order to realize network interconnection by moving down the wireless network layer, the wireless access network RAN is decomposed into functions, and the defined functional units include: base station BS, wireless adapter (WA, Wireless Adapter), wireless access network Network access server (RAN-Server) and wireless gateway (RGW, Radio Gateway), its functions are divided as follows:
对于WCDMA/GPRS/TD-SCDMA网络的无线接入网络RAN,BS、WA、RAN-Server和RGW功能分解如表1所示,WA功能可以下移到所述基站BS。 For the radio access network RAN of the WCDMA/GPRS/TD-SCDMA network, the functional decomposition of BS, WA, RAN-Server and RGW is shown in Table 1, and the WA function can be moved down to the base station BS. the
表2BS、WA和RGW功能分解 Table 2 Functional breakdown of BS, WA and RGW
基于如表2所示的BS、WA、RAN-Server和RGW功能分解的网络,对现有技术的基站控制器(如RNC)进行控制与承载的功能分离,功能被分解为三个网元——无线接入网服务器RAN-Server、无线网关RGW和基站加无线适配器BS+WA,将原有无线接口协议(如RNL协议栈的部分RRC、PDCP/BMC/RLC/MAC等)下移到基站(如Node B)的WA,而RGW的主要功能是新架构和传统架构的CN/RNC网元之间适配,RAN-Server的主要功能是提供BS+WA之间迁移、多小区无线资源管理、系统信息广播、寻呼控制,以及现RANAP/RNSAP消息的转发等功能,另外,RAN-Server还包含有线接入和无线接入间的切换控制的功能,用于支持有线接入和无线接入间相互切换的控制。BS+WA和RGW之间采用多对多的连接关系,RAN-Server和RGW之间采用一对多或多对多的连接关系。 Based on the decomposed network of BS, WA, RAN-Server and RGW functions shown in Table 2, the base station controller (such as RNC) in the prior art is separated from the control and bearer functions, and the functions are decomposed into three network elements— ——Radio access network server RAN-Server, wireless gateway RGW and base station plus wireless adapter BS+WA, move the original wireless interface protocol (such as part of RRC, PDCP/BMC/RLC/MAC, etc. of RNL protocol stack) to the base station (such as Node B) WA, and the main function of RGW is the adaptation between CN/RNC network elements of the new architecture and the traditional architecture, and the main function of RAN-Server is to provide migration between BS+WA and multi-cell radio resource management , system information broadcast, paging control, and forwarding of existing RANAP/RNSAP messages. In addition, RAN-Server also includes the function of switching control between wired access and wireless access to support wired access and wireless access. The control of switching between input. A many-to-many connection relationship is adopted between the BS+WA and the RGW, and a one-to-many or many-to-many connection relationship is adopted between the RAN-Server and the RGW. the
本发明系统的无线网络架构如图20所示,用户设备UE网元与BS+WA网元间的接口采用原UE和UTRAN接口Uu,Node B和RNC间的Iub接口不再存在;BS+WA网元与RGW间的接口Iub-D采用原RNC与SGSN间的接口Iu的用户面;BS+WA网元与RAN-Server间采用新定义的接口Iub-C;RAN-Server与RGW间的接口采用IETF的Megaco或ITU-T的H.248,也可以采用全新的协议栈,RAN-Server通过Megaco/H.248对RGW进行管理;RGW与CN间的接口Iu-D采用原RNC与SGSN间的接口Iu的用户面;RAN-Server与CN间的接口Iu-C采用原RNC与SGSN间的接口Iu的控制面;RAN-Server间采用原RNC间的Iur接口的控制面;RGW间采用原RNC间的Iur接口的用户面;另外所增加的BS+WA网元间接口采用原RNC间的接口Iur。无线接口功能下移的增强型移动网络接口定义及其协议栈如图21所示。 The wireless network architecture of the system of the present invention is shown in Figure 20. The interface between the user equipment UE network element and the BS+WA network element adopts the original UE and UTRAN interface Uu, and the Iub interface between Node B and RNC no longer exists; BS+WA The interface Iub-D between the network element and the RGW adopts the user plane of the interface Iu between the original RNC and the SGSN; the newly defined interface Iub-C is adopted between the BS+WA network element and the RAN-Server; the interface between the RAN-Server and the RGW IETF's Megaco or ITU-T's H.248 can also be used with a new protocol stack. RAN-Server manages RGW through Megaco/H.248; the interface Iu-D between RGW and CN adopts the original RNC and SGSN The interface Iu between the RAN-Server and the CN uses the control plane of the interface Iu between the original RNC and the SGSN; the RAN-Server uses the control plane of the Iur interface between the original RNCs; the RGW uses the original The user plane of the Iur interface between RNCs; in addition, the added interface between BS+WA network elements adopts the original Iur interface between RNCs. Figure 21 shows the enhanced mobile network interface definition and its protocol stack with wireless interface functions downshifted. the
本发明系统和方法进一步对核心网络PS域做控制与承载分离功能分解,一种功能分解方式是定义功能单元:服务GPRS支持节点服务器SGSN-Server、服务GPRS支持节点网关SGSN-GW、网关GPRS支持节点服务器GGSN-Server和网关GPRS支持节点网关GGSN-GW。SGSN-Server包含原SGSN的控制面功能,实现移动性管理,连接管理,会话管理等SGSN控制面功能,SGSN-GW包含原SGSN的用户面功能,GGSN-Server 包含原GGSN的控制面功能,GGSN-GW包含原GGSN的用户面功能。 The system and method of the present invention further decompose the control and bearer separation functions of the PS domain of the core network. A functional decomposition method is to define functional units: serving GPRS support node server SGSN-Server, serving GPRS support node gateway SGSN-GW, and gateway GPRS support The node server GGSN-Server and the gateway GPRS support the node gateway GGSN-GW. SGSN-Server includes the control plane functions of the original SGSN, and implements SGSN control plane functions such as mobility management, connection management, and session management. SGSN-GW includes the user plane functions of the original SGSN. GGSN-Server includes the control plane functions of the original GGSN. GGSN -GW includes the user plane function of the original GGSN. the
本发明系统的第一实施例无线网络架构如图22所示。其中,RAN同图20的RAN;在核心网络CN中,SGSN-GW与RGW间的接口Iu-D采用原RNC与SGSN间的接口Iu的用户面;SGSN-Server与RAN-Server间的接口Iu-C采用原RNC与SGSN间的接口Iu的控制面;SGSN-GW与GGSN-GW间的接口Gn-D采用原GGSN与SGSN间的接口Gn的用户面;SGSN-Server与GGSN-Server间的接口Gn-C采用原GGSN与SGSN间的接口Gn的控制面;SGSN-Server与SGSN-GW间的接口采用IETF的Megaco或ITU-T的H.248,也可以采用全新的协议栈,SGSN-Server通过Megaco/H.248对SGSN-GW进行管理;GGSN-Server与GGSN-GW间的接口采用IETF的Megaco或ITU-T的H.248,也可以采用全新的协议栈,GGSN-Server通过Megaco/H.248对GGSN-GW进行管理。 The wireless network architecture of the first embodiment of the system of the present invention is shown in FIG. 22 . Among them, the RAN is the same as the RAN in Figure 20; in the core network CN, the interface Iu-D between the SGSN-GW and the RGW adopts the user plane of the interface Iu between the original RNC and the SGSN; the interface Iu between the SGSN-Server and the RAN-Server -C adopts the control plane of the interface Iu between the original RNC and the SGSN; the interface Gn-D between the SGSN-GW and the GGSN-GW adopts the user plane of the interface Gn between the original GGSN and the SGSN; the interface between the SGSN-Server and the GGSN-Server The interface Gn-C adopts the control plane of the interface Gn between the original GGSN and SGSN; the interface between the SGSN-Server and SGSN-GW adopts Megaco of IETF or H.248 of ITU-T, or a new protocol stack, SGSN- Server manages SGSN-GW through Megaco/H.248; the interface between GGSN-Server and GGSN-GW adopts Megaco of IETF or H.248 of ITU-T, or adopts a new protocol stack. GGSN-Server uses Megaco /H.248 manages the GGSN-GW. the
本发明的实施例中,CN PS域功能分解方式是定义功能单元:综合GPRS支持节点服务器IGSN-Server和综合GPRS支持节点网关IGSN-GW。IGSN-Server包含原SGSN和GGSN的控制面功能,IGSN-GW包含原SGSN和GGSN的用户面功能。 In the embodiment of the present invention, the CNPS domain function decomposition method is to define functional units: integrated GPRS support node server IGSN-Server and integrated GPRS support node gateway IGSN-GW. The IGSN-Server includes the control plane functions of the original SGSN and GGSN, and the IGSN-GW includes the user plane functions of the original SGSN and GGSN. the
与此相应,本发明实施例中新的无线网络架构如图23所示。其中,RAN同图20的RAN;本发明的另一种CN PS域功能分解方式是定义功能单元:综合GPRS支持节点服务器IGSN-Server和综合GPRS支持节点网关IGSN-GW。IGSN-Server包含原SGSN和GGSN的控制面功能,IGSN-GW包含原SGSN和GGSN的用户面功能。 Correspondingly, the new wireless network architecture in the embodiment of the present invention is shown in FIG. 23 . Wherein, the RAN is the same as the RAN in FIG. 20; another CNPS domain functional decomposition method of the present invention is to define functional units: an integrated GPRS support node server IGSN-Server and an integrated GPRS support node gateway IGSN-GW. The IGSN-Server includes the control plane functions of the original SGSN and GGSN, and the IGSN-GW includes the user plane functions of the original SGSN and GGSN. the
本发明实施例中新的无线网络架构如图24所示,其中,RAN-Server和IGSN-Server整合为一个网元,称为无线服务器W-Server(Wireless-Server),包含原RNC、SGSN和GGSN的控制面功能;RGW和IGSN-GW整合为一个网元,称为移动网关WGW(Wireless Gateway),包含原RNC、SGSN和GGSN的用户面功能。BS网元与WGW间的接口Iub-D采用原RNC与SGSN间的接口Iu的用户面;BS网元与W-Server间采用新定义的接口Iub-C;W-Server与WGW间的接口采用IETF的Megaco或ITU-T的H.248,也可以采用全新的协议栈,W-Server通过Megaco/H.248对WGW 进行管理;W-Server间采用原RNC间的Iur接口的控制面;WGW间采用原RNC间的Iur接口的用户面;另外所增加的BS网元间接口采用原RNC间的接口Iur。 The new wireless network architecture in the embodiment of the present invention is shown in Figure 24, wherein the RAN-Server and IGSN-Server are integrated into one network element, called the wireless server W-Server (Wireless-Server), including the original RNC, SGSN and The control plane function of GGSN; RGW and IGSN-GW are integrated into one network element, called mobile gateway WGW (Wireless Gateway), which includes the user plane functions of the original RNC, SGSN and GGSN. The interface Iub-D between the BS network element and the WGW adopts the user plane of the interface Iu between the original RNC and the SGSN; the newly defined interface Iub-C is used between the BS network element and the W-Server; the interface between the W-Server and the WGW adopts IETF's Megaco or ITU-T's H.248 can also adopt a new protocol stack, W-Server manages WGW through Megaco/H.248; W-Server uses the control plane of the original Iur interface between RNCs; WGW The user plane of the Iur interface between the original RNCs is used between them; in addition, the interface between the added BS network elements adopts the Iur interface between the original RNCs. the
本发明方法的光接入网OAN与无线网络互连第一实施例如图25、26所示,3G/2G无线通信网络BS和WA通过AF与OAN在OAN内的参考点(a)互连,3G/2G无线通信网络RGW或WRW与OLT在参考点v互连。该方案可以使3G/2G接入网的建设尽量利用原OAN已布设的资源,如:运营商已经有了FTTB/FTTC的网络,3G/2G无线通信网络设备设在大楼直接利用大楼的铜线资源,通过ONU接入OAN网,从而减少了无线通信网络的额外布线。从而降低3G/2G接入网的建设成本,属于紧耦合方案。 The first embodiment of the interconnection between the optical access network OAN and the wireless network of the method of the present invention is shown in Figures 25 and 26, the 3G/2G wireless communication network BS and WA are interconnected with the reference point (a) of the OAN in the OAN through the AF, The 3G/2G wireless communication network RGW or WRW is interconnected with the OLT at a reference point v. This solution can make the construction of 3G/2G access network use the resources already deployed by the original OAN as much as possible. For example, the operator already has a FTTB/FTTC network, and the 3G/2G wireless communication network equipment is installed in the building and directly uses the copper wire of the building. Resources are connected to the OAN network through the ONU, thereby reducing the extra wiring of the wireless communication network. Thereby reducing the construction cost of the 3G/2G access network, which belongs to the tightly coupled scheme. the
本发明的该方案BS和WA网元集成、BS+WA集成网元和AF可以网元分离,以参考点T互连;或BS、WA和AF网元集成为一体;RGW可以和OLT网元集成为一体。 In the solution of the present invention, BS and WA network elements are integrated, BS+WA integrated network elements and AF can be separated and interconnected with a reference point T; or BS, WA and AF network elements can be integrated into one; RGW can be integrated with OLT network elements All in one. the
以WCDMA为例,在UE->Node B->ONU->OLT->Core Network路径下的协议栈,用户面如图27-29所示,控制面如图30-32所示。BS、WA、RAN-Server和RGW功能分解如表1所示;Core Network包括了SGSN和GGSN;SGSN和GGSN也可以合二为一,形成新的网元IGSN;CoreNetwork也可以按图22和图23的方案。 Taking WCDMA as an example, the protocol stack under the UE->Node B->ONU->OLT->Core Network path, the user plane is shown in Figure 27-29, and the control plane is shown in Figure 30-32. The functional decomposition of BS, WA, RAN-Server and RGW is shown in Table 1; Core Network includes SGSN and GGSN; SGSN and GGSN can also be combined into one to form a new network element IGSN; CoreNetwork can also be as shown in Figure 22 and Figure 22. 23 programs. the
基于上述协议栈结构,用户设备UE在数据通信时首先通过控制面协议栈建立无线资源控制RRC连接,在和核心网协商后开始进行无线接入承载RAB的建立,RAB的建立过程伴随着用户面承载RB的建立,RAB建立成功后,用户就可以通过已经建立好的用户面承载传送数据了。PDCP的压缩/解压缩功能可以启用,也可以不启用。信令建立流程是在UE与UTRAN之间的RRC连接建立成功后,UE通过RNC建立与CN的信令连接,也叫“NAS信令建立流程”,用于UE与CN的信令交互NAS信息,如鉴权、业务请求、连接建立等。 Based on the above protocol stack structure, the user equipment UE first establishes a radio resource control RRC connection through the control plane protocol stack during data communication, and starts to establish a radio access bearer RAB after negotiating with the core network. The bearer RB is established. After the RAB is successfully established, the user can transmit data through the established user plane bearer. The compression/decompression function of PDCP can be enabled or disabled. The signaling establishment process is that after the RRC connection between the UE and UTRAN is successfully established, the UE establishes a signaling connection with the CN through the RNC, also called "NAS signaling establishment process", which is used for the signaling exchange of NAS information between the UE and the CN. , such as authentication, service request, connection establishment, etc. the
本发明实施例中启用了压缩/解压缩功能的用户面数据的传输过程如下: In the embodiment of the present invention, the transmission process of the user plane data with the compression/decompression function enabled is as follows:
上行:UE的应用层数据被封装成IP包或者PPP包后发给RNL的PDCP 协议,PDCP协议对数据包报头进行压缩,并将压缩后的数据传给无线网络层RNL的RLC/MAC,RLC/MAC协议在接收到数据包处理完后,增加RLC/MAC报头后发给WCDMA物理层,物理层对接收到的数据包进行编码调制等操作通过Uu接口发送到UTRAN。 Uplink: UE's application layer data is encapsulated into IP packets or PPP packets and sent to RNL's PDCP protocol. PDCP protocol compresses the data packet header and transmits the compressed data to RLC/MAC, RLC of RNL in the wireless network layer After the /MAC protocol receives and processes the data packet, it adds the RLC/MAC header and sends it to the WCDMA physical layer. The physical layer encodes and modulates the received data packet and sends it to UTRAN through the Uu interface. the
UTRAN中BS+WA的WCDMA物理层RFL收到数据后发送给RNL的MAC/RLC协议,MAC/RLC协议依次去除协议报头,经过重组合并,将数据发给RNL的PDCP协议,PDCP协议将被压缩的数据包报头进行解压缩。BS+WA通过GTP隧道将解出来的数据经过Iub-D接口通过RGW转发到CN,WA与RGW间的Iu-D接口GTP隧道协议、UDP和IP可直接承载在OAN网络之上,WA与RGW间OAN网络可以采用二层桥接技术(例如,以太网桥接),即AF、ONU/ONT和OLT皆为二层网元;或在WA与RGW间采用三层路由技术(例如,IP三层路由),即AF、ONU/ONT和OLT皆为三层网元。 The WCDMA physical layer RFL of BS+WA in UTRAN sends the data to the MAC/RLC protocol of RNL after receiving the data. The MAC/RLC protocol removes the protocol header in turn, and after reorganization and merger, the data is sent to the PDCP protocol of RNL. The PDCP protocol will be compressed The header of the packet is decompressed. BS+WA forwards the decrypted data to CN through the Iub-D interface through the RGW through the GTP tunnel. The Iu-D interface GTP tunnel protocol, UDP and IP between WA and RGW can be directly carried on the OAN network. WA and RGW The inter-OAN network can use layer-2 bridging technology (for example, Ethernet bridging), that is, AF, ONU/ONT and OLT are all layer-2 network elements; or use layer-3 routing technology between WA and RGW (for example, IP layer-3 routing ), that is, AF, ONU/ONT and OLT are all three-layer network elements. the
BS+WA将GTP/UDP/IP包分割成LNK帧,然后承载在Node B和AF间物理层送往AF;AF将LNK帧转换为ONU LNK帧,然后承载在ONU/ONT和AF间物理层送往ONU/ONT;ONU/ONT将ONU/ONT LNK帧转换为适合光传输的ODN LNK帧,然后进行电光转换承载在ODN物理层,经光纤送往OLT;OLT PHY进行光电转换得到ODN LNK帧,再将ODN LNK帧转换为LNK帧送往RGW做进一步处理。RGW从Iub-D接口GTP隧道接收到数据,然后做Iu-D接口的无线网络层和传输网络层处理,通过GTP隧道将数据包发往CN的网元。 BS+WA divides GTP/UDP/IP packets into LNK frames, and then carries them on the physical layer between Node B and AF and sends them to AF; AF converts LNK frames into ONU LNK frames, and then carries them on the physical layer between ONU/ONT and AF Send to ONU/ONT; ONU/ONT converts ONU/ONT LNK frame into ODN LNK frame suitable for optical transmission, and then carries out electro-optical conversion and bears it on ODN physical layer, and sends it to OLT through optical fiber; OLT PHY performs photoelectric conversion to obtain ODN LNK frame , and then convert the ODN LNK frame into an LNK frame and send it to the RGW for further processing. The RGW receives data from the GTP tunnel of the Iub-D interface, and then processes the wireless network layer and the transmission network layer of the Iu-D interface, and sends the data packet to the network element of the CN through the GTP tunnel. the
在CN,SGSN/SGSN-GW做Iu-D接口的传输网络层和无线网络层处理,从Iu-D接口的GTP隧道接收到数据再用GTP隧道经过Gn/Gn-D接口发送给GGSN/GGSN-GW。GGSN/GGSN-GW从Gn/Gn-D接口的GTP隧道接收到的数据就是UE的IP包或者PPP包,GGSN/GGSN-GW再以IP包或者PPP协议包的形式通过Gi接口发给外部网络;或者,IGSN/IGSN-GW做Iu-D接口的传输网络层和无线网络层处理,从Iu-D接口的GTP隧道接收到的数据就是UE的IP包或者PPP包,IGSN/IGSN-GW再以IP包或者PPP协议包的形式发给外部网络。 In CN, SGSN/SGSN-GW performs the transmission network layer and wireless network layer processing of the Iu-D interface, receives data from the GTP tunnel of the Iu-D interface and sends it to the GGSN/GGSN through the Gn/Gn-D interface through the GTP tunnel -GW. The data received by the GGSN/GGSN-GW from the GTP tunnel of the Gn/Gn-D interface is the IP packet or PPP packet of the UE, and the GGSN/GGSN-GW sends the IP packet or PPP protocol packet to the external network through the Gi interface ; Or, IGSN/IGSN-GW performs the transmission network layer and wireless network layer processing of the Iu-D interface, and the data received from the GTP tunnel of the Iu-D interface is the IP packet or PPP packet of the UE, and the IGSN/IGSN-GW then It is sent to the external network in the form of IP packets or PPP protocol packets. the
下行与上行类似,只是BS+WA中的PDCP协议负责对下行数据的报头进行压缩,而UE中的PDCP协议负责对下行数据的报头进行解压缩。 The downlink is similar to the uplink, except that the PDCP protocol in the BS+WA is responsible for compressing the header of the downlink data, while the PDCP protocol in the UE is responsible for decompressing the header of the downlink data. the
本发明实施例中控制面信令的传输过程包括: The transmission process of the control plane signaling in the embodiment of the present invention includes:
上行:UE的RRC将GMM/SM/SMS消息或本层的信令消息被封装成数据包传给RNL的RLC/MAC,RLC/MAC协议在接收到数据包处理完后,增加RLC/MAC报头后发给WCDMA物理层RFL,物理层对接收到的数据包进行编码调制等操作通过Uu接口发送到UTRAN。UTRAN中BS+WA的WCDMA物理层RFL收到数据后发送给RNL的MAC/RLC协议,MAC/RLC协议依次去除协议报头,经过重组合并,将数据发给RNL的RRC协议,RRC协议通常直接解析信令消息,进行相应处理,如连接建立、测量报告等。 Uplink: UE's RRC encapsulates GMM/SM/SMS messages or signaling messages of this layer into data packets and sends them to RNL's RLC/MAC. After the RLC/MAC protocol receives and processes the data packets, it adds the RLC/MAC header Afterwards, it is sent to the WCDMA physical layer RFL, and the physical layer encodes and modulates the received data packets and sends them to UTRAN through the Uu interface. The WCDMA physical layer RFL of BS+WA in UTRAN sends the data to the MAC/RLC protocol of RNL after receiving the data. The MAC/RLC protocol removes the protocol header in turn, and after reorganization and merger, the data is sent to the RRC protocol of RNL. The RRC protocol is usually directly parsed. Signaling messages are processed accordingly, such as connection establishment, measurement reports, etc. the
但对于BS+WA之间迁移、多小区无线资源管理、系统信息广播、寻呼控制,以及现RANAP/RNSAP消息的转发等功能,BS+WA的RRC将直接把相应的信令消息通过Iub-C接口无线网络层(如FP)和传输网络层(如IP/LNK/PHY)承载将处理结果通知RAN-Server的RRC层,再通过RAN-Server经Iu-C接口的无线网络层(如NANAP)和传输网络层(如SCCP/M3UA/SCTP/IP/LNK/PHY,其中M3UA/SCTP/IP即为图中的信令承载层Signaling Bearer)转交CN处理。 However, for functions such as migration between BS+WA, multi-cell radio resource management, system information broadcast, paging control, and forwarding of existing RANAP/RNSAP messages, the RRC of BS+WA will directly pass the corresponding signaling message through Iub- The C interface wireless network layer (such as FP) and the transport network layer (such as IP/LNK/PHY) carry the RRC layer that notifies the RAN-Server of the processing result, and then passes the RAN-Server through the wireless network layer of the Iu-C interface (such as NANAP ) and the transport network layer (such as SCCP/M3UA/SCTP/IP/LNK/PHY, where M3UA/SCTP/IP is the signaling bearer layer Signaling Bearer in the figure) are forwarded to CN for processing. the
WA与RAN-Server间的Iub-C接口的RRC、无线网络层(如FP或NBAP)和传输网络层(如IP层或信令承载层Signaling Bearer(例如SCTP/IP))可直接承载在OAN网络之上,WA与RAN-Server间OAN网络可以采用二层桥接技术(例如,以太网桥接),即AF、ONU/ONT和OLT皆为二层网元;或在WA与RAN-Server间采用三层路由技术(例如,IP三层路由),即AF、ONU/ONT和OLT皆为三层网元。 The RRC, wireless network layer (such as FP or NBAP) and transmission network layer (such as IP layer or signaling bearer layer Signaling Bearer (such as SCTP/IP)) of the Iub-C interface between WA and RAN-Server can be directly carried on the OAN On the network, the OAN network between WA and RAN-Server can adopt Layer 2 bridging technology (for example, Ethernet bridging), that is, AF, ONU/ONT and OLT are all Layer 2 network elements; or between WA and RAN-Server. Three-layer routing technology (for example, IP three-layer routing), that is, AF, ONU/ONT and OLT are all three-layer network elements. the
BS+WA将Iub-C接口的FP/IP或NBAP/SCTP/IP包分割成LNK帧,然后承载在Node B和AF间物理层送往AF;AF将LNK帧转换为ONU LNK帧,然后承载在ONU/ONT和AF间物理层送往ONU/ONT;ONU/ONT将ONU/ONT LNK帧转换为适合光传输的ODN LNK帧,然后进行电光转换承载在ODN物理层,经光纤送往OLT;OLT PHY进行光电转换得到ODN LNK帧,再将ODN LNK帧转换为LNK帧送往RAN-Server做进一步处理。RAN-Server做Iub-C接口的传输网络层和无线网络层处理,从FP中得到RRC的RNL帧,发送给RNL的MAC/RLC协议,MAC/RLC协议依次去除协议报头,经过重组合并,将数据发给RRC,RRC协议将被压缩的数据包报头进行解压缩,得到数据包,然后通过Iu-C接口的无线网络层和传输网络层处理将数据包发往CN的网元。 BS+WA divides the FP/IP or NBAP/SCTP/IP packets of the Iub-C interface into LNK frames, and then sends them to AF at the physical layer between Node B and AF; AF converts LNK frames into ONU LNK frames, and then carries them The physical layer between ONU/ONT and AF is sent to ONU/ONT; ONU/ONT converts the ONU/ONT LNK frame into an ODN LNK frame suitable for optical transmission, and then carries out electro-optic conversion on the ODN physical layer, and sends it to the OLT through the optical fiber; OLT PHY performs photoelectric conversion to obtain ODN LNK frames, and then converts ODN LNK frames into LNK frames and sends them to RAN-Server for further processing. RAN-Server handles the transmission network layer and wireless network layer of the Iub-C interface, obtains the RNL frame of RRC from FP, and sends it to the MAC/RLC protocol of RNL. The data is sent to RRC, and the RRC protocol decompresses the compressed data packet header to obtain the data packet, and then the data packet is sent to the network element of the CN through the wireless network layer and the transmission network layer of the Iu-C interface. the
在CN,IGSN/SGSN/IGSN-Server/SGSN-Server做Iu-C接口传输网络层和无线网络层处理,从RANAP中得到GMM/SM/SMS消息。类似的,UE通过相反的过程来接收核心网的信令消息和接入网的RRC信令消息。 In CN, IGSN/SGSN/IGSN-Server/SGSN-Server performs Iu-C interface transmission network layer and wireless network layer processing, and obtains GMM/SM/SMS messages from RANAP. Similarly, the UE receives the signaling message of the core network and the RRC signaling message of the access network through the reverse process. the
上述协议栈处理模型中,RRC层分别由RAN-Server和基站实现,这样针对RRC中功能不同,把类似于快速建立连接、快速反馈、资源调度等功能在基站中实现,而类似于一些数据管理、数据存储以及需要处理多个基站的内容放在RAN-Server中实现。 In the above-mentioned protocol stack processing model, the RRC layer is implemented by the RAN-Server and the base station respectively. In view of the different functions in the RRC, functions such as fast connection establishment, fast feedback, and resource scheduling are implemented in the base station, and similar to some data management , data storage, and content that needs to deal with multiple base stations are implemented in the RAN-Server. the
本发明实施例中,如图33-34所示,3G/2G无线通信网络的BS和WA与OAN宽带网在ODN处互连,3G/2G无线通信网络RGW或WRW与OLT在参考点v互连,属于松耦合方案。3G/2G无线通信网络直接利用OAN的光网络资源,如:运营商已经有了FTTH的网络,WiMAX设备设在大楼直接接入ODN网。 In the embodiment of the present invention, as shown in Figures 33-34, the BS and WA of the 3G/2G wireless communication network and the OAN broadband network are interconnected at the ODN, and the 3G/2G wireless communication network RGW or WRW and the OLT are interconnected at the reference point v Even, it belongs to the loose coupling scheme. The 3G/2G wireless communication network directly utilizes the optical network resources of OAN. For example, the operator already has an FTTH network, and the WiMAX equipment is installed in the building to directly connect to the ODN network. the
该方案BS+WA集成了ONU/ONT的功能。RGW或WGW可以和OLT网元集成为一体。 The solution BS+WA integrates the functions of ONU/ONT. The RGW or WGW can be integrated with the OLT network element. the
以WCDMA为例,在UE->Node B->ONU->OLT->Core Network路径下的协议栈,用户面如图35所示,控制面如图36所示。BS、WA、RAN-Server和RGW功能分解如表1所示;Core Network包括了SGSN和GGSN;SGSN和GGSN也可以合二为一,形成新的网元IGSN;Core Network也可以按图22和图23的方案。 Taking WCDMA as an example, the protocol stack under the UE->Node B->ONU->OLT->Core Network path, the user plane is shown in Figure 35, and the control plane is shown in Figure 36. The functional decomposition of BS, WA, RAN-Server and RGW is shown in Table 1; Core Network includes SGSN and GGSN; SGSN and GGSN can also be combined into one to form a new network element IGSN; Core Network can also be as shown in Figure 22 and Scheme of Figure 23. the
本发明实施例中启用了压缩/解压缩功能的用户面数据的传输过程如下: In the embodiment of the present invention, the transmission process of the user plane data with the compression/decompression function enabled is as follows:
上行:UE的应用层数据被封装成IP包或者PPP包后发给RNL的PDCP协议,PDCP协议对数据包报头进行压缩,并将压缩后的数据传给RNL的 RLC/MAC,RLC/MAC协议在接收到数据包处理完后,增加RLC/MAC报头后发给WCDMA物理层RFL,物理层对接收到的数据包进行编码调制等操作通过Uu接口发送到UTRAN。 Uplink: UE's application layer data is encapsulated into IP packets or PPP packets and sent to RNL's PDCP protocol. PDCP protocol compresses the data packet header and transmits the compressed data to RNL's RLC/MAC, RLC/MAC protocol After the received data packet is processed, the RLC/MAC header is added and then sent to the WCDMA physical layer RFL. The physical layer encodes and modulates the received data packet and sends it to UTRAN through the Uu interface. the
UTRAN中BS+WA+ONU/ONT的WCDMA物理层RFL收到数据后发送给RNL的MAC/RLC协议,MAC/RLC协议依次去除协议报头,经过重组合并,将数据发给RNL的PDCP协议,PDCP协议将被压缩的数据包报头进行解压缩。BS+WA+ONU/ONT通过GTP隧道将解出来的数据经过Iub-D接口通过RGW转发到CN,WA与RGW间的Iu-D接口GTP隧道协议、UDP和IP可直接承载在OAN网络之上,WA与RGW间OAN网络可以采用二层桥接技术(例如,以太网桥接),即OLT为二层网元;或在WA与RGW间采用三层路由技术(例如,IP三层路由),即OLT为三层网元。 The WCDMA physical layer RFL of BS+WA+ONU/ONT in UTRAN sends the data to the MAC/RLC protocol of RNL after receiving the data. The MAC/RLC protocol removes the protocol header in turn, and after reorganization and merger, sends the data to the PDCP protocol of RNL. PDCP The protocol decompresses compressed packet headers. BS+WA+ONU/ONT forwards the decoded data to CN through the Iub-D interface through the RGW through the GTP tunnel, and the Iu-D interface GTP tunnel protocol, UDP and IP between WA and RGW can be directly carried on the OAN network , the OAN network between WA and RGW can use layer-2 bridging technology (for example, Ethernet bridging), that is, OLT is a layer-2 network element; or use layer-3 routing technology between WA and RGW (for example, IP layer-3 routing), that is The OLT is a
BS+WA+ONU/ONT将GTP/UDP/IP包分割成适合光传输的ODNLNK帧,然后进行电光转换承载在ODN物理层,经光纤送往OLT;OLT PHY进行光电转换得到ODN LNK帧,再将ODN LNK帧转换为LNK帧送往RGW做进一步处理。RGW从Iub-D接口GTP隧道接收到数据然后做Iu-D接口的无线网络层和传输网络层处理,通过GTP隧道将数据包发往CN的网元。 BS+WA+ONU/ONT divides GTP/UDP/IP packets into ODNLNK frames suitable for optical transmission, and then carries out electro-optical conversion on ODN physical layer, and sends them to OLT through optical fiber; OLT PHY performs photoelectric conversion to obtain ODN LNK frames, and then Convert ODN LNK frame to LNK frame and send to RGW for further processing. The RGW receives data from the GTP tunnel of the Iub-D interface and then performs the wireless network layer and the transmission network layer processing of the Iu-D interface, and sends the data packet to the network element of the CN through the GTP tunnel. the
在CN,SGSN/SGSN-GW做Iu-D接口的传输网络层和无线网络层处理,从Iu-D接口的GTP隧道接收到数据再用GTP隧道经过Gn/Gn-D接口发送给GGSN/GGSN-GW。GGSN/GGSN-GW从Gn/Gn-D接口的GTP隧道接收到的数据就是UE的IP包或者PPP包,GGSN/GGSN-GW再以IP包或者PPP协议包的形式通过Gi接口发给外部网络;或者,IGSN/IGSN-GW做Iu-D接口的传输网络层和无线网络层处理,从Iu-D接口的GTP隧道接收到的数据就是UE的IP包或者PPP包,IGSN/IGSN-GW再以IP包或者PPP协议包的形式发给外部网络。 In CN, SGSN/SGSN-GW performs the transmission network layer and wireless network layer processing of the Iu-D interface, receives data from the GTP tunnel of the Iu-D interface and sends it to the GGSN/GGSN through the Gn/Gn-D interface through the GTP tunnel -GW. The data received by the GGSN/GGSN-GW from the GTP tunnel of the Gn/Gn-D interface is the IP packet or PPP packet of the UE, and the GGSN/GGSN-GW sends the IP packet or PPP protocol packet to the external network through the Gi interface ; Or, IGSN/IGSN-GW performs the transmission network layer and wireless network layer processing of the Iu-D interface, and the data received from the GTP tunnel of the Iu-D interface is the IP packet or PPP packet of the UE, and the IGSN/IGSN-GW then It is sent to the external network in the form of IP packets or PPP protocol packets. the
下行与上行类似,只是BS+WA+ONU/ONT中的PDCP协议负责对下行数据的报头进行压缩,而UE中的PDCP协议负责对下行数据的报头进行解压缩。 Downlink is similar to uplink, except that the PDCP protocol in BS+WA+ONU/ONT is responsible for compressing the header of downlink data, while the PDCP protocol in UE is responsible for decompressing the header of downlink data. the
控制面信令的传输过程如下: The transmission process of the control plane signaling is as follows:
上行:UE的RRC将GMM/SM/SMS消息或本层的信令消息被封装成数据包传给RNL的RLC/MAC,RLC/MAC协议在接收到数据包处理完后,增加RLC/MAC报头后发给WCDMA物理层RFL,物理层对接收到的数据包进行编码调制等操作通过Uu接口发送到UTRAN。UTRAN中BS+WA+ONU/ONT的WCDMA物理层RFL收到数据后发送给RNL的MAC/RLC协议,MAC/RLC协议依次去除协议报头,经过重组合并,将数据发给RNL的RRC协议,RRC协议通常直接解析信令消息,进行相应处理,如连接建立、测量报告等。但对于BS+WA+ONU/ONT之间迁移、多小区无线资源管理、系统信息广播、寻呼控制,以及现RANAP/RNSAP消息的转发等功能,BS+WA+ONU/ONT的RRC将直接把相应的信令消息通过Iub-C接口无线网络层(如FP)和传输网络层(如IP/LNK/PHY)承载将处理结果通知RAN-Server的RRC层,再通过RAN-Server经Iu-C接口的无线网络层(如NANAP)和传输网络层(如SCCP/M3UA/SCTP/IP/LNK/PHY,其中M3UA/SCTP/IP即为图中的信令承载层Signaling Bearer)转交CN处理。WA与RAN-Server间的Iub-C接口的RRC、无线网络层(如FP或NBAP)和传输网络层(如IP层或信令承载层Signaling Bearer(例如SCTP/IP))可直接承载在OAN网络之上,WA与RAN-Server间OAN网络可以采用二层桥接技术(例如,以太网桥接),即OLT为二层网元;或在WA与RAN-Server间采用三层路由技术(例如,IP三层路由),即OLT为三层网元。 Uplink: UE's RRC encapsulates GMM/SM/SMS messages or signaling messages of this layer into data packets and sends them to RNL's RLC/MAC. After the RLC/MAC protocol receives and processes the data packets, it adds the RLC/MAC header Afterwards, it is sent to the WCDMA physical layer RFL, and the physical layer encodes and modulates the received data packets and sends them to UTRAN through the Uu interface. The WCDMA physical layer RFL of BS+WA+ONU/ONT in UTRAN sends the data to the MAC/RLC protocol of RNL after receiving the data. The MAC/RLC protocol removes the protocol header in turn, and after reorganization and merger, the data is sent to the RRC protocol of RNL. RRC The protocol usually directly parses the signaling message and performs corresponding processing, such as connection establishment and measurement report. However, for functions such as migration between BS+WA+ONU/ONT, multi-cell radio resource management, system information broadcast, paging control, and forwarding of existing RANAP/RNSAP messages, the RRC of BS+WA+ONU/ONT will directly transfer The corresponding signaling message is carried by the wireless network layer (such as FP) and the transmission network layer (such as IP/LNK/PHY) of the Iub-C interface to notify the RRC layer of the RAN-Server of the processing result, and then through the RAN-Server through the Iu-C The wireless network layer (such as NANAP) and transmission network layer (such as SCCP/M3UA/SCTP/IP/LNK/PHY, where M3UA/SCTP/IP is the Signaling Bearer in the figure) of the interface are transferred to the CN for processing. The RRC, wireless network layer (such as FP or NBAP) and transmission network layer (such as IP layer or signaling bearer layer Signaling Bearer (such as SCTP/IP)) of the Iub-C interface between WA and RAN-Server can be directly carried on the OAN On the network, the OAN network between WA and RAN-Server can adopt Layer 2 bridging technology (for example, Ethernet bridging), that is, OLT is a Layer 2 network element; or
BS+WA将Iub-C接口的FP/IP或NBAP/SCTP/IP包分割成适合光传输的ODN LNK帧,然后进行电光转换承载在ODN物理层,经光纤送往OLT;OLT PHY进行光电转换得到ODN LNK帧,再将ODN LNK帧转换为LNK帧送往RAN-Server做进一步处理。RAN-Server做Iub-C接口的传输网络层和无线网络层处理,从FP中得到RRC的RNL帧,发送给RNL的MAC/RLC协议,MAC/RLC协议依次去除协议报头,经过重组合并,将数据发给RRC,RRC协议将被压缩的数据包报头进行解压缩,得到数据包,然后通过Iu-C接口的无线网络层和传输网络层处理将数据包发往CN的网元。 BS+WA divides the FP/IP or NBAP/SCTP/IP packets of the Iub-C interface into ODN LNK frames suitable for optical transmission, and then carries out electro-optical conversion on the ODN physical layer, and sends them to the OLT through optical fibers; OLT PHY performs photoelectric conversion Get the ODN LNK frame, then convert the ODN LNK frame into an LNK frame and send it to the RAN-Server for further processing. RAN-Server handles the transmission network layer and wireless network layer of the Iub-C interface, obtains the RNL frame of RRC from FP, and sends it to the MAC/RLC protocol of RNL. The data is sent to RRC, and the RRC protocol decompresses the compressed data packet header to obtain the data packet, and then the data packet is sent to the network element of the CN through the wireless network layer and the transmission network layer of the Iu-C interface. the
在CN,IGSN/SGSN/IGSN-Server/SGSN-Server做Iu-C接口传输网络层和无线网络层处理,从RANAP中得到GMM/SM/SMS消息。类似的,UE通过相反的过程来接收核心网的信令消息和接入网的RRC信令消息。 In CN, IGSN/SGSN/IGSN-Server/SGSN-Server performs Iu-C interface transmission network layer and wireless network layer processing, and obtains GMM/SM/SMS messages from RANAP. Similarly, the UE receives the signaling message of the core network and the RRC signaling message of the access network through the reverse process. the
本发明的具体实施例中的处理方法流程图,如图37所示,包括如下步骤: The processing method flowchart in the specific embodiment of the present invention, as shown in Figure 37, comprises the following steps:
步骤8-1、将无线网络的无线接口协议栈下移到基站。 Step 8-1. Move down the wireless interface protocol stack of the wireless network to the base station. the
本发明提出了基于Wireless/Mobile over PON/DOCSIS的无线网络传输方案,该传输方案的核心为将无线网络的无线接口协议栈下移到基站。该无线网络包括WCDMA、GSM(全球移动通信系统)、GPRS(通用无线分组业务)、TD-SCDMA(时分-同步码分多址)、CDMA2000和增强的3G等网络。 The present invention proposes a wireless network transmission scheme based on Wireless/Mobile over PON/DOCSIS. The core of the transmission scheme is to move down the wireless interface protocol stack of the wireless network to the base station. The wireless network includes WCDMA, GSM (Global System for Mobile Communications), GPRS (General Packet Radio Service), TD-SCDMA (Time Division-Synchronous Code Division Multiple Access), CDMA2000 and enhanced 3G networks. the
为实现将上述无线网络的无线接口协议栈下移到基站,需要对上述无线网络的现有的基站功能进行改进,在基站中设置基站控制处理单元,分别介绍如下: In order to move the wireless interface protocol stack of the above wireless network down to the base station, it is necessary to improve the existing base station functions of the above wireless network, and set up a base station control processing unit in the base station, which are introduced as follows:
在WCDMA或GSM或GPRS或TD-SCDMA网络中,将无线网络控制器RNC或基站控制器BSC的所有处理功能下移到设置于基站的基站控制处理单元中。 In a WCDMA or GSM or GPRS or TD-SCDMA network, all processing functions of the radio network controller RNC or the base station controller BSC are moved down to the base station control processing unit arranged in the base station. the
在CDMA2000网络中,将BSC和分组控制功能PCF的所有功能下移到设置于基站的基站控制处理单元中;或者,只BSC的所有处理功能下移到设置于基站的基站控制处理单元中。 In a CDMA2000 network, all functions of BSC and PCF are moved down to the base station control processing unit installed in the base station; or, only all processing functions of the BSC are moved down to the base station control processing unit installed in the base station. the
对于增强的3G网络,将该网络的RAN功能进行重新分解,将该网络的无线接口协议中的RNL协议栈的部分RRC、PDCP/BMC/RLC/MAC等功能下移到设置于基站的基站控制处理单元中,新的基站的功能如表3所示。 For the enhanced 3G network, the RAN function of the network is re-decomposed, and some functions such as RRC, PDCP/BMC/RLC/MAC and other functions of the RNL protocol stack in the wireless interface protocol of the network are moved down to the base station control set in the base station In the processing unit, the functions of the new base station are shown in Table 3. the
表3、3G基站功能分解对照表 Table 3, 3G base station function decomposition comparison table
对于WiMAX网络,本发明对该网络的RAN的功能进行了重新分解。WiMAX基站所具有的的基站控制器单元实现ASN网关的部分功能,主要包括切换控制(HandOver Control)、路径功能(Data Path Fn)和无线资源管理(Radio Resource Management)。其中,切换控制实现用户网络切换的控制;无线资源的控制和代理实现无线资源的分配管理。 For the WiMAX network, the present invention re-decomposes the functions of the RAN of the network. The base station controller unit of the WiMAX base station implements some functions of the ASN gateway, mainly including handover control (HandOver Control), path function (Data Path Fn) and radio resource management (Radio Resource Management). Among them, the handover control implements the control of user network handover; the control and agent of radio resources implements the allocation and management of radio resources. the
基站控制器单元除具有以上所述功能外,还可以根据需求加入其他功能,如位置注册器(location register)、业务流认证和管理(Service FlowAuth.and Mgmt.)、上下文功能(Context Function)、鲁棒性头压缩(ROHC)、密钥管理(Key Management)、寻呼控制(Paging Control)、DHCP中继(DHCP Relay)、移动IP外部代理(MIP FA)、移动IP代理客户端(PMIP Client)、认证中继(Authentication Relay)。本发明所述WiMAX基站所具有的基站控制器单元功能如表4所示。 In addition to the functions described above, the base station controller unit can also add other functions according to requirements, such as location register, service flow authentication and management (Service FlowAuth.and Mgmt.), context function (Context Function), Robust Header Compression (ROHC), Key Management (Key Management), Paging Control (Paging Control), DHCP Relay (DHCP Relay), Mobile IP External Agent (MIP FA), Mobile IP Proxy Client (PMIP Client ), Authentication Relay. Table 4 shows the functions of the base station controller unit of the WiMAX base station in the present invention. the
表4、WiMAX BS的基站控制器功能分解对照表 Table 4, WiMAX BS Base Station Controller Function Decomposition Comparison Table
步骤8-2、基站与PON/DOCSIS网相连,实现基站采用PON或DOCSIS传输。 Step 8-2. The base station is connected to the PON/DOCSIS network, so that the base station uses PON or DOCSIS for transmission. the
在对各种无线网络的基站进行了上述改进后,将该基站与PON或DOCSIS网络相连,实现基站采用PON或DOCSIS传输。 After the above-mentioned improvements are made to the base stations of various wireless networks, the base stations are connected to the PON or DOCSIS network to realize the transmission of the base stations using PON or DOCSIS. the
基站采用PON传输的示意图如图38所示,基站通过ONU(光网络单元)/ONT(光网络终端)与PON网络的ODN相连。基站采用DOCSIS传输的示意图如图39所示,基站通过CM与DOCSIS网络的HFC/CableNetwork相连。 A schematic diagram of a base station using PON transmission is shown in Figure 38. The base station is connected to the ODN of the PON network through an ONU (Optical Network Unit)/ONT (Optical Network Terminal). The schematic diagram of the base station using DOCSIS transmission is shown in Figure 39. The base station is connected to the HFC/CableNetwork of the DOCSIS network through the CM. the
基站采用PON或DOCSIS传输是一个比较好的选择,PON或DOCSIS的传输速率和E1/T1比较有较大的优势。其中,PON的传输速率如下: It is a better choice for the base station to use PON or DOCSIS for transmission. The transmission rate of PON or DOCSIS has a greater advantage compared with E1/T1. Among them, the transmission rate of PON is as follows:
BPON:下行622Mbps,上行155Mbps; BPON: Downlink 622Mbps, Uplink 155Mbps;
EPON:上下行对称1.25Gbps; EPON: uplink and downlink symmetrical 1.25Gbps;
GPON:下行1.25Gbps/2.5Gbps,上行155Mbps/622Mbps/1.25Gbps/2.5Gbps。 GPON: Downlink 1.25Gbps/2.5Gbps, Uplink 155Mbps/622Mbps/1.25Gbps/2.5Gbps. the
通常,PON最远传输距离可达到20Km。 Usually, the longest transmission distance of PON can reach 20Km. the
而DOCSIS的传输速率如表5所示,通常,DOCSIs最远传输距离可达到5Km。 The transmission rate of DOCSIS is shown in Table 5. Generally, the longest transmission distance of DOCSIS can reach 5Km. the
表5DOCSIS的传输速率表 Table 5 DOCSIS transmission rate table
利用PON/DOCSIS传输技术作为基站的传输技术,可以使3G/2G/WiMAX接入网的建设尽量利用原PON/DOCSIS网络已布设的线路资源,从而降低3G/2G/WiMAX接入网的建设成本。 Using PON/DOCSIS transmission technology as the transmission technology of the base station can make the construction of 3G/2G/WiMAX access network use the line resources already deployed in the original PON/DOCSIS network as much as possible, thereby reducing the construction cost of 3G/2G/WiMAX access network . the
下面介绍本发明所述基站和有线网络互连的系统,该系统包括两种BS与PON网络互连系统和两种BS与DOCSIS网络互连系统。 The system for interconnecting base stations and wired networks of the present invention will be introduced below. The system includes two types of BS and PON network interconnection systems and two types of BS and DOCSIS network interconnection systems. the
本发明实施例中的一种BS和PON网络互连的系统的具体实现方式的结构图如图40所示,包括如下模块: A structural diagram of a specific implementation of a BS and PON network interconnection system in an embodiment of the present invention is shown in Figure 40, including the following modules:
基站设备:用于通过一对或不止一对有线线缆在参考点a和ONU/ONT设备相连,完成无线用户的无线接入处理,并将接入的无线用户的数据包或帧做基站控制处理后传递给ONU/ONT设备,将ONU/ONT设备传递过来的数据包或帧做基站控制处理后输出给无线用户。该基站设备可以为3G/2G/802.16基站。基站设备包括:基站无线物理层处理单元、基站控制器处理单元、基站有线接口单元和基站远程供电单元。 Base station equipment: It is used to connect with ONU/ONT equipment at reference point a through a pair or more than one pair of wired cables, complete the wireless access processing of wireless users, and control the data packets or frames of the accessed wireless users as the base station After processing, it is passed to the ONU/ONT device, and the data packet or frame passed by the ONU/ONT device is processed by the base station and then output to the wireless user. The base station device may be a 3G/2G/802.16 base station. The base station equipment includes: a base station wireless physical layer processing unit, a base station controller processing unit, a base station wired interface unit and a base station remote power supply unit. the
ONU/ONT设备:用于通过一对或不止一对有线线缆和基站设备相连,通过一对或不止一对光缆和OAN的OLT相连,将基站设备传递过来的数据包或帧转换成光传输的方式(如EPON、GPON的格式)后传递给OAN的OLT,将OLT传递过来的数据包或帧转换成电传输的方式后传递给基站设备。ONU/ONT设备包括:ONU/ONT有线接口单元、ONU/ONT光传输处理单元、交换单元和ONU/ONT远程供电单元。 ONU/ONT equipment: used to connect to the base station equipment through one or more than one pair of wired cables, and connect to the OLT of OAN through one or more than one pair of optical cables, and convert the data packets or frames transmitted by the base station equipment into optical transmission The way (such as EPON, GPON format) is passed to the OLT of the OAN, and the data packet or frame passed by the OLT is converted into an electrical transmission method and then passed to the base station equipment. ONU/ONT equipment includes: ONU/ONT wired interface unit, ONU/ONT optical transmission processing unit, switching unit and ONU/ONT remote power supply unit. the
远程供电设备:用于将市电输入(例如110V/220V交流)或直流电输入(例如-48V/-60V直流)转换成高压直流电输出(例如270V直流),通过有线线缆(例如一对或多对双绞线)同时向ONU/ONT设备和基站设备,或者单独向ONU/ONT设备进行远程供电。远程供电的距离与有线线缆的线径、线对数量、基站室外单元的功耗、远程供电设备的输出电压有关,通常可以做到多达2~5公里的远程供电的距离。远程供电设备可以和BS集成为一个设备。 Remote power supply equipment: used to convert mains input (such as 110V/220V AC) or DC input (such as -48V/-60V DC) into high-voltage DC output (such as 270V DC), through wired cables (such as a pair or multiple Twisted pair) provide remote power supply to ONU/ONT equipment and base station equipment at the same time, or to ONU/ONT equipment separately. The distance of remote power supply is related to the wire diameter of the wired cable, the number of wire pairs, the power consumption of the outdoor unit of the base station, and the output voltage of the remote power supply equipment. Usually, the distance of remote power supply can be as long as 2 to 5 kilometers. The remote power supply device can be integrated with the BS as one device. the
所述基站设备中的基站无线物理层处理单元:用于完成无线用户的接入,并将接入的无线用户的数据包或帧传递给基站控制器处理单元,将基站控制器处理单元传递过来的数据包或帧传递给无线用户,该单元 包括一个或不止一个处理单元,每个处理单元由天线、射频处理模块、中频处理模块和基带处理模块构成。 The base station wireless physical layer processing unit in the base station equipment: used to complete the access of wireless users, and transfer the data packets or frames of the accessed wireless users to the base station controller processing unit, and pass the base station controller processing unit over The data packets or frames are transmitted to the wireless users. This unit includes one or more than one processing unit, and each processing unit is composed of an antenna, a radio frequency processing module, an intermediate frequency processing module and a baseband processing module. the
所述基站设备中的基站控制器处理单元:用于将基站无线物理层处理单元传递过来的数据包或帧做上行基站控制处理后传递给有线接口单元或传回给基站无线物理层处理单元,将有线接口单元传递过来的数据包或帧做下行基站控制处理后传递给基站无线物理层处理单元,该单元包括一个或不止一个处理单元,每个处理单元由无线数据链路层处理模块和无线数据链路以上层处理模块构成。该基站控制器处理单元在功能上可以为RNC、BSC或BSC+PCF,或为表1或表2所示的BS的基站控制器功能。 The base station controller processing unit in the base station equipment: used for performing uplink base station control processing on the data packets or frames delivered by the base station wireless physical layer processing unit, and then passing them to the wired interface unit or returning them to the base station wireless physical layer processing unit, The data packet or frame delivered by the wired interface unit is processed by the downlink base station and then passed to the wireless physical layer processing unit of the base station. This unit includes one or more than one processing unit, and each processing unit consists of a wireless data link layer processing module and a wireless The data link is composed of upper layer processing modules. Functionally, the base station controller processing unit may be RNC, BSC or BSC+PCF, or the base station controller function of the BS shown in Table 1 or Table 2. the
所述基站设备中的基站有线接口单元:用于通过一对或不止一对有线线缆和ONU/ONT设备相连,对基站控制器处理单元传递过来的数据包或帧进行有线接口发送处理后传递给ONU/ONT设备,将ONU/ONT设备传递过来的数据包或帧进行有线接口接收处理后,传递给基站控制器处理单元。该单元包括一个或不止一个处理单元。若该系统支持三层路由,则该单元支持IP层、数据链路层和物理层处理,若该系统支持的二层桥接,则该单元支持数据链路层和物理层处理。 The base station wired interface unit in the base station equipment: used to connect to the ONU/ONT equipment through a pair or more than one pair of wired cables, and transmit the data packets or frames transmitted by the base station controller processing unit after wired interface transmission processing For the ONU/ONT equipment, after the data packet or frame transmitted by the ONU/ONT equipment is received and processed by the wired interface, it is passed to the base station controller processing unit. The unit includes one or more than one processing unit. If the system supports layer-3 routing, the unit supports IP layer, data link layer and physical layer processing; if the system supports layer-2 bridging, the unit supports data link layer and physical layer processing. the
该单元可以为基站以太网接口处理单元,此时,所述有线线缆为以太网有线线缆,所述数据链路层为以太网MAC层,所述物理层为以太网PHY层。 The unit may be a base station Ethernet interface processing unit. In this case, the wired cable is an Ethernet wired cable, the data link layer is an Ethernet MAC layer, and the physical layer is an Ethernet PHY layer. the
所述基站设备中的基站远程供电单元:用于将远程供电设备或ONU/ONT设备的远程供电单元传递过来的高压直流电(例如270V直流)转换为低压直流电,对基站设备的电源供给单元进行本地供电,或者将接收到的高压直流电进行续传,通过有线线缆向下一级远端的基站设备进行远程供电。该单元还支持与远程供电设备之间的相互通信,作为对BS的带外管理通道,可以实现正常与故障时的监控告警,便于设备的管理、故障定位、利于远程维护等。 The base station remote power supply unit in the base station equipment: used to convert the high-voltage direct current (such as 270V direct current) delivered by the remote power supply unit of the remote power supply equipment or ONU/ONT equipment into low-voltage direct current, and perform local power supply unit on the base station equipment. Power supply, or continue to transmit the received high-voltage direct current, and remotely supply power to the next-level remote base station equipment through wired cables. The unit also supports mutual communication with remote power supply equipment. As an out-of-band management channel for BS, it can monitor and alarm when it is normal or faulty, which is convenient for equipment management, fault location, and remote maintenance. the
所述ONU/ONT设备中的有线接口单元:用于通过一对或不止一对有线线缆和基站设备相连,将基站设备传递过来的数据包或帧进行有线接 口接收处理后传递给光传输处理单元,将光传输处理单元传递过来的数据包或帧进行有线接口发送处理后,传递给基站设备。若该系统支持三层路由,则该单元支持IP层、数据链路层和物理层处理,若该系统支持二层桥接,则该单元支持数据链路层和物理层处理。 The wired interface unit in the ONU/ONT equipment: used to connect to the base station equipment through a pair or more than one pair of wired cables, and transmit the data packets or frames transmitted by the base station equipment to the optical transmission after receiving and processing the wired interface The processing unit transmits the data packet or frame transmitted by the optical transmission processing unit to the base station device after sending and processing the data packet through the wired interface. If the system supports layer-3 routing, the unit supports IP layer, data link layer and physical layer processing; if the system supports layer-2 bridging, the unit supports data link layer and physical layer processing. the
该单元可以为以太网接口处理单元,此时,所述有线线缆为以太网有线线缆,所述数据链路层为以太网MAC层,所述物理层为以太网PHY层。 The unit may be an Ethernet interface processing unit. In this case, the wired cable is an Ethernet wired cable, the data link layer is an Ethernet MAC layer, and the physical layer is an Ethernet PHY layer. the
所述ONU/ONT设备中的光传输处理单元:用于通过一对或不止一对光缆和OAN的OLT在参考点(a)互连,对有线接口单元传递过来的数据包或帧转换成光传输的方式(如EPON、GPON的格式)后传递给OLT设备,将OLT传递过来的数据包或帧转换成电传输的方式后,传递给有线接口单元。该单元包括一个或不止一个光传输处理单元。 The optical transmission processing unit in the ONU/ONT device: used to interconnect the OLT of the OAN through a pair or more than one pair of optical cables at the reference point (a), and convert the data packets or frames transmitted by the wired interface unit into optical The transmission mode (such as EPON, GPON format) is transmitted to the OLT device, and the data packet or frame transmitted by the OLT is converted into an electrical transmission mode, and then transmitted to the wired interface unit. The unit includes one or more than one optical transport processing unit. the
所述ONU/ONT设备中的交换单元:用于将数据包或帧在各个有线接口单元和各个光传输处理单元之间进行交换,若该系统支持三层路由的,则该单元为IP交换单元,若该系统支持二层桥接,则该单元为二层交换单元。当光传输处理单元和有线接口单元皆为一个时,可以没有该交换单元。 The switching unit in the ONU/ONT device: used to switch data packets or frames between each wired interface unit and each optical transmission processing unit, if the system supports three-layer routing, then this unit is an IP switching unit , if the system supports Layer 2 bridging, the unit is a Layer 2 switching unit. When both the optical transmission processing unit and the wired interface unit are one, the switching unit may not be present. the
所述ONU/ONT设备中的远程供电单元:用于将远程供电设备传递过来的高压直流电(例如270V直流)转换为低压直流电,对ONU/ONT设备的电源供给单元进行本地供电,或者将接收到的高压直流电进行续传,通过有线线缆向下一级远端的ONU/ONT设备进行远程供电。该单元还通过有线线缆向基站设备进行远程供电。该单元还支持与基站设备或远程供电设备之间的相互通信,作为对ONU/ONT设备的带外管理通道,可以实现正常与故障时的监控告警,便于设备的管理、故障定位、利于远程维护等。 The remote power supply unit in the ONU/ONT equipment: used to convert the high-voltage direct current (such as 270V direct current) delivered by the remote power supply equipment into low-voltage direct current, and locally supply power to the power supply unit of the ONU/ONT equipment, or receive The high-voltage DC power is continuously transmitted, and the remote power supply to the next-level remote ONU/ONT equipment is provided through the wired cable. The unit also remotely supplies power to the base station equipment via wired cables. The unit also supports mutual communication with base station equipment or remote power supply equipment. As an out-of-band management channel for ONU/ONT equipment, it can realize monitoring and alarm during normal and fault conditions, which is convenient for equipment management, fault location, and remote maintenance. wait. the
本发明所述另一种BS和PON网络互连的系统的具体实现方式的结构图如图41所示,包括如下模块: A structural diagram of a specific implementation of another BS and PON network interconnection system described in the present invention is shown in Figure 41, including the following modules:
基站设备:集成了ONU/ONT功能,通过一对或不止一对有线线缆和ODN与OLT设备相连,完成无线用户的无线接入处理,并将接入的无线 用户的数据包或帧做基站控制处理后传递给OLT设备,将OLT设备传递过来的数据包或帧做基站控制处理后输出给无线用户。该基站设备可以为3G/2G/802.16基站。基站设备包括:基站无线物理层处理单元、基站控制器处理单元、光传输处理单元和基站远程供电单元。 Base station equipment: integrates ONU/ONT functions, connects ODN and OLT equipment through a pair or more than one pair of wired cables, completes wireless access processing of wireless users, and uses data packets or frames of accessed wireless users as base stations After the control processing, it is passed to the OLT device, and the data packet or frame passed by the OLT device is processed by the base station and then output to the wireless user. The base station device may be a 3G/2G/802.16 base station. The base station equipment includes: a base station wireless physical layer processing unit, a base station controller processing unit, an optical transmission processing unit and a base station remote power supply unit. the
远程供电设备:用于将市电输入(例如110V/220V交流)或直流电输入(例如-48V/-60V直流)转换成高压直流电输出(例如270V直流),通过有线线缆(例如一对或多对双绞线)向基站设备进行远程供电。远程供电的距离与有线线缆的线径、线对数量、基站室外单元的功耗、远程供电设备的输出电压有关,通常可以做到多达2~5公里的远程供电的距离。远程供电设备可以和BS集成为一个设备。 Remote power supply equipment: used to convert mains input (such as 110V/220V AC) or DC input (such as -48V/-60V DC) into high-voltage DC output (such as 270V DC), through wired cables (such as a pair or multiple Twisted pair) to remote power supply to the base station equipment. The distance of remote power supply is related to the wire diameter of the wired cable, the number of wire pairs, the power consumption of the outdoor unit of the base station, and the output voltage of the remote power supply equipment. Usually, the distance of remote power supply can be as long as 2 to 5 kilometers. The remote power supply device can be integrated with the BS as one device. the
所述基站设备中的基站无线物理层处理单元:用于完成无线用户的接入,并将接入的无线用户的数据包或帧传递给基站控制器处理单元,将基站控制器处理单元传递过来的数据包或帧传递给无线用户,该单元包括一个或不止一个处理单元,每个处理单元由天线、射频处理模块、中频处理模块和基带处理模块构成。 The base station wireless physical layer processing unit in the base station equipment: used to complete the access of wireless users, and transfer the data packets or frames of the accessed wireless users to the base station controller processing unit, and pass the base station controller processing unit over The data packets or frames are delivered to the wireless users. This unit includes one or more than one processing unit, and each processing unit is composed of an antenna, a radio frequency processing module, an intermediate frequency processing module and a baseband processing module. the
所述基站设备中的基站控制器处理单元:用于将基站无线物理层处理单元传递过来的数据包或帧做上行基站控制处理后传递给光传输处理单元或回传给基站无线物理层处理单元,将光传输处理单元传递过来的数据包或帧做下行基站控制处理后传递给基站无线物理层处理单元,该单元包括一个或不止一个处理单元,每个处理单元由无线数据链路层处理模块和无线数据链路以上层处理模块构成。该基站控制器处理单元在功能上可以为RNC、BSC或BSC+PCF,或为表1或表2所示的BS的基站控制器功能。 The base station controller processing unit in the base station equipment: used for performing uplink base station control processing on the data packets or frames delivered by the base station wireless physical layer processing unit and then passing them to the optical transmission processing unit or back to the base station wireless physical layer processing unit , the data packet or frame delivered by the optical transmission processing unit is processed by the downlink base station and then passed to the wireless physical layer processing unit of the base station. This unit includes one or more than one processing unit, and each processing unit is composed of a wireless data link layer processing module and the wireless data link are composed of upper layer processing modules. Functionally, the base station controller processing unit may be RNC, BSC or BSC+PCF, or the base station controller function of the BS shown in Table 1 or Table 2. the
所述基站设备中的光传输处理单元:用于通过一对或不止一对光缆通过ODN和OLT互连,将基站控制器处理单元传递过来的数据包或帧转换成光传输的方式(如EPON、GPON的格式)后传递给OLT设备,将OLT传递过来的数据包或帧转换成电传输的方式后,传递给基站控制器处理单元。该单元包括一个或不止一个光传输处理单元。 The optical transmission processing unit in the base station equipment: used to interconnect the ODN and the OLT through a pair or more than one pair of optical cables, and convert the data packets or frames delivered by the base station controller processing unit into an optical transmission mode (such as EPON , GPON format) and pass it to the OLT device, convert the data packet or frame passed by the OLT into an electrical transmission mode, and pass it to the base station controller processing unit. The unit includes one or more than one optical transport processing unit. the
所述基站设备中的基站远程供电单元:用于将远程供电设备传递过 来的高压直流电(例如270V直流)转换为低压直流电,对基站设备的电源供给单元进行本地供电,或者将接收到的高压直流电进行续传,通过有线线缆向下一级远端的基站设备进行远程供电。该单元还支持与远程供电设备之间的相互通信,作为对BS的带外管理通道,可以实现正常与故障时的监控告警,便于设备的管理、故障定位、利于远程维护等。 The base station remote power supply unit in the base station equipment: used to convert the high-voltage direct current (such as 270V direct current) delivered by the remote power supply equipment into low-voltage direct current, and locally supply power to the power supply unit of the base station equipment, or convert the received high-voltage direct current The direct current is used for continuous transmission, and the remote power supply is provided to the next-level remote base station equipment through wired cables. The unit also supports mutual communication with remote power supply equipment. As an out-of-band management channel for BS, it can monitor and alarm when it is normal or faulty, which is convenient for equipment management, fault location, and remote maintenance. the
本发明的实施例中BS和DOCSIS网络互连的系统结构如图42所示,包括如下模块: The system structure of BS and DOCSIS network interconnection in the embodiment of the present invention is shown in Figure 42, including the following modules:
基站设备:用于通过一对或不止一对有线线缆在参考点CMCI和CableModem设备相连,完成无线用户的无线接入处理,并将接入的无线用户的数据包或帧做基站控制处理后传递给CABLE MODEM设备,将CABLEMODEM没备传递过来的数据包或帧做基站控制处理后输出给无线用户。该基站设备可以为3G/2G/WiMAX基站。基站设备包括:基站无线物理层处理单元、基站控制器处理单元、基站有线接口单元和基站远程供电单元。 Base station equipment: used to connect the reference point CMCI and CableModem equipment through a pair or more than one pair of wired cables to complete the wireless access processing of wireless users, and perform base station control processing on the data packets or frames of the accessed wireless users Pass it to the CABLE MODEM device, and output the data packet or frame that the CABLE MODEM does not pass over to the wireless user after the base station controls and processes it. The base station equipment may be a 3G/2G/WiMAX base station. The base station equipment includes: a base station wireless physical layer processing unit, a base station controller processing unit, a base station wired interface unit and a base station remote power supply unit. the
CABLE MODEM设备:用于通过一对或不止一对有线线缆和基站设备相连,通过一对或不止一对同轴电缆和DOCSIS网络的CMTS设备相连,将基站设备传递过来的数据包或帧做DOCSIS调制后传递给CMTS设备,将CMTS设备传递过来的数据包或帧做DOCSIS解调后传递给基站设备。CABLE MODEM设备包括:CABLE MODEM有线接口单元、CABLEMODEM单元和CABLE MODEM远程供电单元。 CABLE MODEM equipment: used to connect to the base station equipment through one or more than one pair of wired cables, and connect to the CMTS equipment of the DOCSIS network through one or more than one pair of coaxial cables, and make the data packets or frames transmitted by the base station equipment After DOCSIS modulation, it is transmitted to the CMTS equipment, and the data packet or frame transmitted by the CMTS equipment is demodulated by DOCSIS and then transmitted to the base station equipment. CABLE MODEM equipment includes: CABLE MODEM wired interface unit, CABLE MODEM unit and CABLE MODEM remote power supply unit. the
远程供电设备:用于将市电输入(例如110V/220V交流)或直流电输入(例如-48V/-60V直流)转换成高压直流电输出(例如270V直流),通过有线线缆(例如一对或多对双绞线)同时向基站设备和CABLE MODEM设备,或者单独向基站设备进行远程供电。远程供电的距离与有线线缆的线径、线对数量、基站室外单元的功耗、远程供电设备的输出电压有关,通常可以做到多达2~5公里的远程供电的距离。远程供电设备可以和BS集成为一个设备。 Remote power supply equipment: used to convert mains input (such as 110V/220V AC) or DC input (such as -48V/-60V DC) into high-voltage DC output (such as 270V DC), through wired cables (such as a pair or multiple Twisted pair) to the base station equipment and CABLE MODEM equipment at the same time, or to the base station equipment for remote power supply. The distance of remote power supply is related to the wire diameter of the wired cable, the number of wire pairs, the power consumption of the outdoor unit of the base station, and the output voltage of the remote power supply equipment. Usually, the distance of remote power supply can be as long as 2 to 5 kilometers. The remote power supply device can be integrated with the BS as one device. the
所述基站设备中的基站无线物理层处理单元:用于完成无线用户的接入,并将接入的无线用户的数据包或帧传递给基站控制器处理单元, 将基站控制器处理单元传递过来的数据包或帧传递给无线用户,该单元包括一个或不止一个处理单元,每个处理单元由天线、射频处理模块、中频处理模块和基带处理模块构成。 The base station wireless physical layer processing unit in the base station equipment: used to complete the access of wireless users, and transfer the data packets or frames of the accessed wireless users to the base station controller processing unit, and pass the base station controller processing unit over The data packets or frames are delivered to the wireless users. This unit includes one or more than one processing unit, and each processing unit is composed of an antenna, a radio frequency processing module, an intermediate frequency processing module and a baseband processing module. the
所述基站设备中的基站控制器处理单元:用于将基站无线物理层处理单元传递过来的数据包或帧做上行基站控制处理后传递给有线接口单元或回传给基站无线物理层处理单元,将有线接口单元传递过来的数据包或帧做下行基站控制处理后传递给基站无线物理层处理单元。该单元包括一个或不止一个处理单元,每个处理单元由无线数据链路层处理模块和无线数据链路以上层处理模块构成。该基站控制器处理单元在功能上可以为RNC、BSC或BSC+PCF,或为表1或表2所示的BS的基站控制器功能。 The base station controller processing unit in the base station equipment: used for performing uplink base station control processing on the data packets or frames delivered by the base station wireless physical layer processing unit, and then passing them to the wired interface unit or back to the base station wireless physical layer processing unit, The data packets or frames transmitted by the wired interface unit are processed by the downlink base station and then passed to the wireless physical layer processing unit of the base station. The unit includes one or more than one processing unit, and each processing unit is composed of a wireless data link layer processing module and a wireless data link upper layer processing module. Functionally, the base station controller processing unit may be RNC, BSC or BSC+PCF, or the base station controller function of the BS shown in Table 1 or Table 2. the
所述基站设备中的基站有线接口单元:用于通过一对或不止一对有线线缆和CABLE MODEM设备相连,对基站控制器处理单元传递过来的数据包或帧进行有线接口发送处理后传递给CABLE MODEM设备,将CABLE MODEM设备传递过来的数据包或帧进行有线接口接收处理后,传递给基站控制器处理单元。若该系统支持三层路由,则该单元支持IP层、数据链路层和物理层处理,若该系统支持二层桥接,则该单元支持数据链路层和物理层处理。 The base station wired interface unit in the base station equipment: used to connect to the CABLE MODEM equipment through one pair or more than one pair of wired cables, and transmit the data packets or frames transmitted by the base station controller processing unit to the The CABLE MODEM device, after receiving and processing the data packets or frames transmitted by the CABLE MODEM device through the wired interface, passes them to the base station controller processing unit. If the system supports layer-3 routing, the unit supports IP layer, data link layer and physical layer processing; if the system supports layer-2 bridging, the unit supports data link layer and physical layer processing. the
该单元可以为基站以太网接口处理单元,此时,所述有线线缆为以太网有线线缆,所述数据链路层为以太网MAC层,所述物理层为以太网PHY层。 The unit may be a base station Ethernet interface processing unit. In this case, the wired cable is an Ethernet wired cable, the data link layer is an Ethernet MAC layer, and the physical layer is an Ethernet PHY layer. the
所述基站设备中的基站远程供电单元:用于将远程供电设备或CABLE MODEM设备的远程供电单元传递过来的高压直流电(例如270V直流)转换为低压直流电,对基站设备的电源供给单元进行本地供电,或者将接收到的高压直流电进行续传,通过有线线缆向下一级远端的基站设备进行远程供电。该单元还通过有线线缆向CABLE MODEM设备进行远程供电,该单元还支持与远程供电设备之间的相互通信,作为对BS的带外管理通道,可以实现正常与故障时的监控告警,便于设备的管理、故障定位、利于远程维护等。 The base station remote power supply unit in the base station equipment: used to convert the high-voltage direct current (such as 270V direct current) delivered by the remote power supply unit or the remote power supply unit of the CABLE MODEM equipment into low-voltage direct current, and locally supply power to the power supply unit of the base station equipment , or continue to transmit the received high-voltage direct current, and remotely supply power to the next-level remote base station equipment through wired cables. The unit also provides remote power supply to the CABLE MODEM equipment through a wired cable. The unit also supports mutual communication with the remote power supply equipment. management, fault location, and remote maintenance. the
所述CABLE MODEM设备中的有线接口单元:用于通过一对或不止一对有线线缆和基站设备相连,将基站设备传递过来的数据包或帧进行有线接口接收处理后传递给Cable Modem单元,将Cable Modem单元传递过来的数据包或帧进行有线接口发送处理后,传递给基站设备。若该系统支持三层路由,则该单元支持IP层、数据链路层和物理层处理,若该系统支持二层桥接,则该单元支持数据链路层和物理层处理。 The wired interface unit in the CABLE MODEM equipment: used to connect to the base station equipment through a pair or more than one pair of wired cables, and transmit the data packets or frames transmitted by the base station equipment to the Cable Modem unit after receiving and processing the wired interface, After the data packet or frame passed by the Cable Modem unit is sent and processed by the wired interface, it is passed to the base station equipment. If the system supports layer-3 routing, the unit supports IP layer, data link layer and physical layer processing; if the system supports layer-2 bridging, the unit supports data link layer and physical layer processing. the
该单元可以为以太网接口处理单元,此时,所述有线线缆为以太网有线线缆,所述数据链路层为以太网MAC层,所述物理层为以太网PHY层。 The unit may be an Ethernet interface processing unit. In this case, the wired cable is an Ethernet wired cable, the data link layer is an Ethernet MAC layer, and the physical layer is an Ethernet PHY layer. the
所述CABLE MODEM设备中的Cable Modem单元:用于通过一对或不止一对同轴电缆和DOCSIS网络的CMTS设备在参考点CMCI互连,对有线接口单元传递过来的数据包或帧做DOCSIS调制后传递给DOCSIS网络的CMTS设备,将CMTS设备传递过来的数据包或帧做DOCSIS解调后,传递给有线接口单元。该单元包括一个或不止一个Cable Modem单元。 The Cable Modem unit in the CABLE MODEM device: used to interconnect the CMTS devices of the DOCSIS network through a pair or more than one pair of coaxial cables at the reference point CMCI, and perform DOCSIS modulation on the data packets or frames transmitted by the wired interface unit After that, it is passed to the CMTS device of the DOCSIS network, and the data packet or frame passed by the CMTS device is demodulated by DOCSIS and then passed to the wired interface unit. The unit includes one or more than one Cable Modem unit. the
所述CABLE MODEM设备中的远程供电单元:用于将远程供电设备或基站设备传递过来的高压直流电(例如270V直流)转换为低压直流电,对CABLE MODEM设备的电源供给单元进行本地供电,或者将接收到的高压直流电进行续传,通过有线线缆向下一级远端的CABLE MODEM设备进行远程供电。该单元还支持与基站设备或远程供电设备之间的相互通信,作为对CABLE MODEM设备的带外管理通道,可以实现正常与故障时的监控告警,便于设备的管理、故障定位、利于远程维护等。 The remote power supply unit in the CABLE MODEM device: used to convert the high-voltage direct current (such as 270V direct current) delivered by the remote power supply device or the base station device into low-voltage direct current, and locally supply power to the power supply unit of the CABLE MODEM device, or receive The received high-voltage direct current is continuously transmitted, and the remote power supply is provided to the CABLE MODEM equipment at the next level of remote end through a wired cable. The unit also supports mutual communication with base station equipment or remote power supply equipment. As an out-of-band management channel for CABLE MODEM equipment, it can realize monitoring and alarm during normal and fault conditions, which is convenient for equipment management, fault location, and remote maintenance. . the
本发明另一实施例中BS和DOCSIS网络互连的系统结构如图43所示,包括如下模块: In another embodiment of the present invention, the system structure of BS and DOCSIS network interconnection is shown in Figure 43, including the following modules:
基站设备:用于通过一对或不止一对同轴电缆在参考点CMRFI和DOCSIS网络的CMTS设备相连,完成无线用户的无线接入处理,并将接入的无线用户的数据包或帧做基站控制处理后传递给CMTS设备,将CMTS设备传递过来的数据包或帧做基站控制处理后输出给无线用户。该基站设备可以为3G/2G/WiMAX基站。基站设备包括:基站无线物理层处理单元、基站控制器处理单元、基站CABLE MODEM单元和基站远程供 电单元。 Base station equipment: used to connect the reference point CMRFI with the CMTS equipment of the DOCSIS network through a pair or more than one pair of coaxial cables, complete the wireless access processing of wireless users, and use the data packets or frames of the wireless users accessed as base stations After the control processing, it is passed to the CMTS device, and the data packet or frame passed by the CMTS device is processed by the base station and then output to the wireless user. The base station equipment may be a 3G/2G/WiMAX base station. Base station equipment includes: base station wireless physical layer processing unit, base station controller processing unit, base station CABLE MODEM unit and base station remote power supply unit. the
CMTS设备:用于通过一对或不止一对同轴电缆和基站设备相连,通过一对或不止一对有线电缆和Managed IP Network相连,将基站设备传递过来的数据包或帧做DOCSIS解调后传递给Managed IP Network,将Managed IP Network传递过来的数据包或帧做DOCSIS调制后传递给基站设备。CMTS设备包括:CABLE MODEM有线接口单元、CABLE MODEM单元和CABLE MODEM远程供电单元。 CMTS equipment: It is used to connect to the base station equipment through one or more than one pair of coaxial cables, and to connect to the Managed IP Network through one or more than one pair of wired cables, and perform DOCSIS demodulation on the data packets or frames transmitted from the base station equipment Pass it to the Managed IP Network, and do DOCSIS modulation on the data packet or frame passed by the Managed IP Network and pass it to the base station equipment. CMTS equipment includes: CABLE MODEM wired interface unit, CABLE MODEM unit and CABLE MODEM remote power supply unit. the
远程供电设备:用于将市电输入(例如110V/220V交流)或直流电输入(例如-48V/-60V直流)转换成高压直流电输出(例如270V直流),通过有线线缆(例如一对或多对双绞线)同时向CMTS设备和基站设备,或者单独向CMTS设备进行远程供电。远程供电的距离与有线线缆的线径、线对数量、基站室外单元的功耗、远程供电设备的输出电压有关,通常可以做到多达2~5公里的远程供电的距离。远程供电设备可以和CMTS设备集成为一个设备。 Remote power supply equipment: used to convert mains input (such as 110V/220V AC) or DC input (such as -48V/-60V DC) into high-voltage DC output (such as 270V DC), through wired cables (such as a pair or multiple Twisted pair) to CMTS equipment and base station equipment at the same time, or to CMTS equipment for remote power supply. The distance of remote power supply is related to the wire diameter of the wired cable, the number of wire pairs, the power consumption of the outdoor unit of the base station, and the output voltage of the remote power supply equipment. Usually, the distance of remote power supply can be as long as 2 to 5 kilometers. The remote power supply device can be integrated with the CMTS device into one device. the
所述基站设备中的基站无线物理层处理单元:用于完成无线用户的无线接入,并将接入的无线用户的数据包或帧传递给基站控制器处理单元,将基站控制器处理单元传递过来的数据包或帧传递给无线用户,该单元包括一个或不止一个处理单元,每个处理单元由天线、射频处理模块、中频处理模块和基带处理模块构成。 The base station wireless physical layer processing unit in the base station equipment: used to complete the wireless access of wireless users, and transfer the data packets or frames of the accessed wireless users to the base station controller processing unit, and transfer the base station controller processing unit The incoming data packets or frames are delivered to wireless users. This unit includes one or more than one processing unit, and each processing unit is composed of an antenna, a radio frequency processing module, an intermediate frequency processing module and a baseband processing module. the
所述基站设备中的基站控制器处理单元:用于将基站无线物理层处理单元传递过来的数据包或帧做上行基站控制处理后传递给基站CABLEMODEM单元或回传给基站无线物理层处理单元,将基站CABLEMODEM单元传递过来的数据包或帧做下行基站控制处理后传递给基站无线物理层处理单元,该单元包括一个或不止一个处理单元,每个处理单元由无线数据链路层处理模块和无线数据链路以上层处理模块构成。该基站控制器处理单元在功能上可以为RNC、BSC或BSC+PCF,或为表1或表2所示的BS的基站控制器功能。 The base station controller processing unit in the base station equipment: used to perform uplink base station control processing on the data packets or frames delivered by the base station wireless physical layer processing unit, and then pass them to the base station CABLEMODEM unit or return them to the base station wireless physical layer processing unit, The data packet or frame delivered by the CABLEMODEM unit of the base station is processed by the downlink base station and then passed to the wireless physical layer processing unit of the base station. This unit includes one or more than one processing unit, and each processing unit consists of a wireless data link layer processing module and a wireless The data link is composed of upper layer processing modules. Functionally, the base station controller processing unit may be RNC, BSC or BSC+PCF, or the base station controller function of the BS shown in Table 1 or Table 2. the
所述基站设备中的基站CABLE MODEM单元:用于通过一对或不止一对同轴电缆和DOCSIS网络的CMTS设备相连,对基站控制器处理单元 传递过来的数据包或帧做DOCSIS调制后传递给CMTS设备,将CMTS设备传递过来的数据包或帧做DOCSIS解调后,传递给基站控制器处理单元。 The base station CABLE MODEM unit in the base station equipment: used to connect to the CMTS equipment of the DOCSIS network through a pair or more than one pair of coaxial cables, and transmit the data packets or frames transmitted by the base station controller processing unit to the The CMTS equipment performs DOCSIS demodulation on the data packets or frames transmitted by the CMTS equipment, and then transmits them to the base station controller processing unit. the
所述基站设备中的基站远程供电单元:用于将远程供电设备或CMTS设备的远程供电单元传递过来的高压直流电(例如270V直流)转换为低压直流电,对基站设备的电源供给单元进行本地供电,或者将接收到的高压直流电进行续传,通过有线线缆向下一级远端的基站设备进行远程供电。该单元还支持与远程供电设备之间的相互通信,作为对BS的带外管理通道,可以实现正常与故障时的监控告警,便于设备的管理、故障定位、利于远程维护等。 The base station remote power supply unit in the base station equipment: used to convert the high-voltage direct current (such as 270V direct current) delivered by the remote power supply equipment or the remote power supply unit of the CMTS equipment into low-voltage direct current, and locally supply power to the power supply unit of the base station equipment, Or continue to transmit the received high-voltage direct current, and remotely supply power to the next-level remote base station equipment through wired cables. The unit also supports mutual communication with remote power supply equipment. As an out-of-band management channel for BS, it can monitor and alarm when it is normal or faulty, which is convenient for equipment management, fault location, and remote maintenance. the
所述CMTS设备中的有线接口单元:用于通过一对或不止一对有线线缆和DOCSIS网络的Managed IP Network相连,将Managed IP Network传递过来的数据包或帧进行有线接口接收处理后传递给Cable Modem单元,将Cable Modem单元传递过来的数据包或帧进行有线接口发送处理后,传递给Managed IP Network。若该系统支持三层路由,则该单元支持IP层、数据链路层和物理层处理,若该系统支持二层桥接,则该单元支持数据链路层和物理层处理。 The wired interface unit in the CMTS device: used to connect to the Managed IP Network of the DOCSIS network through a pair or more than one pair of wired cables, and transfer the data packets or frames transmitted by the Managed IP Network to the wired interface after receiving and processing The Cable Modem unit transmits the data packets or frames transmitted by the Cable Modem unit to the Managed IP Network after sending and processing the wired interface. If the system supports layer-3 routing, the unit supports IP layer, data link layer and physical layer processing; if the system supports layer-2 bridging, the unit supports data link layer and physical layer processing. the
所述CMTS设备中的Cable Modem单元:用于通过一对或不止一对同轴电缆和基站设备在参考点CMRFI互连,对有线接口单元传递过来的数据包或帧做DOCSIS解调后传递给基站设备,将基站设备传递过来的数据包或帧做DOCSIS调制后,传递给有线接口单元。该单元包括一个或不止一个Cable Modem单元。 The Cable Modem unit in the CMTS device: it is used to interconnect the base station device at the reference point CMRFI through a pair or more than one pair of coaxial cables, and perform DOCSIS demodulation on the data packets or frames transmitted by the wired interface unit and then pass them on to The base station equipment performs DOCSIS modulation on the data packets or frames transmitted from the base station equipment, and then transmits them to the wired interface unit. The unit includes one or more than one Cable Modem unit. the
所述CMTS设备中的远程供电单元:用于将远程供电设备传递过来的高压直流电(例如270V直流)转换为低压直流电,对CMTS设备的电源供给单元进行本地供电,或者将接收到的高压直流电进行续传,通过有线线缆向下一级远端的CMTS设备进行远程供电。该单元还通过有线线缆向基站设备进行远程供电,该单元还支持与基站设备或远程供电设备之间的相互通信,作为对CMTS设备的带外管理通道,可以实现正常与故障时的监控告警,便于设备的管理、故障定位、利于远程维护等。 The remote power supply unit in the CMTS equipment: used to convert the high-voltage direct current (such as 270V direct current) delivered by the remote power supply equipment into low-voltage direct current, and locally supply power to the power supply unit of the CMTS equipment, or convert the received high-voltage direct current Continued transmission, remote power supply to the next-level remote CMTS equipment through wired cables. The unit also provides remote power supply to the base station equipment through wired cables. The unit also supports mutual communication with the base station equipment or remote power supply equipment. As an out-of-band management channel for CMTS equipment, it can realize monitoring and alarming when normal and faulty , which is convenient for equipment management, fault location, and remote maintenance. the
所述实施例是用于说明和解释本发明的原理的。可以理解,本发明的具体实施方式不限于此。对于本领域技术人员而言,在不脱离本发明的实质和范围的前提下进行的各种变更和修改均涵盖在本发明的保护范围之内。 The examples are presented to illustrate and explain the principles of the invention. It can be understood that the specific embodiments of the present invention are not limited thereto. For those skilled in the art, various changes and modifications made without departing from the spirit and scope of the present invention fall within the protection scope of the present invention. the
| Application Number | Priority Date | Filing Date | Title |
|---|---|---|---|
| CN200680001206XACN101061678B (en) | 2005-12-31 | 2006-12-30 | Method and system for realizing network interconnection by optimizing wireless network layer and interconnection method of wireless network and wired network |
| Application Number | Priority Date | Filing Date | Title |
|---|---|---|---|
| CN200610032614.3 | 2005-12-31 | ||
| CN2006100326139ACN1996914B (en) | 2005-12-31 | 2005-12-31 | System and method for moving wireless network layer down to realize network interconnection |
| CN200610032613.9 | 2005-12-31 | ||
| CN2006100326143ACN1996915B (en) | 2005-12-31 | 2005-12-31 | A system and method for realizing the network interconnection under the wireless network layer |
| CNA2006100016221ACN101005321A (en) | 2006-01-18 | 2006-01-18 | Method and system for interconnecting base station and wired network |
| CN200610001622.1 | 2006-01-18 | ||
| PCT/CN2006/003726WO2007076713A1 (en) | 2005-12-31 | 2006-12-30 | A method and a system for optimizing the radio network layer to implement the network interconnection, and a method for interconnection between the radio network and the wired network |
| CN200680001206XACN101061678B (en) | 2005-12-31 | 2006-12-30 | Method and system for realizing network interconnection by optimizing wireless network layer and interconnection method of wireless network and wired network |
| Publication Number | Publication Date |
|---|---|
| CN101061678A CN101061678A (en) | 2007-10-24 |
| CN101061678Btrue CN101061678B (en) | 2010-12-08 |
| Application Number | Title | Priority Date | Filing Date |
|---|---|---|---|
| CN200680001206XAActiveCN101061678B (en) | 2005-12-31 | 2006-12-30 | Method and system for realizing network interconnection by optimizing wireless network layer and interconnection method of wireless network and wired network |
| Country | Link |
|---|---|
| CN (1) | CN101061678B (en) |
| Publication number | Priority date | Publication date | Assignee | Title |
|---|---|---|---|---|
| CN105376789B (en)* | 2015-11-24 | 2018-03-27 | 广东欧珀移动通信有限公司 | Method for processing abnormality of network communication function, modem and mobile terminal |
| CN107222450A (en)* | 2016-03-21 | 2017-09-29 | 中兴通讯股份有限公司 | A kind of network node and realize the method and apparatus communicated between network node |
| Publication number | Priority date | Publication date | Assignee | Title |
|---|---|---|---|---|
| CN1996914A (en)* | 2005-12-31 | 2007-07-11 | 华为技术有限公司 | A system and method for network interconnection under the wireless network layer |
| CN101005321A (en)* | 2006-01-18 | 2007-07-25 | 华为技术有限公司 | Method and system for interconnecting base station and wired network |
| Publication number | Priority date | Publication date | Assignee | Title |
|---|---|---|---|---|
| CN1996914A (en)* | 2005-12-31 | 2007-07-11 | 华为技术有限公司 | A system and method for network interconnection under the wireless network layer |
| CN101005321A (en)* | 2006-01-18 | 2007-07-25 | 华为技术有限公司 | Method and system for interconnecting base station and wired network |
| Publication number | Publication date |
|---|---|
| CN101061678A (en) | 2007-10-24 |
| Publication | Publication Date | Title |
|---|---|---|
| US8660430B2 (en) | Method and a system for optimizing radio network layer to implement the network interconnection, and a method for interconnection between the radio network and the wired network | |
| CN100525236C (en) | Optic network and radio communication network interconnection system and its communication method | |
| EP1973288A1 (en) | A network interconnection system and method with separated control and bearing | |
| US8027321B2 (en) | Method and system for interconnecting digital subscriber line network and radio communication network | |
| CN102624560B (en) | A kind of distributed deployment, centerized fusion CATV broadband access system | |
| CN101005321A (en) | Method and system for interconnecting base station and wired network | |
| US8144646B2 (en) | Method and system for interconnecting broadband wireless access network with optical access broadband network | |
| CN102158992B (en) | Method and system for interconnecting base station and wired network | |
| KR20130078630A (en) | Wireed/wireless converged mac adaptor and method for transmitting frame using wireed/wireless converged mac adaptor | |
| WO2016188184A1 (en) | Data transmission method and device | |
| CN101061678B (en) | Method and system for realizing network interconnection by optimizing wireless network layer and interconnection method of wireless network and wired network | |
| CN1996914B (en) | System and method for moving wireless network layer down to realize network interconnection | |
| CN113950062A (en) | Home broadband devices that support 5G signal coverage | |
| CN101156383B (en) | Method and system for realizing interconnection between digital subscriber line network and wireless communication network | |
| CN1996915A (en) | A system and method for realizing the network interconnection under the wireless network layer | |
| WO2012065419A1 (en) | Method, system and cascade processing logic subsystem for implimenting base station cascade | |
| CN100512191C (en) | Method and system for interconnecting broadband wireless network and wired network | |
| CN101527669B (en) | Method and system for interconnecting wideband wireless network and wired network | |
| Wang et al. | Optical wireless integration at network edge |
| Date | Code | Title | Description |
|---|---|---|---|
| C06 | Publication | ||
| PB01 | Publication | ||
| C10 | Entry into substantive examination | ||
| SE01 | Entry into force of request for substantive examination | ||
| C14 | Grant of patent or utility model | ||
| GR01 | Patent grant |