Movatterモバイル変換


[0]ホーム

URL:


CN101026386A - Base station, mobile terminal and method for comprehensive using paired and nonpaired spectrum - Google Patents

Base station, mobile terminal and method for comprehensive using paired and nonpaired spectrum
Download PDF

Info

Publication number
CN101026386A
CN101026386ACNA2006100031734ACN200610003173ACN101026386ACN 101026386 ACN101026386 ACN 101026386ACN A2006100031734 ACNA2006100031734 ACN A2006100031734ACN 200610003173 ACN200610003173 ACN 200610003173ACN 101026386 ACN101026386 ACN 101026386A
Authority
CN
China
Prior art keywords
spectrum
frequency spectrum
paired
receive path
transmission channel
Prior art date
Legal status (The legal status is an assumption and is not a legal conclusion. Google has not performed a legal analysis and makes no representation as to the accuracy of the status listed.)
Granted
Application number
CNA2006100031734A
Other languages
Chinese (zh)
Other versions
CN100589332C (en
Inventor
刁心玺
吕浚哲
赵建平
Current Assignee (The listed assignees may be inaccurate. Google has not performed a legal analysis and makes no representation or warranty as to the accuracy of the list.)
ZTE Corp
Original Assignee
ZTE Corp
Priority date (The priority date is an assumption and is not a legal conclusion. Google has not performed a legal analysis and makes no representation as to the accuracy of the date listed.)
Filing date
Publication date
Application filed by ZTE CorpfiledCriticalZTE Corp
Priority to CN200610003173ApriorityCriticalpatent/CN100589332C/en
Publication of CN101026386ApublicationCriticalpatent/CN101026386A/en
Application grantedgrantedCritical
Publication of CN100589332CpublicationCriticalpatent/CN100589332C/en
Expired - Fee Relatedlegal-statusCriticalCurrent
Anticipated expirationlegal-statusCritical

Links

Images

Landscapes

Abstract

Translated fromChinese

本发明提供综合使用成对和非成对频谱的基站、移动终端及方法,所述基站把成对FDD(频分双工)频谱和非成对TDD(时分双工)频谱及对应的处理资源组合起来综合调度,所述终端具有多种双工方式;通过共享发射用和接收用基带处理资源并且在TDD发射过程中由FDD通道接收用于TDD接收处理的资源,实现共享基站的信息处理资源;通过FDD系统的成对频谱中的上行部分与TDD频谱共用一个发射通道,实现共享基站通道资源;通过高速移动用户使用成对频谱为主,低速移动用户使用非成对频谱为主,当成对和非成对频谱无法单独完成业务需求时,综合为成对和非成对频谱提供业务。本发明的基站、终端及方法可提高频谱使用效率、增强业务提供能力、降低基站和终端综合成本。

Figure 200610003173

The present invention provides a base station, a mobile terminal and a method for comprehensively using paired and unpaired frequency spectrums. The base station uses paired FDD (frequency division duplex) frequency spectrum and unpaired TDD (time division duplex) frequency spectrum and corresponding processing resources. Combined for comprehensive scheduling, the terminal has a variety of duplex modes; by sharing the baseband processing resources for transmission and reception and receiving resources for TDD reception processing through the FDD channel during the TDD transmission process, the information processing resources of the base station are shared. ;The uplink part of the paired spectrum of the FDD system shares a transmission channel with the TDD spectrum to realize the sharing of base station channel resources; through the high-speed mobile users mainly use the paired spectrum, and the low-speed mobile users mainly use the non-paired spectrum. When the service requirements cannot be fulfilled independently with the paired and unpaired spectrum, services are provided for the paired and unpaired spectrum. The base station, terminal and method of the present invention can improve spectrum utilization efficiency, enhance service provision capability, and reduce comprehensive cost of base station and terminal.

Figure 200610003173

Description

The comprehensive use in pairs and base station, portable terminal and the method for non-paired frequency spectrum
Technical field
The present invention relates to wireless communication field, relate in particular to comprehensive use in pairs and base station, portable terminal and the method for non-paired frequency spectrum.
Background technology
Duplex mode is one of feature of distinguishing legacy wireless communication system, also is the essential characteristic that the needs in the system are considered.The duplex mode that many performance and systems adopted of communication system is closely related, and for example: 1) system is to the flexibility of frequency spectrum use; 2) terminal and base station complexity; 3) the use ability of channel information; 4) networking capability; 5) interworking between network ability; 6) to the tenability of moving velocity of terminal.
The duplex mode that the existing communication system is adopted mainly contains three kinds: 1) pure TDD (time division duplex) mode, as the PHS system; 2) pure FDD (Frequency Division Duplexing (FDD)) mode is as the WCDMA system; 3) half-duplex FDD mode is as gsm system.
The major advantage of pure TDD mode is: 1) need not paired frequency spectrum, be convenient to frequency planning; 2) the Receiver And Transmitter channels designs is simple; 3) be convenient to utilize property of channel reciprocity may, make the simplicity of design of smart antenna.The major defect of pure TDD mode is: when 1) overlay area was excessive, the frequency spectrum service efficiency was lower than the FDD mode; 2) support the high-speed mobile aspect not as the FDD mode.
The major advantage of pure FDD mode is: 1) be fit to support high-speed mobile; 2) be fit to big overlay area.The major defect of pure FDD mode is: 1) need paired frequency spectrum, bring the difficulty in the frequency spectrum planning; 2) use of property of channel reciprocity may has difficulties, and makes the design difficulty of smart antenna strengthen; 3) the up-downgoing frequency spectrum uses underaction when supporting non-symmetrical service.
Half-duplex FDD and pure FDD compare, and its advantage is: 1) terminal transmitting-receiving time-sharing work causes terminal passageway simple in structure, and cost is lower; 2) time-multiplexed introducing causes measuring, the realization of function such as switching is easy.
At present, in the research in this field, various duplex modes have been carried out comprehensive assessment, and " arrangement of duplex mode in the following broadband wireless interface (Duplex arrangements for future broadband radio interfaces.IST-2003-507581WINNER D2.5 v1.0) " carried out comprehensive assessment to 7 kinds of possible duplex modes as the report in the IST of European Union (informationized society technology) project: 1) pure FDD; 2) pure TDD; 3) half-duplex FDD (GSM); 4) introduce TDD in the FDD uplink spectrum; 5) introduce TDD in the FDD downstream spectrum; 6) FDD of up-downgoing switching; 7) paired TDD.In addition, this report is also discussed CDD.The purpose of these researchs is to seek new duplex mode, perhaps seeks the mode that existing TDD, FDD duplex mode are effectively made up, and reaches the advantage of effectively utilizing TDD and FDD, avoids the purpose of the shortcoming of TDD and FDD as far as possible.
Though several mixing duplex (or cooperative dual duplex) modes of enumerating among the IST WINNER project research report IST-2003-507581 WINNER D2.5 v1.0 have all been improved the deficiency of pure TDD and pure FDD to a certain extent, but, the analysis that the situation that these mixing duplex modes all are based on a pair of FDD frequency spectrum or two TDD frequency spectrums is carried out, there is not to analyze the situation that FDD frequency spectrum (or frequency spectrum) in pairs and TDD frequency spectrum (or non-paired frequency spectrum) are comprehensively used, the a pair of FDD frequency spectrum that particularly has very strong practicality adds the situation of one section TDD frequency spectrum, and IST WINNER project research report IST-2003-507581 WINNER D2.5 v1.0 does not analyze.
In the prior art, discussion for flexible use TDD, FDD duplex mode, mainly concentrate on following several respects, from improving the frequency spectrum service efficiency, strengthening professional providing capability, reducing by three aspects of integrated cost of base station and terminal takes all factors into consideration, the various schemes of prior art also have corresponding separately shortcoming, provide several prior art schemes below:
1) introduce the TDD mode in the downstream spectrum of FDD, the frequency spectrum that provides uses the FDD/TDD resource regulating method in division, terminal structure, the FDD downstream spectrum.The characteristics of its terminal structure are two transmission channels and a receive path; The characteristics of the FDD/TDD resource regulating method in its FDD downstream spectrum are the time slot of the nearest terminal from the base station is arranged in the both sides of up-downgoing translation and protection time slot; the terminal of arranging to both sides from the protection time slot is more and more far away from the base station; when terminal after the distance of base station is greater than certain value, just allow this terminal works in the FDD mode.
Its shortcoming mainly is: a) only consider a pair of FDD frequency spectrum on base station and terminal structure, do not have to consider more comprehensive frequency spectrum operating position, add the situation of one section TDD frequency spectrum as the FDD frequency spectrum; B) transmission channel of terminal has two, and receive path has only one, and this is unfavorable for terminal support high-speed downloads business and radio environment measurements; In addition, from scheduling of resource, being arranged into position near the time slot transfer point, far away being arranged near the terminal of base station from time slot transfer point position far away from the base station, farther terminal is arranged in fdd mode, and its shortcoming of such processing is the resource optimization that is unfavorable for high speed mobile terminal.
2) under the situation that the TDD system is covered by the FDD system, use remainder in the uplink spectrum of FDD as the data feedback channel of terminal FDD working method, use the down going channel of TDD frequency spectrum as terminal FDD working method, thereby, the FDD duplex mode of formation one " virtual ".This kind scheme is used the main benefit that the remainder in the uplink spectrum of FDD obtains and is: a) made full use of the remainder in the uplink spectrum of FDD; B) reduced of the interference of TDD terminal to the FDD base station.Wherein, the TDD base station is shaped by downlink wave beam and has alleviated interference to the FDD base station, and the TDD base station is shaped by uplink beam and has alleviated the interference of FDD terminal to the TDD base station.
This shortcoming of using the scheme of the up residual spectrum of FDD is: from the angle of comprehensive use TDD, FDD frequency spectrum TDD and FDD system are not carried out comprehensive Design, just provided and how to have allowed a TDD system that lays separately go to use the method that remainder in another FDD uplink spectrum of laying separately assigns to constitute virtual FDD link, there is TDD system and the FDD system difficulty on coordinating in this scheme in realization, and, can only be to use around the TDD base station in each FDD base station that part of frequency spectrum of quantity minimum in the residual spectrum; Its shortcoming that reduces the method for the interference between TDD terminal and base station and FDD terminal and the base station is: need the coordination complicated between TDD system and the FDD system and the careful network planning, in fact, TDD and FDD system only are only more serious near 1920MHz, and this interference is can be by the comprehensive Design of TDD and FDD system and effectively collaborative the inhibition.
3) filter of traditional transceiver is moved on to before the channel switch, by radio-frequency (RF) switch combination flexibly, the realization system works on different frequency range with different duplex modes (TDD or FDD).
This scheme just is described filter in the transceiver that can support TDD, FDD mixing duplex and the structural relation between the switch, though its structure can be supported TDD and FDD duplex neatly, but and target of the present invention and inconsistent, as, this structure can't be used a pair of FDD frequency spectrum and a TDD frequency spectrum simultaneously.
In a word, prior art can't be accomplished: simultaneously comprehensively use in pairs and non-paired frequency spectrum, improve the frequency spectrum service efficiency, strengthen professional providing capability, reduce the integrated cost of base station and terminal.
Summary of the invention
Technical problem to be solved by this invention is, provide a kind of comprehensive use in pairs and base station, portable terminal and the method for non-paired frequency spectrum, can comprehensively use in pairs and the base station and the terminal structure of non-paired frequency spectrum by adopting, to reach and improve the frequency spectrum service efficiency, strengthen professional providing capability, reduce the purpose of the integrated cost of base station and terminal.
The invention provides a kind of comprehensive use in pairs and the base station of non-paired frequency spectrum, comprising:
Multiband aerial comprises the frequency range that is used for paired frequency spectrum and is used for non-paired frequency spectrum;
First transmission channel is operated on the non-paired frequency spectrum;
First receive path is operated on the non-paired frequency spectrum;
Second receive path is operated on the uplink spectrum of paired frequency spectrum;
Second transmission channel is operated on the downstream spectrum of paired frequency spectrum;
Radio-frequency (RF) switch is used for switching between described first transmission channel and first receive path, finishes time division duplex;
The multiband filter links to each other with described multiband aerial, radio-frequency (RF) switch, second receive path, second transmission channel, is used for carrying out filtering in the frequency range of correspondence for receiving with the signal of launching;
Baseband processing module is used in emission, links to each other with described first, second transmission channel, is used to provide described first, second transmission channel needed Base-Band Processing;
Receive and use baseband processing module, link to each other, be used to provide described first, second receive path needed Base-Band Processing with described first, second receive path.
Described multiband aerial comprises antenna that is used for paired frequency spectrum and the antenna that is used for non-paired frequency spectrum.Described non-paired frequency spectrum comprises the time division duplex frequency spectrum, or the idle frequency spectrum of using from other frequency ranges.Described paired frequency spectrum is the Frequency Division Duplexing (FDD) frequency spectrum.Described multiband filter comprises:
First filter links to each other with described radio-frequency (RF) switch, is operated on the non-paired frequency spectrum;
Second filter links to each other with described second receive path, is operated on the uplink spectrum of paired frequency spectrum;
The 3rd filter links to each other with described second transmission channel, is operated on the downstream spectrum of paired frequency spectrum.
The present invention also provides a kind of comprehensive use in pairs and the base station of non-paired frequency spectrum, comprising:
Multiband aerial comprises the frequency range that is used for paired frequency spectrum and is used for non-paired frequency spectrum;
First transmission channel is the tunable radio frequency passage;
First receive path is operated on the non-paired frequency spectrum;
Second receive path is operated on the uplink spectrum of paired frequency spectrum;
Second transmission channel is operated on the downstream spectrum of paired frequency spectrum;
First radio-frequency (RF) switch is used for switching between described first transmission channel and first receive path, finishes time division duplex;
Second radio-frequency (RF) switch is used for switching between described first transmission channel and second receive path, when using non-paired frequency spectrum received signal, switches gating first transmission channel, when using non-paired spectral emission signal, switches gating second receive path;
Wherein, described first transmission channel dynamically switches frequency spectrums of operation between non-paired frequency spectrum and paired frequency spectrum uplink spectrum according to by the state of described first, second radio-frequency (RF) switch gating;
The multiband filter links to each other with described multiband aerial, first radio-frequency (RF) switch, second radio-frequency (RF) switch, second transmission channel, is used for carrying out filtering in the frequency range of correspondence for receiving with the signal of launching;
Baseband processing module is used in emission, links to each other with described first, second transmission channel, is used to provide described first, second transmission channel needed Base-Band Processing;
Receive and use baseband processing module, link to each other, be used to provide described first, second receive path needed Base-Band Processing with described first, second receive path.
Wherein, described base station, when described first transmission channel by the first radio-frequency (RF) switch gating, and during not by the second radio-frequency (RF) switch gating, described first transmission channel is adjusted to and is operated on the non-paired frequency spectrum; When described first transmission channel not by the first radio-frequency (RF) switch gating, and during by the second radio-frequency (RF) switch gating, described first transmission channel is adjusted on the uplink spectrum that is operated in paired frequency spectrum.
Described multiband aerial comprises antenna that is used for paired frequency spectrum and the antenna that is used for non-paired frequency spectrum.Described non-paired frequency spectrum comprises the time division duplex frequency spectrum, or the idle frequency spectrum of using from other frequency ranges.Described paired frequency spectrum is the Frequency Division Duplexing (FDD) frequency spectrum.Described multiband filter comprises:
First filter links to each other with described first radio-frequency (RF) switch, is operated on the non-paired frequency spectrum;
Second filter links to each other with described second radio-frequency (RF) switch, is operated on the uplink spectrum of paired frequency spectrum;
The 3rd filter links to each other with described second transmission channel, is operated on the downstream spectrum of paired frequency spectrum.
The present invention also provides a kind of comprehensive use in pairs and the portable terminal of non-paired frequency spectrum, comprising:
Multiband aerial comprises the frequency range that is used for paired frequency spectrum and is used for non-paired frequency spectrum;
Transmission channel is the tunable radio frequency passage;
First receive path is the tunable radio frequency passage;
Second receive path is operated on the downstream spectrum of paired frequency spectrum;
First radio-frequency (RF) switch is used for switching between described transmission channel, sky, first receive path;
Second radio-frequency (RF) switch is used for switching between described transmission channel, sky, first receive path;
Wherein, described transmission channel, first receive path dynamically switch frequency spectrums of operation between non-paired frequency spectrum and paired frequency spectrum uplink spectrum according to the state that is switched gating by described first, second radio-frequency (RF) switch;
The multiband filter links to each other with described multiband aerial, first radio-frequency (RF) switch, second radio-frequency (RF) switch, second receive path, is used for carrying out filtering in the frequency range of correspondence for receiving with the signal of launching;
Baseband processing module is used in emission, links to each other with described transmission channel, is used to provide transmission channel needed Base-Band Processing;
Receive and use baseband processing module, link to each other, be used to provide described first, second receive path needed Base-Band Processing with described first, second receive path.
When the described second radio-frequency (RF) switch gating transmission channel, during the first radio-frequency (RF) switch gating, first receive path, described transmission channel is adjusted to the uplink spectrum of paired frequency spectrum, and first receive path is adjusted on the non-paired frequency spectrum; Wherein, described second receive path and transmission channel constitute the Frequency Division Duplexing (FDD) mode of operation; Described first receive path is used for Data Receiving or the monitoring on the non-paired frequency spectrum.
When the described second radio-frequency (RF) switch gating, first receive path, during the first radio-frequency (RF) switch gating transmission channel, described transmission channel is adjusted on the non-paired frequency spectrum, and first receive path is adjusted to the uplink spectrum of paired frequency spectrum; Wherein, described second receive path and transmission channel constitute the Frequency Division Duplexing (FDD) mode of operation, and use the uplink spectrum of non-paired frequency spectrum as Frequency Division Duplexing (FDD); Described first receive path is used for Data Receiving or the monitoring on the uplink spectrum of paired frequency spectrum.
When the described second radio-frequency (RF) switch gating, first receive path, during the first radio-frequency (RF) switch gating transmission channel, described transmission channel is adjusted on the non-paired frequency spectrum, and first receive path is adjusted to the uplink spectrum of paired frequency spectrum; Wherein, first receive path and transmission channel constitute the Frequency Division Duplexing (FDD) mode of operation; Second receive path uses the downstream spectrum of paired frequency spectrum to carry out Data Receiving or monitoring.
When the described second radio-frequency (RF) switch gating transmission channel, during the first radio-frequency (RF) switch gating, first receive path, described transmission channel is adjusted to the uplink spectrum of paired frequency spectrum, and first receive path is adjusted to non-paired frequency spectrum; Wherein, first receive path and transmission channel constitute the Frequency Division Duplexing (FDD) mode of operation; Second receive path uses the downstream spectrum of paired frequency spectrum to carry out Data Receiving or monitoring.
When described second radio-frequency (RF) switch places sky, when first radio-frequency (RF) switch was switched between the transmission channel and first receive path, the described transmission channel and first receive path were all adjusted on the non-paired frequency spectrum, used non-paired frequency spectrum to constitute the time division duplex mode of operation; Wherein, second receive path uses the downstream spectrum of paired frequency spectrum to carry out Data Receiving or monitoring.
When described first radio-frequency (RF) switch places sky, when second radio-frequency (RF) switch is switched between the transmission channel and first receive path, the described transmission channel and first receive path are all adjusted to the uplink spectrum of paired frequency spectrum, use the uplink spectrum of paired frequency spectrum to constitute the time division duplex mode of operation; Wherein, second receive path uses the downstream spectrum of paired frequency spectrum to carry out Data Receiving or monitoring.
Described multiband aerial comprises antenna that is used for paired frequency spectrum and the antenna that is used for non-paired frequency spectrum.
The present invention also provides a kind of and comprehensively uses in pairs and the method for non-paired frequency spectrum in wireless communication system, comprises the steps:
The base station uses non-paired frequency spectrum to be used for its first transmission channel and first receive path;
The base station uses the downstream spectrum of paired frequency spectrum to be used for its second transmission channel, and uses the uplink spectrum of paired frequency spectrum to be used for its second receive path;
Receive in the emission baseband processing resource in described each transmission channel sharing base, described each receive path sharing base and use baseband processing resource.
Described method further comprises:
Portable terminal uses the downstream spectrum of paired frequency spectrum to be used for its second receive path, and uses the uplink spectrum of paired frequency spectrum to be used for its transmission channel, constitutes the Frequency Division Duplexing (FDD) mode of operation;
Portable terminal uses non-paired frequency spectrum to be used for its first receive path.
Described method further comprises:
Portable terminal uses the downstream spectrum of paired frequency spectrum to be used for its second receive path, and uses non-paired frequency spectrum to be used for its transmission channel, as the uplink spectrum of Frequency Division Duplexing (FDD), constitutes the Frequency Division Duplexing (FDD) mode of operation;
Portable terminal uses the uplink spectrum of paired frequency spectrum to be used for its first receive path.
Described method further comprises:
Portable terminal uses the uplink spectrum of paired frequency spectrum to be used for its first receive path, and uses non-paired frequency spectrum to be used for its transmission channel, constitutes the Frequency Division Duplexing (FDD) mode of operation;
Portable terminal uses the downstream spectrum of paired frequency spectrum to be used for its second receive path.
Described method further comprises:
Portable terminal uses the uplink spectrum of paired frequency spectrum to be used for its transmission channel, and uses non-paired frequency spectrum to be used for its first receive path, constitutes the Frequency Division Duplexing (FDD) mode of operation;
Portable terminal uses the downstream spectrum of paired frequency spectrum to be used for its second receive path.
Described method further comprises:
Portable terminal uses non-paired frequency spectrum to be used for its transmission channel and first receive path, constitutes the time division duplex mode of operation;
Portable terminal uses the downstream spectrum of paired frequency spectrum to be used for its second receive path.
Described method further comprises:
Portable terminal uses the uplink spectrum of paired frequency spectrum to be used for its transmission channel and first receive path, constitutes the time division duplex mode of operation;
Portable terminal uses the downstream spectrum of paired frequency spectrum to be used for its second receive path.
The present invention also provides a kind of and comprehensively uses in pairs and the method for non-paired frequency spectrum in wireless communication system, comprises the steps:
The base station uses non-paired frequency spectrum to be used for its first receive path;
The base station uses the downstream spectrum of paired frequency spectrum to be used for its second transmission channel, and uses the uplink spectrum of paired frequency spectrum to be used for its second receive path;
When non-paired frequency spectrum received signal was used in the base station, this base station used the uplink spectrum of paired frequency spectrum to be used for its first transmission channel;
When non-paired spectral emission signal was used in the base station, this base station used non-paired frequency spectrum to be used for its first transmission channel;
Receive in the emission baseband processing resource in described each transmission channel sharing base, described each receive path sharing base and use baseband processing resource.
Described method further comprises:
Portable terminal uses the downstream spectrum of paired frequency spectrum to be used for its second receive path, and uses the uplink spectrum of paired frequency spectrum to be used for its transmission channel, constitutes the Frequency Division Duplexing (FDD) mode of operation;
Portable terminal uses non-paired frequency spectrum to be used for its first receive path.
Described method further comprises:
Portable terminal uses the downstream spectrum of paired frequency spectrum to be used for its second receive path, and uses non-paired frequency spectrum to be used for its transmission channel, as the uplink spectrum of Frequency Division Duplexing (FDD), constitutes the Frequency Division Duplexing (FDD) mode of operation;
Portable terminal uses the uplink spectrum of paired frequency spectrum to be used for its first receive path.
Described method further comprises:
Portable terminal uses the uplink spectrum of paired frequency spectrum to be used for its first receive path, and uses non-paired frequency spectrum to be used for its transmission channel, constitutes the Frequency Division Duplexing (FDD) mode of operation;
Portable terminal uses the downstream spectrum of paired frequency spectrum to be used for its second receive path.
Described method further comprises:
Portable terminal uses the uplink spectrum of paired frequency spectrum to be used for its transmission channel, and uses non-paired frequency spectrum to be used for its first receive path, constitutes the Frequency Division Duplexing (FDD) mode of operation;
Portable terminal uses the downstream spectrum of paired frequency spectrum to be used for its second receive path.
Described method further comprises:
Portable terminal uses non-paired frequency spectrum to be used for its transmission channel and first receive path, constitutes the time division duplex mode of operation;
Portable terminal uses the downstream spectrum of paired frequency spectrum to be used for its second receive path.
Described method further comprises:
Portable terminal uses the uplink spectrum of paired frequency spectrum to be used for its transmission channel and first receive path, constitutes the time division duplex mode of operation;
Portable terminal uses the downstream spectrum of paired frequency spectrum to be used for its second receive path.
The present invention also provides a kind of method of carrying out allocation of radio resources in pairs with non-paired frequency spectrum that fully utilizes, and comprises the steps:
(1) portable terminal reports its duplex mode information to network side, comprises dual-mode and band information that this terminal is supported;
(2) portable terminal reports its motion state and service requesting information to network side;
(3) network side is determined this portable terminal support time division duplex and Frequency Division Duplexing (FDD), and is determined corresponding frequency range according to the described duplex mode information that receives;
(4) network side judges according to the motion state information of this portable terminal that receives whether this portable terminal is in high-speed moving state, if be the traffic assignments resource of this terminal request in paired frequency spectrum then; If not, then in non-paired frequency spectrum the traffic assignments resource of this terminal request.
Described step (4) further comprises:
If in non-paired frequency spectrum, can't find required service resources, the traffic assignments resource that the non-paired and paired frequency spectrum of then comprehensive use is this terminal request.
Described step (4) further comprises:
If still can't find required service resources in non-paired and paired frequency spectrum, then refusal is this Terminal Service.
Described step (3) further comprises:
If network side, determines this portable terminal according to the duplex mode information that receives and can not comprehensively support time division duplex and Frequency Division Duplexing (FDD), in dual-mode that this terminal is supported and frequency range, be its Resources allocation then.
The present invention has realized the comprehensive use to TDD frequency spectrum and FDD frequency spectrum, simultaneously, eliminated present TDD base station, terminal and FDD base station, terminal independently exist the network that causes lay complicated, terminal is various informative and TDD system and FDD system intercommunication problem, eliminate the boundary of TDD terminal and FDD terminal, significantly reduced the integrated cost of terminal and system.
Description of drawings
Fig. 1 be a kind of comprehensive use in pairs and the system configuration of non-paired frequency spectrum;
Fig. 2 is the architecture of base station that a kind of TDD and FDD share baseband processing resource;
Fig. 3 is the architecture of base station that another kind of TDD and FDD share transmission channel and baseband processing resource;
Fig. 4 be a kind of comprehensive use in pairs and the terminal structure of non-paired frequency spectrum;
Fig. 5 is a kind of the comprehensive utilization in pairs and the RRM flow chart of non-paired frequency spectrum.
Embodiment
Describe the present invention below in conjunction with preferred embodiment of the present invention and accompanying drawing.
As shown in Figure 1, comprehensive use of the present invention is made up ofseveral base stations 101 and several terminal 106 two parts in pairs and the system of non-paired frequency spectrum.
Same base station 101 comprehensive FDD and the TDD frequency spectrums of using, a kind of method is: thedownstream spectrum 103 of FDD frequency spectrum is used as a transmission channel CH_[BS-(FDD-DL)-T in base station 101], theuplink spectrum 105 of using FDD is as a receive path CH_[BS-(FDD-UL)-R], in addition,same base station 101 also uses non-paired frequency spectrum (as the TDD frequency spectrum) 104 to be used for transmission channel CH_ (BS-TDD-T) and receive path CH_ (BS-TDD-R);Terminal 106 receives only signal on thedownstream spectrum 103 of FDD frequency spectrum, terminal 106 can receive on theuplink spectrum 105 of FDD or send signal, also can transmit or received signal onTDD frequency spectrum 104.
Same base station 101 comprehensive FDD and the TDD frequency spectrums of using, another kind method is: thedownstream spectrum 103 of FDD frequency spectrum is used as a transmission channel CH_[BS-(FDD-DL)-T in base station 101], theuplink spectrum 105 of using FDD is as a transmission channel CH_[BS-(FDD-UL)-T] and a receive path CH_[BS-(FDD-UL)-R], in addition,same base station 101 also uses non-paired frequency spectrum (as the TDD frequency spectrum) 104 to be used for transmission channel CH_ (BS-TDD-T) and receive path CH_ (BS-TDD-R);Terminal 106 receives only signal on thedownstream spectrum 103 of FDD frequency spectrum, terminal 106 can receive or send signal on theuplink spectrum 105 of FDD, terminal 106 also can be onTDD frequency spectrum 104 received signal or transmit.
Non-paired frequency spectrum 104 can be the TDD frequency spectrum described in the system, also can be the idle frequency spectrum of using from other frequency ranges, as the ground TV broadcast frequency spectrum of free time.
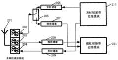
As shown in Figure 2, a kind ofbase station 101 of the present invention comprises: multiband aerial (comprising antenna sets) 201, multiband filter (comprising bank of filters) 202,203,204, radio-frequency (RF) switch (comprising switches set) 205, transmission channel (comprising channel group) 206,209, receive path (comprising channel group) 207,208, emission receives withbaseband processing module 211 withbaseband processing module 210.
Multiband aerial 201 is the multiband aerial groups that are made of a plurality of antennas.In the multiband aerial 201, TDD frequency spectrum and FDD frequency spectrum use different antennas, be used for TDD frequency spectrum antenna with the antenna that is used for the FDD frequency spectrum between take usually to isolate, with assurance good isolation degree.
Filter 202 in the multiband bank of filters is the filters that are operated in non-paired frequency spectrum (as the TDD frequency spectrum) 104;Filter 203 in the multiband bank of filters is the filters that are operated in theuplink spectrum 105 of the paired frequency spectrum of FDD;Filter 204 in the multiband bank of filters is the filters that are operated in thedownstream spectrum 103 of the paired frequency spectrum of FDD.
Radio-frequency (RF)switch 205 is used for the switching betweentransmission channel 206 and the receivepath 207, is implemented in the TDD duplex on the non-paired frequency spectrum (as the TDD frequency spectrum) 104.
Emission is used for transmission channel 206,209 needed Base-Band Processing withbaseband processing module 210, and transmission channel 206,209 is shared the resource of emission withbaseband processing module 210.
Receive withbaseband processing module 211, be used for receive path 207,208 needed Base-Band Processing, receive path 207,208 is shared the resource that receives withbaseband processing module 211.
Describedtransmission channel 206 and receivepath 207 are one group of independently passages in smart antenna application, and this moment, radio-frequency (RF)switch 205 was one group of independently switch, comprised the antenna of one group of forming array in the multiband aerial 201.
As shown in Figure 3, another kind ofbase station 101 of the present invention comprises, multiband aerial (comprising antenna sets) 201, multiband filter (comprising bank of filters) 202,203,204, radio-frequency (RF) switch (comprising switches set) 205, transmission channel (comprising channel group) 209, receive path (comprising channel group) 207,208, emission receives withbaseband processing module 211, radio-frequency (RF) switch (comprising switches set) 301 and tunable radio frequency passage (comprising channel group) 302 withbaseband processing module 210.
Radio-frequency (RF)switch 301 is used for the switching of tunableradio frequency passage 302 between FDD uplink spectrum and TDD frequency spectrum, makes shared tunable radio frequency passage (or channel group) 302 between FDD uplink spectrum and the TDD frequency spectrum.
Tunableradio frequency passage 302 is the passages that working frequency range can be controlled.Whenbase station 101 on the TDD frequency spectrum during received signal, tunableradio frequency passage 302 is switched to the FDD uplink spectrum, has disconnected being connected of receivepath 208 and filter 203 this moment, tunableradio frequency passage 302 uses the FDD uplink spectrum toterminal 106 transmission data.A transmission channel dynamically is applied to has saved the base station cost on two sections frequency spectrums, and this can accomplish that just base station does not in the past possess this ability under only comprehensively using the condition of TDD and FDD frequency spectrum in the base station, also is one of target of pursuing of the present invention.
Realize smart antenna in order to make full use of TDD system channel reciprocity property, a kind of scheme of passage preferably is: multiband aerial 201 and receivepath 207 adopt the form of channel group.
As shown in Figure 4,terminal 106 of the present invention, comprise: multiband aerial (comprising antenna sets) 401, filter (comprising bank of filters) 402,403 and 404, radio-frequency (RF) switch 405,406,adjustable transmission channel 407, adjustable receivepath 408 and receivepath 409, emission receives withbaseband processing module 411 withbaseband processing module 410.
Multiband aerial 401 can be the multiband aerial that an antenna constitutes, and also can be the multiband aerial group that a plurality of antennas constitute.
In the bank of filters (402,403 and 404) 402 is operated in non-(as TDD) frequency spectrum in pairs; In 403 uplink spectrum that are operated in the paired frequency spectrum of FDD; In 404 downstream spectrum that are operated in the paired frequency spectrum of FDD.
The diverse location combination of radio-frequency (RF) switch 405,406 in conjunction with the cooperation of adjustable receivepath 408, makes terminal form multiple duplex mode and frequency spectrum occupation mode.
Emission is used foradjustable transmission channel 407 needed Base-Band Processing withbaseband processing module 410;
Receive withbaseband processing module 411, be used for receivepath 409, adjustable receivepath 408 needed Base-Band Processing, receivepath 409 is shared the resource that receives withbaseband processing module 411 with adjustable receivepath 408.
Described radio-frequency (RF) switch 405,406 cooperates the terminal work mode that can realize as follows withadjustable transmission channel 407, adjustable receive path 408:
1) implementation method of 4 kinds of FDD (or half-duplex FDD) pattern on the terminal
First method: switch 406 places position a,adjustable transmission channel 407 is adjusted toFDD uplink spectrum 105,switch 405 is as for position e simultaneously, adjustable receivepath 408 is adjusted toTDD frequency spectrum 104, under this configuration, receivepath 409 constitutes fdd mode (perhaps half-duplex fdd mode) withadjustable transmission channel 407, and adjustable receivepath 408 can be used for Data Receiving or monitoring on theTDD frequency spectrum 104.
Second method: switch 406 places position e,adjustable transmission channel 407 is adjusted toTDD frequency spectrum 104,switch 405 is as for position a simultaneously, adjustable receivepath 408 is adjusted to FDD frequencyspectrum uplink spectrum 105, under this configuration, receivepath 409 constitutes fdd mode (perhaps half-duplex fdd mode) withadjustable transmission channel 407, use the uplink spectrum ofTDD frequency spectrum 104 as FDD, and adjustable receivepath 408 can be used for Data Receiving or monitoring on theFDD uplink spectrum 105.
The third method: switch 406 places position e,adjustable transmission channel 407 is adjusted toTDD frequency spectrum 104,switch 405 is as for position a simultaneously, adjustable receivepath 408 is adjusted to FDD frequencyspectrum uplink spectrum 105,switch 301 in this terminal configuration and thebase station 101 places position a,adjustable transmission channel 302 is adjusted toFDD uplink spectrum 105 and is matched, make the adjustable receivepath 408 of terminal constitute fdd mode (perhaps half-duplex fdd mode), and receivepath 409 use FDDdownstream spectrum 103 to carry out Data Receiving or monitoring withadjustable transmission channel 407.
The 4th kind of method: switch 406 places position a,adjustable transmission channel 407 is adjusted toFDD uplink spectrum 105,switch 405 is as for position e simultaneously, adjustable receivepath 408 is adjusted toTDD frequency spectrum 104,switch 301 in this terminal configuration and thebase station 101 places position b to match, adjustable receivepath 408 constitutes fdd mode (perhaps half-duplex fdd mode) withadjustable transmission channel 407, and receivepath 409 uses FDDdownstream spectrum 103 to carry out Data Receiving or monitoring.
2) implementation method of 2 kinds of tdd modes on the terminal
First method: switch 406 places position b,switch 405 switches between position a and position e, simultaneously,adjustable transmission channel 407 and adjustable receivepath 408 are adjusted toTDD frequency spectrum 104, just formed a kind of terminal of TDD mode of operation of the TDD of use frequency spectrum, and receivepath 409 uses FDDdownstream spectrum 103 to carry out Data Receiving or monitoring;
Second method: switch 405 places position b,switch 406 switches between position a and position e, simultaneously,adjustable transmission channel 407 and adjustable receivepath 408 are adjusted toFDD uplink spectrum 105, just formed a kind of terminal of TDD mode of operation of the FDD ofuse uplink spectrum 105, and receivepath 409 uses FDDdownstream spectrum 103 to carry out Data Receiving or monitoring.
As shown in Figure 5, the present invention also provides a kind of comprehensive use in pairs and the radio resource management method of non-paired frequency spectrum, comprises the steps:
Step 501: terminal reports its duplex mode information to network, and wherein, the terminal duplex mode information comprises duplexing kind of being supported and the frequency range of being supported;
Step 502: terminal reports its motion state to network, comprises positional information etc.;
Step 503: terminal reports its service request to network, comprises the QoS rank of class of service, requirement;
Step 504: network (passing through radio resource managing unit) is according to the duplex mode information of terminal to report in thestep 501, judge whether this terminal is duplexing flexibly terminal, if not, step 509 just entered, if duplexing flexibly terminal then entersstep 505;
Step 505: network (passing through radio resource managing unit) judges according to the motion state information of terminal to report in thestep 502 whether terminal is the terminal that is in the high-speed moving state, if, enterstep 511, if not, step 506 just entered;
Step 506: network (passing through radio resource managing unit) judges whether and can find operable resource in non-paired frequency spectrum the inside, if can find, just enter step 510,, just enterstep 507 if can't find the resource that satisfies the demanding terminal business in non-paired frequency spectrum the inside;
Step 507: network (passing through radio resource managing unit) in pairs with non-to becoming resource comprehensively to judge, if there is the resource that can satisfy the terminal request business, just enter step 508, if can't satisfy the terminal resource needed integrating also with non-paired frequency spectrum resource in pairs, just enterstep 512;
Step 508: provide resource integrating to terminal with non-paired frequency spectrum in pairs;
Step 509: certain duplex mode and frequency spectrum resource the inside in its qualification are its Resources allocation;
Step 510: in non-paired frequency spectrum the inside is the traffic assignments resource of terminal request, and in order to realize better interference suppressioning effect,base station 101 adopts the smart antenna mode to provide professional for terminal;
Step 511; It is Resources allocation in paired frequency spectrum;
Step 512: refuse to be Terminal Service.
Embodiment 1:
A kind of base station and terminal of comprehensive use 3G core frequency band.
The structure ofbase station 101 as shown in Figure 2, the structure ofterminal 106 as shown in Figure 4,base station 101 and terminal 106 comprehensive FDD frequency spectrum and the TDD frequency spectrums that use International Telecommunication Union to divide are seen Fig. 1.The FDDDL frequency spectrum 103 thatbase station 101 and terminal 106 are used is that the interior part or all of frequency spectrum of 2110~2170MHz scope is as down going channel; The FDDUL frequency spectrum 105 that usebase station 101 is that the interior part or all of frequency spectrum of 1920~1980MHz scope is as data feedback channel; Thenon-paired frequency spectrum 104 thatbase station 101 and terminal 106 used be part or all of frequency spectrum in 2010~2025MHz scope as the up-downgoing passage, or the part or all of frequency spectrum in 1880~1920MHz scope is as the up-downgoing passage.
Terminal 106 is supported multiple duplex mode and frequency spectrum occupation mode, and a kind of method is the following signalling that receivesbase station 101 onfrequency spectrum 104, sends signal byfrequency spectrum 105 tobase station 101.
Embodiment 2:
The base station and the terminal of a kind of comprehensive use 3G core frequency band and television broadcasting frequency spectrum.
The structure ofbase station 101 as shown in Figure 2, the structure ofterminal 106 as shown in Figure 4,base station 101 and terminal 106 comprehensive FDD frequency spectrum and the television broadcasting frequency spectrums that use International Telecommunication Union to divide are seen Fig. 1.The FDDDL frequency spectrum 103 thatbase station 101 and terminal 106 are used is the part or all of frequency spectrums in 2110~2170MHz scope; The FDDUL frequency spectrum 105 that usebase station 101 is the part or all of frequency spectrums in 1920~1980MHz scope; Thenon-paired frequency spectrum 104 thatbase station 101 and terminal 106 are used is the partial frequency spectrums in 400~800MHz scope.
Embodiment 3:
A kind of base station and terminal of comprehensive use 3G core frequency band.
The structure ofbase station 101 as shown in Figure 2, the structure ofterminal 106 as shown in Figure 4,base station 101 and terminal 106 comprehensive FDD frequency spectrum and the TDD frequency spectrums that use International Telecommunication Union to divide are seen Fig. 1.High end parts in FDDDL frequency spectrum 103 usefulness 2500~2690MHz scope thatbase station 101 and terminal 106 are used is as down going channel;Base station 101 uses FDD UL frequency spectrum (as the lower portion in 2500~2690MHz scope) as data feedback channel, perhaps uses FDD UL frequency spectrum (as the lower portion in 2500~2690MHz scope) as data feedback channel and down going channel;Base station 101 is non-to becoming frequency spectrum (as the mid portion in 2500~2690MHz scope) with thenon-paired frequency spectrum 104 that terminal 106 is used, and this part frequency spectrum is as the uplink and downlink passage.
Thenon-paired frequency spectrum 104 thatbase station 101 and terminal 106 are used also can be the partial frequency spectrum in 400~800MHz scope, is used to support digital TV broadcasting service.

Claims (32)

1, the base station of the paired and non-paired frequency spectrum of a kind of comprehensive use is characterized in that, comprising:
Multiband aerial comprises the frequency range that is used for paired frequency spectrum and is used for non-paired frequency spectrum;
First transmission channel is operated on the non-paired frequency spectrum;
First receive path is operated on the non-paired frequency spectrum;
Second receive path is operated on the uplink spectrum of paired frequency spectrum;
Second transmission channel is operated on the downstream spectrum of paired frequency spectrum;
Radio-frequency (RF) switch is used for switching between described first transmission channel and first receive path, finishes time division duplex;
The multiband filter links to each other with described multiband aerial, radio-frequency (RF) switch, second receive path, second transmission channel, is used for carrying out filtering in the frequency range of correspondence for receiving with the signal of launching;
Baseband processing module is used in emission, links to each other with described first, second transmission channel, is used to provide described first, second transmission channel needed Base-Band Processing;
Receive and use baseband processing module, link to each other, be used to provide described first, second receive path needed Base-Band Processing with described first, second receive path.
2, base station as claimed in claim 1 is characterized in that, described multiband filter comprises:
First filter links to each other with described radio-frequency (RF) switch, is operated on the non-paired frequency spectrum;
Second filter links to each other with described second receive path, is operated on the uplink spectrum of paired frequency spectrum;
The 3rd filter links to each other with described second transmission channel, is operated on the downstream spectrum of paired frequency spectrum.
3, base station as claimed in claim 1 is characterized in that, described non-paired frequency spectrum comprises the time division duplex frequency spectrum, or the idle frequency spectrum of using from other frequency ranges; Described paired frequency spectrum is the Frequency Division Duplexing (FDD) frequency spectrum.
4, the base station of the paired and non-paired frequency spectrum of a kind of comprehensive use is characterized in that, comprising:
Multiband aerial comprises the frequency range that is used for paired frequency spectrum and is used for non-paired frequency spectrum;
First transmission channel is the tunable radio frequency passage;
First receive path is operated on the non-paired frequency spectrum;
Second receive path is operated on the uplink spectrum of paired frequency spectrum;
Second transmission channel is operated on the downstream spectrum of paired frequency spectrum;
First radio-frequency (RF) switch is used for switching between described first transmission channel and first receive path, finishes time division duplex;
Second radio-frequency (RF) switch is used for switching between described first transmission channel and second receive path, when using non-paired frequency spectrum received signal, switches gating first transmission channel, when using non-paired spectral emission signal, switches gating second receive path;
Wherein, described first transmission channel dynamically switches frequency spectrums of operation between non-paired frequency spectrum and paired frequency spectrum uplink spectrum according to by the state of described first, second radio-frequency (RF) switch gating;
The multiband filter links to each other with described multiband aerial, first radio-frequency (RF) switch, second radio-frequency (RF) switch, second transmission channel, is used for carrying out filtering in the frequency range of correspondence for receiving with the signal of launching;
Baseband processing module is used in emission, links to each other with described first, second transmission channel, is used to provide described first, second transmission channel needed Base-Band Processing;
Receive and use baseband processing module, link to each other, be used to provide described first, second receive path needed Base-Band Processing with described first, second receive path.
5, base station as claimed in claim 4 is characterized in that:
When described first transmission channel by the first radio-frequency (RF) switch gating, and during not by the second radio-frequency (RF) switch gating, described first transmission channel is adjusted to and is operated on the non-paired frequency spectrum;
When described first transmission channel not by the first radio-frequency (RF) switch gating, and during by the second radio-frequency (RF) switch gating, described first transmission channel is adjusted on the uplink spectrum that is operated in paired frequency spectrum.
6, base station as claimed in claim 4 is characterized in that, described multiband filter comprises:
First filter links to each other with described first radio-frequency (RF) switch, is operated on the non-paired frequency spectrum;
Second filter links to each other with described second radio-frequency (RF) switch, is operated on the uplink spectrum of paired frequency spectrum;
The 3rd filter links to each other with described second transmission channel, is operated on the downstream spectrum of paired frequency spectrum.
7, base station as claimed in claim 4 is characterized in that, described non-paired frequency spectrum comprises the time division duplex frequency spectrum, or the idle frequency spectrum of using from other frequency ranges; Described paired frequency spectrum is the Frequency Division Duplexing (FDD) frequency spectrum.
8, the portable terminal of the paired and non-paired frequency spectrum of a kind of comprehensive use is characterized in that, comprising:
Multiband aerial comprises the frequency range that is used for paired frequency spectrum and is used for non-paired frequency spectrum;
Transmission channel is the tunable radio frequency passage;
First receive path is the tunable radio frequency passage;
Second receive path is operated on the downstream spectrum of paired frequency spectrum;
First radio-frequency (RF) switch is used for switching between described transmission channel, sky, first receive path;
Second radio-frequency (RF) switch is used for switching between described transmission channel, sky, first receive path;
Wherein, described transmission channel, first receive path dynamically switch frequency spectrums of operation between non-paired frequency spectrum and paired frequency spectrum uplink spectrum according to the state that is switched gating by described first, second radio-frequency (RF) switch;
The multiband filter links to each other with described multiband aerial, first radio-frequency (RF) switch, second radio-frequency (RF) switch, second receive path, is used for carrying out filtering in the frequency range of correspondence for receiving with the signal of launching;
Baseband processing module is used in emission, links to each other with described transmission channel, is used to provide transmission channel needed Base-Band Processing;
Receive and use baseband processing module, link to each other, be used to provide described first, second receive path needed Base-Band Processing with described first, second receive path.
9, portable terminal as claimed in claim 8, it is characterized in that, when the described second radio-frequency (RF) switch gating transmission channel, during the first radio-frequency (RF) switch gating, first receive path, described transmission channel is adjusted to the uplink spectrum of paired frequency spectrum, and first receive path is adjusted on the non-paired frequency spectrum; Wherein, described second receive path and transmission channel constitute the Frequency Division Duplexing (FDD) mode of operation; Described first receive path is used for Data Receiving or the monitoring on the non-paired frequency spectrum.
10, portable terminal as claimed in claim 8, it is characterized in that, when the described second radio-frequency (RF) switch gating, first receive path, during the first radio-frequency (RF) switch gating transmission channel, described transmission channel is adjusted on the non-paired frequency spectrum, and first receive path is adjusted to the uplink spectrum of paired frequency spectrum; Wherein, described second receive path and transmission channel constitute the Frequency Division Duplexing (FDD) mode of operation, and use the uplink spectrum of non-paired frequency spectrum as Frequency Division Duplexing (FDD); Described first receive path is used for Data Receiving or the monitoring on the uplink spectrum of paired frequency spectrum.
11, portable terminal as claimed in claim 8, it is characterized in that, when the described second radio-frequency (RF) switch gating, first receive path, during the first radio-frequency (RF) switch gating transmission channel, described transmission channel is adjusted on the non-paired frequency spectrum, and first receive path is adjusted to the uplink spectrum of paired frequency spectrum; Wherein, first receive path and transmission channel constitute the Frequency Division Duplexing (FDD) mode of operation; Second receive path uses the downstream spectrum of paired frequency spectrum to carry out Data Receiving or monitoring.
12, portable terminal as claimed in claim 8, it is characterized in that, when the described second radio-frequency (RF) switch gating transmission channel, during the first radio-frequency (RF) switch gating, first receive path, described transmission channel is adjusted to the uplink spectrum of paired frequency spectrum, and first receive path is adjusted to non-paired frequency spectrum; Wherein, first receive path and transmission channel constitute the Frequency Division Duplexing (FDD) mode of operation; Second receive path uses the downstream spectrum of paired frequency spectrum to carry out Data Receiving or monitoring.
13, portable terminal as claimed in claim 8, it is characterized in that, when described second radio-frequency (RF) switch places sky, when first radio-frequency (RF) switch is switched between the transmission channel and first receive path, the described transmission channel and first receive path are all adjusted on the non-paired frequency spectrum, use non-paired frequency spectrum to constitute the time division duplex mode of operation; Wherein, second receive path uses the downstream spectrum of paired frequency spectrum to carry out Data Receiving or monitoring.
14, portable terminal as claimed in claim 8, it is characterized in that, when described first radio-frequency (RF) switch places sky, when second radio-frequency (RF) switch is switched between the transmission channel and first receive path, the described transmission channel and first receive path are all adjusted to the uplink spectrum of paired frequency spectrum, use the uplink spectrum of paired frequency spectrum to constitute the time division duplex mode of operation; Wherein, second receive path uses the downstream spectrum of paired frequency spectrum to carry out Data Receiving or monitoring.
15, a kind of method of comprehensively using paired and non-paired frequency spectrum in wireless communication system is characterized in that, comprising:
The base station uses non-paired frequency spectrum to be used for its first transmission channel and first receive path;
The base station uses the downstream spectrum of paired frequency spectrum to be used for its second transmission channel, and uses the uplink spectrum of paired frequency spectrum to be used for its second receive path;
Receive in the emission baseband processing resource in described each transmission channel sharing base, described each receive path sharing base and use baseband processing resource.
16, method as claimed in claim 15 is characterized in that, further comprises:
Portable terminal uses the downstream spectrum of paired frequency spectrum to be used for its second receive path, and uses the uplink spectrum of paired frequency spectrum to be used for its transmission channel, constitutes the Frequency Division Duplexing (FDD) mode of operation;
Portable terminal uses non-paired frequency spectrum to be used for its first receive path.
17, method as claimed in claim 15 is characterized in that, further comprises:
Portable terminal uses the downstream spectrum of paired frequency spectrum to be used for its second receive path, and uses non-paired frequency spectrum to be used for its transmission channel, as the uplink spectrum of Frequency Division Duplexing (FDD), constitutes the Frequency Division Duplexing (FDD) mode of operation;
Portable terminal uses the uplink spectrum of paired frequency spectrum to be used for its first receive path.
18, method as claimed in claim 15 is characterized in that, further comprises:
Portable terminal uses the uplink spectrum of paired frequency spectrum to be used for its first receive path, and uses non-paired frequency spectrum to be used for its transmission channel, constitutes the Frequency Division Duplexing (FDD) mode of operation;
Portable terminal uses the downstream spectrum of paired frequency spectrum to be used for its second receive path.
19, method as claimed in claim 15 is characterized in that, further comprises:
Portable terminal uses the uplink spectrum of paired frequency spectrum to be used for its transmission channel, and uses non-paired frequency spectrum to be used for its first receive path, constitutes the Frequency Division Duplexing (FDD) mode of operation;
Portable terminal uses the downstream spectrum of paired frequency spectrum to be used for its second receive path.
20, method as claimed in claim 15 is characterized in that, further comprises:
Portable terminal uses non-paired frequency spectrum to be used for its transmission channel and first receive path, constitutes the time division duplex mode of operation;
Portable terminal uses the downstream spectrum of paired frequency spectrum to be used for its second receive path.
21, method as claimed in claim 15 is characterized in that, further comprises:
Portable terminal uses the uplink spectrum of paired frequency spectrum to be used for its transmission channel and first receive path, constitutes the time division duplex mode of operation;
Portable terminal uses the downstream spectrum of paired frequency spectrum to be used for its second receive path.
22, a kind of method of comprehensively using paired and non-paired frequency spectrum in wireless communication system is characterized in that, comprising:
The base station uses non-paired frequency spectrum to be used for its first receive path;
The base station uses the downstream spectrum of paired frequency spectrum to be used for its second transmission channel, and uses the uplink spectrum of paired frequency spectrum to be used for its second receive path;
When non-paired frequency spectrum received signal was used in the base station, this base station used the uplink spectrum of paired frequency spectrum to be used for its first transmission channel;
When non-paired spectral emission signal was used in the base station, this base station used non-paired frequency spectrum to be used for its first transmission channel;
Receive in the emission baseband processing resource in described each transmission channel sharing base, described each receive path sharing base and use baseband processing resource.
23, method as claimed in claim 22 is characterized in that, further comprises:
Portable terminal uses the downstream spectrum of paired frequency spectrum to be used for its second receive path, and uses the uplink spectrum of paired frequency spectrum to be used for its transmission channel, constitutes the Frequency Division Duplexing (FDD) mode of operation;
Portable terminal uses non-paired frequency spectrum to be used for its first receive path.
24, method as claimed in claim 22 is characterized in that, further comprises:
Portable terminal uses the downstream spectrum of paired frequency spectrum to be used for its second receive path, and uses non-paired frequency spectrum to be used for its transmission channel, as the uplink spectrum of Frequency Division Duplexing (FDD), constitutes the Frequency Division Duplexing (FDD) mode of operation;
Portable terminal uses the uplink spectrum of paired frequency spectrum to be used for its first receive path.
25, method as claimed in claim 22 is characterized in that, further comprises:
Portable terminal uses the uplink spectrum of paired frequency spectrum to be used for its first receive path, and uses non-paired frequency spectrum to be used for its transmission channel, constitutes the Frequency Division Duplexing (FDD) mode of operation;
Portable terminal uses the downstream spectrum of paired frequency spectrum to be used for its second receive path.
26, method as claimed in claim 22 is characterized in that, further comprises:
Portable terminal uses the uplink spectrum of paired frequency spectrum to be used for its transmission channel, and uses non-paired frequency spectrum to be used for its first receive path, constitutes the Frequency Division Duplexing (FDD) mode of operation;
Portable terminal uses the downstream spectrum of paired frequency spectrum to be used for its second receive path.
27, method as claimed in claim 22 is characterized in that, further comprises:
Portable terminal uses non-paired frequency spectrum to be used for its transmission channel and first receive path, constitutes the time division duplex mode of operation;
Portable terminal uses the downstream spectrum of paired frequency spectrum to be used for its second receive path.
28, method as claimed in claim 22 is characterized in that, further comprises:
Portable terminal uses the uplink spectrum of paired frequency spectrum to be used for its transmission channel and first receive path, constitutes the time division duplex mode of operation;
Portable terminal uses the downstream spectrum of paired frequency spectrum to be used for its second receive path.
29, a kind ofly fully utilize the method that paired and non-paired frequency spectrum carries out allocation of radio resources, it is characterized in that, comprise the steps:
(1) portable terminal reports its duplex mode information to network side, comprises dual-mode and band information that this terminal is supported;
(2) portable terminal reports its motion state and service requesting information to network side;
(3) network side is determined this portable terminal support time division duplex and Frequency Division Duplexing (FDD), and is determined corresponding frequency range according to the described duplex mode information that receives;
(4) network side judges according to the motion state information of this portable terminal that receives whether this portable terminal is in high-speed moving state, if be the traffic assignments resource of this terminal request in paired frequency spectrum then; If not, then in non-paired frequency spectrum the traffic assignments resource of this terminal request.
30, method as claimed in claim 29 is characterized in that, described step (4) further comprises:
If in non-paired frequency spectrum, can't find required service resources, the traffic assignments resource that the non-paired and paired frequency spectrum of then comprehensive use is this terminal request.
31, method as claimed in claim 30 is characterized in that, described step (4) further comprises:
If still can't find required service resources in non-paired and paired frequency spectrum, then refusal is this Terminal Service.
32, method as claimed in claim 29 is characterized in that, described step (3) further comprises:
If network side, determines this portable terminal according to the duplex mode information that receives and can not comprehensively support time division duplex and Frequency Division Duplexing (FDD), in dual-mode that this terminal is supported and frequency range, be its Resources allocation then.
CN200610003173A2006-02-222006-02-22 Base station, mobile terminal and method for combined use of paired and unpaired spectrumExpired - Fee RelatedCN100589332C (en)

Priority Applications (1)

Application NumberPriority DateFiling DateTitle
CN200610003173ACN100589332C (en)2006-02-222006-02-22 Base station, mobile terminal and method for combined use of paired and unpaired spectrum

Applications Claiming Priority (1)

Application NumberPriority DateFiling DateTitle
CN200610003173ACN100589332C (en)2006-02-222006-02-22 Base station, mobile terminal and method for combined use of paired and unpaired spectrum

Publications (2)

Publication NumberPublication Date
CN101026386Atrue CN101026386A (en)2007-08-29
CN100589332C CN100589332C (en)2010-02-10

Family

ID=38744364

Family Applications (1)

Application NumberTitlePriority DateFiling Date
CN200610003173AExpired - Fee RelatedCN100589332C (en)2006-02-222006-02-22 Base station, mobile terminal and method for combined use of paired and unpaired spectrum

Country Status (1)

CountryLink
CN (1)CN100589332C (en)

Cited By (26)

* Cited by examiner, † Cited by third party
Publication numberPriority datePublication dateAssigneeTitle
CN101971511A (en)*2008-01-102011-02-09埃普科斯股份有限公司Front-end circuit
CN101980580A (en)*2010-11-292011-02-23大唐移动通信设备有限公司Base station, remote radio unit and signal sending method thereof
CN102098071A (en)*2010-12-132011-06-15华为技术有限公司Method, device and system for transmitting communication signals
CN102439891A (en)*2009-05-122012-05-02翔跃通信公司 Dual mode radio for frequency division multiplexing and time division multiplexing communication modes
CN101547512B (en)*2008-03-272012-05-23中兴通讯股份有限公司Layered heterogeneous distributed base station and method
CN101605334B (en)*2008-06-122012-06-06中兴通讯股份有限公司Layered radio access system, heterogeneous frequency spectrum multichannel terminal and data transmission method
WO2012100628A1 (en)*2011-01-302012-08-02华为技术有限公司Base station equipment, communication system and communication method
CN101754230B (en)*2008-12-172012-09-05华为技术有限公司Carrier Aggregation Method and Device in Frequency Division Duplex FDD System
CN102655417A (en)*2012-04-202012-09-05华为技术有限公司Wireless local area network (WLAN) equipment and method for suppressing interference of wireless local area network equipment
CN101415275B (en)*2007-10-172013-05-08中兴通讯股份有限公司Method and system for inducting outer feedback in TDD aerial interface
CN102281639B (en)*2008-09-042014-06-11中兴通讯股份有限公司Data transmission method
US8903330B2 (en)2010-12-132014-12-02Huawei Technologies Co., Ltd.Communication signal transmission method, device and system
CN104469860A (en)*2013-09-242015-03-25联想(北京)有限公司Resource distributing method and device
CN105099631A (en)*2014-04-172015-11-25北京三星通信技术研究有限公司Method and device for processing flexible duplex
CN105264791A (en)*2014-01-152016-01-20华为技术有限公司Radio frequency device and user system
WO2016019738A1 (en)*2014-08-042016-02-11中兴通讯股份有限公司Method for controlling transmission of channel state information, base station, terminal and storage medium
CN105991711A (en)*2015-02-112016-10-05中国移动通信集团公司Communication method, terminal and correlation equipment thereof
WO2017050008A1 (en)*2015-09-252017-03-30华为技术有限公司Resource allocation method and apparatus
CN108464028A (en)*2016-02-192018-08-28富士通株式会社 Frequency band allocation device, method and communication system
CN108599808A (en)*2018-07-062018-09-28中国电子科技集团公司第五十四研究所A kind of transceiving radio frequency module of duplex half-duplex compatibility mode
CN108933609A (en)*2017-05-272018-12-04华为技术有限公司TDD/FDD configurable device, method, radio-frequency module and communication equipment
CN109088660A (en)*2018-09-132018-12-25维沃移动通信有限公司A kind of communication means and mobile terminal of mobile terminal
CN110224704A (en)*2018-03-012019-09-10成都鼎桥通信技术有限公司Radio frequency system and base station equipment
CN110289879A (en)*2018-03-142019-09-27成都鼎桥通信技术有限公司Radio frequency unit and terminal device
WO2022178133A1 (en)*2021-02-192022-08-25Meta Platforms, Inc.Multiband fdd (frequency division duplex) radio configuration for reduction in transmit and receive path resources
CN118381554A (en)*2024-06-252024-07-23银河航天(北京)网络技术有限公司Non-ground network communication method, system and device based on auxiliary base station

Cited By (41)

* Cited by examiner, † Cited by third party
Publication numberPriority datePublication dateAssigneeTitle
CN101415275B (en)*2007-10-172013-05-08中兴通讯股份有限公司Method and system for inducting outer feedback in TDD aerial interface
CN101971511A (en)*2008-01-102011-02-09埃普科斯股份有限公司Front-end circuit
CN101547512B (en)*2008-03-272012-05-23中兴通讯股份有限公司Layered heterogeneous distributed base station and method
CN101605334B (en)*2008-06-122012-06-06中兴通讯股份有限公司Layered radio access system, heterogeneous frequency spectrum multichannel terminal and data transmission method
CN102281639B (en)*2008-09-042014-06-11中兴通讯股份有限公司Data transmission method
CN101754230B (en)*2008-12-172012-09-05华为技术有限公司Carrier Aggregation Method and Device in Frequency Division Duplex FDD System
CN102439891B (en)*2009-05-122015-10-14翔跃通信公司 Dual mode radio for frequency division multiplexing and time division multiplexing communication modes
CN105391493A (en)*2009-05-122016-03-09翔跃通信公司Dual mode radio for frequency division duplexing and time division duplexing communication modes
CN105391493B (en)*2009-05-122019-02-19翔跃通信公司Dual-mode wireless electric installation for frequency division multiplexing and time-division multiplex communication mode
CN102439891A (en)*2009-05-122012-05-02翔跃通信公司 Dual mode radio for frequency division multiplexing and time division multiplexing communication modes
CN101980580A (en)*2010-11-292011-02-23大唐移动通信设备有限公司Base station, remote radio unit and signal sending method thereof
CN102098071A (en)*2010-12-132011-06-15华为技术有限公司Method, device and system for transmitting communication signals
US8903330B2 (en)2010-12-132014-12-02Huawei Technologies Co., Ltd.Communication signal transmission method, device and system
CN102098071B (en)*2010-12-132014-06-04华为技术有限公司Method, device and system for transmitting communication signals
WO2012100628A1 (en)*2011-01-302012-08-02华为技术有限公司Base station equipment, communication system and communication method
CN102655417B (en)*2012-04-202015-01-21华为技术有限公司Wireless local area network (WLAN) equipment and method for suppressing interference of wireless local area network equipment
CN102655417A (en)*2012-04-202012-09-05华为技术有限公司Wireless local area network (WLAN) equipment and method for suppressing interference of wireless local area network equipment
CN104469860A (en)*2013-09-242015-03-25联想(北京)有限公司Resource distributing method and device
CN105264791B (en)*2014-01-152018-10-12华为技术有限公司Radio-frequency apparatus and custom system
CN105264791A (en)*2014-01-152016-01-20华为技术有限公司Radio frequency device and user system
CN105099631A (en)*2014-04-172015-11-25北京三星通信技术研究有限公司Method and device for processing flexible duplex
US11184143B2 (en)2014-04-172021-11-23Samsung Electronics Co., LtdMethod and apparatus for processing flexible duplex
WO2016019738A1 (en)*2014-08-042016-02-11中兴通讯股份有限公司Method for controlling transmission of channel state information, base station, terminal and storage medium
CN105991711A (en)*2015-02-112016-10-05中国移动通信集团公司Communication method, terminal and correlation equipment thereof
WO2017050008A1 (en)*2015-09-252017-03-30华为技术有限公司Resource allocation method and apparatus
US10433300B2 (en)2015-09-252019-10-01Huawei Technologies Co., Ltd.Resource allocation method and apparatus
CN108464028A (en)*2016-02-192018-08-28富士通株式会社 Frequency band allocation device, method and communication system
CN108464028B (en)*2016-02-192023-01-17富士通株式会社 Frequency band allocation device, method and communication system
CN108933609B (en)*2017-05-272021-01-12华为技术有限公司TDD/FDD configurable device, method, radio frequency module and communication equipment
WO2018219219A1 (en)*2017-05-272018-12-06华为技术有限公司Tdd/fdd configurable device, method, radio frequency module and communication device
CN108933609A (en)*2017-05-272018-12-04华为技术有限公司TDD/FDD configurable device, method, radio-frequency module and communication equipment
CN110224704A (en)*2018-03-012019-09-10成都鼎桥通信技术有限公司Radio frequency system and base station equipment
CN110224704B (en)*2018-03-012021-10-15成都鼎桥通信技术有限公司Radio frequency system and base station equipment
CN110289879A (en)*2018-03-142019-09-27成都鼎桥通信技术有限公司Radio frequency unit and terminal device
CN110289879B (en)*2018-03-142021-10-15成都鼎桥通信技术有限公司Radio frequency unit and terminal equipment
CN108599808A (en)*2018-07-062018-09-28中国电子科技集团公司第五十四研究所A kind of transceiving radio frequency module of duplex half-duplex compatibility mode
CN108599808B (en)*2018-07-062024-08-23中国电子科技集团公司第五十四研究所Transmit-receive radio frequency module with duplex half-duplex compatible mode
CN109088660A (en)*2018-09-132018-12-25维沃移动通信有限公司A kind of communication means and mobile terminal of mobile terminal
WO2022178133A1 (en)*2021-02-192022-08-25Meta Platforms, Inc.Multiband fdd (frequency division duplex) radio configuration for reduction in transmit and receive path resources
CN118381554A (en)*2024-06-252024-07-23银河航天(北京)网络技术有限公司Non-ground network communication method, system and device based on auxiliary base station
CN118381554B (en)*2024-06-252024-09-03银河航天(北京)网络技术有限公司Non-ground network communication method, system and device based on auxiliary base station

Also Published As

Publication numberPublication date
CN100589332C (en)2010-02-10

Similar Documents

PublicationPublication DateTitle
CN101026386A (en)Base station, mobile terminal and method for comprehensive using paired and nonpaired spectrum
CN101009514B (en)A system and method for cooperative dual duplex
US10097257B2 (en)Wireless communications network using frequency conversion of MIMO signals
US20250119164A1 (en)Ultrahigh band architecture for radio frequency front-ends
US9014159B2 (en)Device for providing radiofrequency signal connections
CN102547775B (en)System and method for simultaneous indoor covering of multiple types of communication signals by utilizing CATV (community antenna television) cable
CN102761352A (en)FDD-LTE (Frequency Division Duplexing-Long Term Evolution) indoor coverage system and signal transmission method
CN102684727A (en)Antenna multiplexing method and multimode mobile terminal
CN108462507A (en)Multidiameter option switch, radio frequency system and wireless telecom equipment
CN113992225B (en)5G law enforcement instrument antenna system, antenna intelligent matching method and 5G law enforcement instrument
CN102118757A (en)Wireless relay device and method for communicating wireless relay device with base station and terminal
CN101527886B (en)Mixed duplex realization method based on separated service and control as well as data transmission method
CN104092526A (en)Multi-carrier communicating method and device for TDD mode MIMO wireless communicating system
CN101667946B (en)Wireless access network, terminal, frequency spectrum using/multiplexing method and communication implementation method
CN102332929B (en)Dual-mode radio frequency module, dual-mode radio frequency sending, receiving method and user terminal
EP2351233B1 (en)Shared rf front-end module for cellular application
CN101286776B (en)The method of antenna assembly system, mobile communication system and use antenna assembly system
US6987990B2 (en)Cellular base station augmentation system and method
CN102281639B (en)Data transmission method
CN101562473A (en)Composite frame based on frequency domain combination, method for establishing connection, and receiving and transmitting device
US20240106475A1 (en)Front-end systems with adjustable filter architecture
US8355747B1 (en)Enhanced coverage and throughput using multiple wireless technologies
CN101110625B (en)Double antenna wireless digital relay unit and its operating procedure
CN108282165B (en)Wireless communication system architecture
CN205828616U (en)A kind of LTE multisystem mixing platform for mimo system

Legal Events

DateCodeTitleDescription
C06Publication
PB01Publication
C10Entry into substantive examination
SE01Entry into force of request for substantive examination
C14Grant of patent or utility model
GR01Patent grant
CF01Termination of patent right due to non-payment of annual fee

Granted publication date:20100210

CF01Termination of patent right due to non-payment of annual fee

[8]ページ先頭

©2009-2025 Movatter.jp