Movatterモバイル変換


[0]ホーム

URL:


CN101003895B - 一种传送反应物到基片的装置及其处理方法 - Google Patents

一种传送反应物到基片的装置及其处理方法
Download PDF

Info

Publication number
CN101003895B
CN101003895BCN2006100233280ACN200610023328ACN101003895BCN 101003895 BCN101003895 BCN 101003895BCN 2006100233280 ACN2006100233280 ACN 2006100233280ACN 200610023328 ACN200610023328 ACN 200610023328ACN 101003895 BCN101003895 BCN 101003895B
Authority
CN
China
Prior art keywords
passage
reactant
lengthwise
successive
substrate
Prior art date
Legal status (The legal status is an assumption and is not a legal conclusion. Google has not performed a legal analysis and makes no representation as to the accuracy of the status listed.)
Active
Application number
CN2006100233280A
Other languages
English (en)
Other versions
CN101003895A (zh
Inventor
张宝戈
何乃明
王树林
傅丽
吕青
Current Assignee (The listed assignees may be inaccurate. Google has not performed a legal analysis and makes no representation or warranty as to the accuracy of the list.)
Medium and Micro Semiconductor Equipment (Shanghai) Co., Ltd.
Original Assignee
Advanced Micro Fabrication Equipment Inc Shanghai
Priority date (The priority date is an assumption and is not a legal conclusion. Google has not performed a legal analysis and makes no representation as to the accuracy of the date listed.)
Filing date
Publication date
Application filed by Advanced Micro Fabrication Equipment Inc ShanghaifiledCriticalAdvanced Micro Fabrication Equipment Inc Shanghai
Priority to CN2006100233280ApriorityCriticalpatent/CN101003895B/zh
Priority to US11/361,950prioritypatent/US20070166459A1/en
Publication of CN101003895ApublicationCriticalpatent/CN101003895A/zh
Application grantedgrantedCritical
Publication of CN101003895BpublicationCriticalpatent/CN101003895B/zh
Activelegal-statusCriticalCurrent
Anticipated expirationlegal-statusCritical

Links

Images

Classifications

Landscapes

Abstract

一种传送反应物到基片的装置及其处理方法,包括一个支撑部件,具有一个朝上的表面,可旋转地支撑基片;一个传送元件,包括一个具有外边沿的主体,主体具有一第一表面和一个相对的第二表面,第二表面靠近基片放置,其中传送元件的第二表面中形成一个纵长的大体上连续的通道,通道与反应物源连通,所述纵长的大体上连续的通道将反应物传送到基片上。

Description

一种传送反应物到基片的装置及其处理方法
所属技术领域
本发明涉及一种传送反应物到半导体基片的装置及其处理方法,特别是指一种传送气相化学物质到基片表面以通过化学气相沉积或相同方法在其上沉积均一的薄膜或层的装置。
背景技术
化学气相沉积是半导体制造中的一个关键工艺环节。该工艺通过热反应或沉积特定的气相化学物质而生成稳定的化合物,这些生成的化合产物会沉积到半导体晶片的表面上。现有技术中有大量的设备实例,如美国专利第5,683,516、6,022,414及6,387,764号所揭露的用于将各种物质均匀沉积于半导体晶片上的设备。
尽管这些各式装置都在不同程度上是成功的,但现有技术需要将半导体晶片尽可能地靠近其所配置的气体喷淋头(showerhead)或如前面提到的专利中所揭露的喷射装置(injector),以提高沉积在半导体晶片上的薄膜质量。然而,当半导体晶片与对应的气体喷淋头或注射装置之间的距离变小时,气体喷淋头的温度会增加且沿着气体喷淋头表面会发生温度变化,造成半导体晶片上沉积的产物层的均一性下降并形成产生颗粒的聚合物。再者,到现在为止,被大量使用的各种气体喷淋头的设计中,多种化学物质会在气体喷淋头中混合,然后再逸出气体喷淋头并在紧密靠近该气体喷淋头的半导体晶片上沉积为薄膜或层。然而,在这样的配置中,在气体喷淋头内部有时会发生聚合反应,从而导致不理想的台阶覆盖或造成沉积的层或薄膜材料产生缺陷。
因此,本发明的主旨是提供一种传送反应物到基片的装置及方法,其可以克服现有技术和方法中的缺陷。
发明内容
本发明的一个目的是提供一种传送反应物到基片的装置,包括一个支撑部件,具有一个朝上的表面,可旋转地支撑一个基片;一个传送元件,包括一个具有外边沿的主体,主体具有一个第一表面和一个相对的第二表面,其中第二表面靠近基片放置,其中传送元件的第二表面中形成一个纵长的大体上连续的通道,并与一个反应物源连通,并且所述纵长的大体上连续的通道将反应物传送到基片上。
本发明的另一目的是提供一种传送反应物到基片的装置,包括一个可在大致水平方向上旋转地支撑基片的基座和一个传送元件,传送元件包括一个具有中心区域和外边沿的主体,所述传送元件包括若干个纵长的反应物传送通道,每个通道具有一个位于所述传送元件的中心区域的第一末端和一个相对的位于靠近所述主体的所述外边沿的第二末端,每个通道都与一个反应物源相连通,其中每个所述反应物传送通道的尺寸都设计为可分别沿每个所述反应物传送通道传送每种可变数量的反应物,其中若干个反应物传送通道互相靠近设置,以便所述各种反应物发生化学反应,以产生产物并大体均匀地被沉积到所述旋转的基片的表面上。
本发明的再一目的是提供一种传送反应物到旋转的基片的装置,包括多种反应物,其可以相互发生化学反应以产生一个被传送到旋转的基片的表面的最终产物;和一个与所述各种反应物连通的传送元件,其位于所述旋转的基片的上方,其中所述传送元件将所述各种反应物传送到所述传送元件和所述旋转的基片的之间的反应区域,并以一种方式使得所述最终产物是所述传送元件中的逸出的所述反应物在所述反应区域中化学反应生成的,其中所述传送元件尺寸设计为传送可变量的反应物,以使所述一定量的最终产物以依照放置于所述传送元件下方的所述旋转的基片的部分区域的旋转速度生成,并获得所述最终产物在所述旋转的基片的表面大体一致的沉积。
本发明的又一目的是提供一种传送反应物到基片的装置,包括一个流体传送元件,具有一个主体,包括一个第一表面,一个相对的第二表面,和一个外边沿,其中第一表面包括一个大体位于中心与多种反应物连通的反应物传送区域,这些反应物将由所述流体传送元件传送至一个位于靠近所述流体传送元件的第二表面的化学反应区域,其中第一表面进一步包括若干个结构件,结构件从所述位于中心的反应物传送区域沿径向向外延伸至所述主体的外边沿,其中第一表面进一步包括位于所述各个结构件之间的中间区域,其中所述中间区域中形成若干个通道,并使反应物源通过,其中每个若干个结构件上至少形成一个流体扩散通道,其中所述流体扩散通道具有一个第一末端与所述位于中心的反应物传送区域连通,和一个位于靠近所述外边沿的相对的第二末端,其中所述流体扩散通道在所述位于中心的反应物传送区域和所述外边沿之间沿一个角度方向设置,其中所述流体扩散通道的第一末端位于靠近所述主体的第一表面,而所述流体扩散通道的第二末端位于靠近第二表面,其中在所述主体的第二表面中形成若干个具有不同深度的纵长的槽,并分布使每个所述流体扩散通道与第二表面流体连通,每个所述纵长的槽沿着从所述第一末端到所述流体扩散通道的第二末端的方向测量,其深度尺寸递减,其中被传送到所述位于中心的反应物传送区域的反应物进入所述流体扩散通道的所述第一末端,然后通过每个所述纵长的槽,以便接下来被传送到所述位于靠近第二表面的化学反应区域。
更进一步地,本发明还提供一种将反应物沉积到基片表面上的方法,其包括如下步骤:提供一个旋转基座,其可在大体水平方向上旋转地支持基片;提供反应物源,当其互相发生化学反应时,可生成一种沉积在所述基片表面上的最终产物;提供一个反应物传送元件,其在内部形成有至少一个纵长的反应物传送通道,使所述反应物传送元件与反应物源连通;将所述基片与反应物传送元件间隔排列并相对于反应物传送元件旋转,其中在所述基片表面和所述反应物传送元件之间形成一个化学反应区域;通过所述纵长的反应物传送通道,传送可变数量的所述反应物到所述化学反应区域以产生一定量大体均匀沉积于所述旋转的基片的表面上的最终产物。
本发明又一目的是提供一种传送反应物到基片的装置,包括一个支撑部件,其具有一个朝上的表面,可旋转地支撑一个基片;一个传送元件,包括一个具有外边沿的主体,主体具有一个第一表面和一个相对的第二表面,其中第二表面靠近基片放置,其中所述传送元件中形成一个大体连续的流体扩散通道,并进一步与反应物源连通,其中在第二表面中形成若干个反应物传送通道,并向第一表面延伸,与所述连续的流体扩散通道连通,其中每个所述反应物传送通道传送的所述反应物的总量使得所述反应物在所述靠近的旋转的基片的上沉积量大体均匀。
本发明的再一目的是提供一种传送反应物到基片的装置,包括一传送元件,包括一第一表面和一个相对的第二表面,其中第二表面靠近基片放置,传送元件的第二表面中形成有一纵长的大体上连续的通道,通道与反应物源连通,并且所述纵长的大体上连续的通道将反应物传送到基片上,所述传送元件还包括若干清洁源通道延伸于所述第一表面和第二表面。
本发明的上述以及其它目的将在后文中被更详细地描述。
附图说明
本发明的较佳实施方式将在下文中结合附图详述。
图1是本发明的用于传送反应物的装置的一部分的第一视角正视图。
图2是本发明的用于传送反应物的装置的一部分的第二视角正视图。
图3是从图1所示的传送反应物到基片的装置沿剖面线3-3剖分而得的部分分解放大视图。
图4是图1中沿剖面线4-4而得的横向剖视图。
图5是图1中沿剖面线5-5而得的横向分解放大剖视图。
图6是图3中沿剖面线7-7而得的横向分解放大剖视图。
图7是运用本发明思路的一个化学气相沉积腔室的简化示意图。
图8是图1中沿剖面线8-8而得的横向分解放大并做了一定程度简化的剖视图,其显示了本发明的一个特征,即若干个连续通道的一种排列方式。
图9是图1中沿剖面线8-8而得的横向分解放大并做了一定程度简化的剖视图,其显示了本发明的另一个特征,即若干个连续通道的另一种排列方式。
图10是图1中沿剖面线8-8而得的横向分解放大并做了一定程度简化的剖视图,并显示了本发明的再一个特征,即若干个连续通道的第三种排列方式。
图11A至图11D是运用于本发明中的几种不同的连续通道的简化横向分解剖视图。
图12A和12B是显示本发明中的清洁源通道的不同形状的简化横向分解剖视图。
图13是本发明的传送元件的第二种形式的简化横向分解剖视图。
图14是本发明的传送元件的第二种形式的第二简化横向分解剖视图。
图15A和15B是本发明第三种实施例的两种变形的简化横向分解剖视图。
图16是本发明又一实施例的简化横向分解剖视图。
图17是本发明的一种变形的一部分的正视图。
图18是本发明的又一变形的一部分的正视图。
具体实施方式
请参考图7,该简化图可以帮助轻易理解本发明的一种传送反应物到基片的装置以及运用该装置的方法。如图所示,一种传送反应物到基片的装置用数字10来表示。装置10被设置在或放置在一个化学气相沉积腔室中,此腔室用数字11表示。化学气相沉积腔室11具有一个腔壁12,其构成一个内部腔室13,此腔室13容纳并处理一片基片或半导体晶片,该基片或半导体晶片用数字14表示。在图7所示的设置中,化学气相沉积腔室11具有一个顶面15及分别连通到装置10多种反应物20、21和22或其中的一种。应当指出的是,多种阀门或其它控制装置(未图示)通常会被用来测量装置10中这些反应物的量。如图7所示,一个基座23被用来支撑半导体晶片,使半导体晶片位于装置10和基座23之间并大致呈水平方向放置。基座可以被加工成包括一加热元件,加热元件可以是:电阻式加热元件、线圈感应式式加热元件、灯泡式加热元件及其他可以将热能传递给半导体晶片14的加热方式的元件。基座23被设置为能以预先设定的转速转动半导体晶片14。半导体晶片被放置在一个位于装置10和基座23之间的化学反应区域24。应当指出的是,本发明可以应用于如图7所示的单个反应腔室的情况,也可以应用于包含若干个处理平台的腔室,在其中若干个基片14在不同的处理平台上可以被同时处理,每一个处理平台内设置有一个基座23并对应设置一个反应物传送元件10(在后文中会详述到)。本发明10的目的之一是提供一种沉积反应物20、21和/或22到基片14的表面25的方法。此方法,大体来讲,包括如下步骤:提供一个旋转基座23,其大体上水平地并旋转地支撑一个基片,例如一个半导体晶片14;提供反应物源20、21和22,当其互相发生化学反应时,可生成一种沉积在基片14的表面25上的最终产物。本发明的处理方法还进一步包括提供一个反应物传送元件,如10,其内部设置有若干个纵长的反应物传送通道和/或反应物传送路径,这将在后文中详述,并将反应物传送元件10与反应物源20、21和22相连通。如图7所示,此方法进一步包含一个步骤:将基片,如半导体晶片14,与所述反应物传送元件10间隔配置并使基片可旋转,其中,在基片14的表面25和所述反应物传送元件之间形成一个化学反应区域24。此方法还包括另外一个步骤,即,将可变数量的反应物20、21和22通过该纵长的反应物传送通道和/或反应物传送路径传送到化学反应区域24,以在旋转的基片14的表面25上沉积产生一定量的大体均匀的最终产物。本发明包括几个具有不同发明特征的实施例,每个发明实施例中的共有部件会用相同的数字标出。
请参考图1-6并以此为例说明本发明,可以看到,一种传送反应物到基片的装置10的第一种形式,包含一个由数字30表示的流体传送元件,其与图7所示的用数字20、21和22表示的一种或多种反应物或化学物质连通。流体传送元件30,在下文中将称为传送元件,包括一个主体31,其具有一个朝外的第一表面32(图1)和一个朝内的第二表面33(图2)。进一步的,主体31由外边沿34包围。如图1及其后的图所示,在外边沿34上设置若干个安装孔35,其可装入贯通的紧固件(未图示),用以在化学气相沉积腔室11的顶面15的固定位置上支持或紧固传送元件30。进一步地,在沿外边沿34周围的预定位置上设置有各个凹口36,其重要性将在后文详述。如图10所示,本发明的另一个变形中,可在第二表面33中具有一个反应腔37。当反应物20、21和22被传送元件30传送至反应区域24中时,反应腔37可以促进反应物的化学反应。
进一步地,请参考图1-6、14、17和18,可以看到,主体31的总体构造大体为圆形。然而,主体31也可被制造为其它形状而非图示的圆形。如图1-7、14、17和18所示,主体31,更确切地指,主体31的第一表面32,包含一个大体上竖直方向的外接圆的凸缘部件40,其沿着外边沿34的径向方向向内间隔排列。凸缘40具有一个第一外朝向表面41和一个相对的第二内朝向表面42。更进一步地,如附图所示,的凹口43设置在第一外朝向表面41内,并与设置在外边沿33上的凹口36对应配合或竖直对齐。从图1和其后的附图中可以看出,第二内朝向表面42形成了一个内腔44。
请参考图1,4,5,6和14,本发明的传送反应物10的装置的第一外朝向表面32包括一个大致位于中心位置的反应物传送区域,在后文中将用数字50标示。此反应物传送区域50在图中画为圆形的设置,而其它的形状也将同样适用。在前述的附图中,反应物传送区域50具有一个主体51,其具有一个外朝向表面52和一个相对的内朝向表面53。以图1所示为例,一个通道54设置于主体51中,其可以容纳一个合适的密封圈,用以将反应物传送区域50与传送反应物源20、21和22的管道密封连接。通过观察图1,4,5和6可以看出,位于中心的反应物传送区域50由用数字60标示的若干个反应物通道包围。反应物通道60如前述一样与反应物源20、21和22连通。反应物通道包括第一,第二和第三通道,分别为61,62和63(图4),并与纵长的大体上一致尺寸的流体扩散通道相连通,这在后文中将详细讨论。
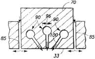
请参考图1和图4为例,作为第一外朝向表面32的一个特征,本发明的传送反应物的装置10包括若干个用数字70标示的结构件,其在本发明中,典型地由位于中心的反应物传送区域50径向地向外延伸至主体31的外边沿34。如图1及其后附图所示,若干个结构件70包括第一,第二,第三和第四结构件,分别为71-74,按照大体上均等空间间隔的方式排列。通过观察图17和图18可以看出,它们显示了本发明的另外两种变形形式,传送元件30可以制造为仅包含两个结构件,它们大体上呈共轴方向对齐放置(图17),或三个结构件,互相之间间隔为120度(图18)。每个结构件包含一个主体部75,其从位于中心的反应物传送区域50的外朝向表面52向外延伸,直至外接圆的凸缘部件40的第二内朝向表面42。进一步地,主体部75包括一个顶面76,和一对相对的、大体上平行的侧壁77。每个结构件70的主体部75的高度或厚度尺寸由标识线78所示(图1)。此外,仍参考图1,第一外朝向表面32包括置于各自结构件70之间的中间区域80。中间区域用第一,第二,第三和第四区域标记,分别为81-84。如图所示,若干个通道85从中间区域80延伸穿过,并提供一个气体通道以允许清洁或清洗气体通过,以保证本发明的装置10在化学气相沉积环境中有效使用(图7)。例如,当装置10用于沉积时,清洁气体,如N2,可以输入至通道85以防止颗粒形成和沉积在传送元件30的第二表面33的中间区域部分。再者,当清洗装置10时,清洗气体,如,NF3可以被一起输入至通道85及大体纵长的通道86。通过观察图4可以看出,每个中间区域80的厚度尺寸小于各自结构件70的厚度尺寸78,当然,也可以二者具有相等的厚度尺寸或中间区域80的厚度尺寸大于各自结构件70的厚度尺寸78。如图12A所示,通道85可以在它整个长度方向上具有大体一致的横向或直径尺寸。另一方面,如图12B所示,通道可以具有可变的横向或直径尺寸,例如通过减少尺寸的区域86。当然,通道可以是如图12A和图12B所示两种通道形式的混合。
请参考图4和图5为例,应当指出,本发明的装置10包含在传送元件30的第二表面33中形成的若干个纵长的大体上连续的通道86(图2),它们与反应物源20、21和22相连通。图2显示的是大体上连续的通道的一种可能设置,其中在第二表面33周围等间隔设置有互补组的通道86。然而,如图17和图18所示,其它的设置也可以应用并且也在本发明的范围之内。大体上连续的通道86包含若干个用数字90标示的流体扩散通道,并标示以第一,第二,第三,分别为91、92和93(图3),它们位于各个结构件70中,并且在本发明的一种形式中,在位于中心的反应物传送区域50和主体31的外边沿34之间呈锐角方向设置(图4)。在这种情况下,根据本发明的形式不同,每个流体扩散通道具有和第二表面33的一个夹角,此夹角在0度和大约60度范围内。本发明的一种形式的实例是,流体扩散通道90相对于第二表面近乎平行间隔排列,如图14和图16所示。进一步地,本发明的其它形式,流体扩散通道90相对于第二表面33呈小于大约60度的锐角方向,分别如图4,图15A和图15B所示。每个流体扩散通道91-93具有第一末端94及相对的第二末端95,该第一末端94位于中心的反应物传送区域50内并分别与各反应物21-23连通;该相对的第二末端95位于靠近外边沿34位置(图5)。如图5所示,每个流体扩散通道90的第一末端94分别靠近第一表面32设置,并且第二末端95靠近第二表面33设置。更清楚的图示为如图3所示,每个流体扩散通道90均由一个内直径尺寸96定义。如图5所示,每个流体扩散通道91-93分别具有不同的内直径尺寸。然而,在发明的某些形式下,内直径尺寸可以为相同的尺寸。需要指出的是,各个流体扩散通道91-93的内直径尺寸是根据输入的反应物20-22的类型来决定的。如图5所示为例,应当指出,第一、第二和第三流体扩散通道,即91、92和93,分别与位于中心的反应物传送区域50中的第一,第二和第三通道61,62和63连通。应当指出的是,第一,第二和第三通道61,62和63可以以各种方式分支以同时为一个以上流体扩散通道90输入选择的反应物20、21和22。本发明中,流体扩散通道90的一种较佳实施方式是钻孔90。
请参考图2和图3为例,可以看出本发明的装置10,更确切的指,大体纵长的通道86进一步包含若干个纵长的槽,这些槽由数字100标示,槽100设置于主体31的第二表面33中并与每个流体扩散通道90分别相通。图8-10,11A-D;12A和12B可以更清晰地图示,每个分别与流体扩散通道90连通的槽100可以沿长度方向具有大体一致的横向或宽度尺寸(例如,图11A,12A和12B);或不均匀的尺寸(图11B,11C和11D)。更进一步地,如图8-10所示,各个纵长的槽100可以相对于第二表面33呈某一角度,角度范围从大约45度(图8)到大约90度(图9)。如图10所示,在本发明的某种形式中,每个槽都与传送元件30的下表面33形成的反应腔37连通。从图13和图14中可见,纵长的槽100,在本发明的一种形式中,沿它整个的长度方向上测量,具有大体一致的深度尺寸。如图中所示,纵长的大体连续的槽100被标记为第一,第二和第三槽,分别记为101-103(图3)。每个纵长的槽或通道100具有一个第一末端104和一个相对的第二末端105(图4)。如图4所示,大体纵长的槽100的第一末端104处在位于中心的反应物传送区域50之中,其第二末端105则位于靠近或邻近外边沿34的位置。应当指出的是,每个纵长的大体连续的槽100与可能分别包含第一,第二或第三反应物20、21和22的反应物源连通,这取决于流体扩散通道90与哪一个槽100相连接。如图2,3和4所示,每个纵长的大体连续的槽100相互紧密间隔排列。进一步地,在本发明的一种形式中,如图4所示为例,从第二表面33测量,每个槽100具有变化的深度尺寸。如图中所绘,纵长的大体连续的槽100从位于中心的反应物传送区域50径向向外延伸,并在每个纵长的流体扩散通道90的长度方向上流体连通。实际操作中,这将在后文中详述,多种反应物20、21和22,分别从纵长的大体连续的槽100中逸出,以在化学反应区域24内产生一个产物,接下来它会沉积到一个基片上,如一个放置于基座23上的半导体晶片14。
参考图4可以看到,此图仅代表本发明若干种形式中的一种,每个纵长的槽100沿着从每个大体连续的槽的第一末端104到外边沿34或第二末端105的方向测量,其深度尺寸递减。通过观察图2最易看出,每个纵长的槽100的宽度是大体上恒定的。然而,应当指出的是,每个槽各自的宽度尺寸是可以变化的。更确切地,第一,第二和第三槽101-103可以根据逸出的反应物的不同具有不同的宽度尺寸。更进一步地,在本发明的另外一种可能的形式中,沿着从中心区域50到外边沿34的方向测量,每个槽100可以具有连续变化的宽度尺寸。这样的具有连续变化的宽度尺寸的槽100的设置,在如图13或图14所示的槽100的深度尺寸大体上恒定的情况下尤其适用。因此,每个槽的深度和宽度尺寸可以相同、不同或根据装置10提供的反应物作出各种不同的组合。然而,在任何情况下,每个槽100的深度和宽度尺寸的设定,都应当能够提供分别适量的每种反应物20、21和22至化学反应区域24,以得到一个最终产物来大致均匀地沉积于基片的表面25上。从不同区域及沿每个纵长的槽100提供或逸出的反应物的量的选择,应当基于下面的由基座23旋转的基片14的转速而决定。换句话说,应当理解,基片或半导体晶片14的外边沿相对于它的中心区域来说转速较高。正因为此,每个纵长的槽100被设计为具有倾斜或递减的深度尺寸或剖面,以传送可变量的反应物20-22。这些反应物生成一定量的最终产物,这些产物将在位于装置10的下方的半导体基片14上生成大致均匀的覆盖或薄膜。正如前所述,根据输入的反应物,每个纵长的槽100可以具有相同或不同的尺寸。
在图15A所示的本发明的另一种形式中,若干个离散的反应物传送通道110替代了前述的槽100。在这种情况下,分别在第二表面32中形成同连续流体扩散通道90连通的各个反应物传送通道110。应当指出的是,各个反应物传送通道传送的反应物20、21和22的量设计为利于沉积大致均匀的反应物,或可由反应物的化学反应生成副产物沉积到靠近的旋转的基片14上。从图15A和图16可以看到,若干个反应物传送通道110中,沿长度方向,每个通道都具有大体上相同或均匀的横向、或内直径尺寸。应用本发明中此种形式的反应物传送通道110,可以看出,沿着从中心区域50到外边沿34的方向测量时,尺寸大致相同的反应物传送通道110之间的间距在递减。参见图15A和图16,可以看到,每个反应物传送通道的长度可以大致相同(图16);或进一步地,沿着从中心区域50到外边沿34的方向测量时,长度可以递减(图15A)。在本发明的又一种形式中,如图15B,各个反应物传送通道110可以具有不同的横向、或内直径尺寸。在本发明的此种形式下,可以看出,沿着从中心区域50到外边沿34的方向测量时,各个反应物传送通道110的横向、或内直径尺寸递增。这一设置使得输送的反应物20、21,和22的量是根据下方放置的基片14转速而定,以获得一个大致均匀的覆盖。
操作说明
本发明的前述实施例的操作已经阐述得非常明晰,在此处做一简单小结。
如图所示,一种传送反应物到基片的装置10包括一个支撑部件,此处显示为一个基座23,其具有一个朝上的表面,并可旋转地支撑一片基片,此处显示为供处理的半导体晶片14;更进一步地,装置10包括一个传送元件30,其包括一个由外边沿34环绕的主体31,并具有一第一表面32和一相对的第二表面33。在图7所示的设置中,第二表面33靠近基片14放置。更进一步地,传送元件30的第二表面33中形成一个纵长的大体上连续的通道86,并与此处标示为数字20、21和22的反应物源相连通。如前所述,此装置10设计为可将反应物传送到化学反应区域24,以在基片(此处为半导体晶片14)的表面上沉积大致均匀的产物。
更确切地,一种传送反应物到基片的装置10包括,如前所述,一个可在大致水平方向上旋转地支撑一基片14的基座23,更进一步地,装置10包括一个主体31,其大致包括一个中心区域50和一个外边沿34。传送元件30包括若干个纵长的反应物传送通道86,其包含若干个独立的流体扩散通道90和对应的槽100。每个流体扩散通道90具有一个位于传送元件30的中心区域50的第一末端94,均与此处标示为数字20-22的一个反应物源分别连通。更进一步地,每个由各个通道86的一部分构成的流体扩散通道90,具有一个位于靠近主体31的外边沿34的相对于第一末端94的第二末端95。每个反应物传送通道86的尺寸设计为可以沿其长度方向传送可变量的反应物。更进一步地,若干个反应物传送通道86互相靠近,以方便反应物20-22在化学反应区域24内发生反应,以在旋转的基片14的表面25上生成大致均匀的产物。正如前文讨论的,每个纵长的反应物传送通道86均由各自的流体扩散通道90和一个对应的纵长的槽100构成。纵长的反应物传送通道86所传送反应物的数量与置于其下方的基片14的转速相适应配合。更进一步地,从沿着每个槽100的第一末端105向其第二末端104的方向测量,每个纵长的传送通道86所传送的反应物20-22的量递增。
如图2所示,若干个反应物传送通道86沿着从中心区域50到外边沿34的方向径向向外延伸。如前所述,大体纵长的反应物传送通道86包括一个具有大体上恒定的内径尺寸96的流体扩散通道90以及一个与之连通的纵长的槽100。沿着从每个纵长的槽的第一末端104向其第二末端105的方向测量,每个纵长的槽100深度尺寸递减。如同前面讨论的一样,纵长的传送通道86可以具有相同或不相同的尺寸。此外,应当指出,每个流体扩散通道90和纵长的槽100的尺寸是设计为分别可以传送可变量的反应物20-22,其结果为在化学反应区域24中产生与放置在传送元件30之下的旋转的基片14的转速相关的一定量的最终产物。本发明可使旋转的基片14的表面沉积生成大体均匀的最终产物。如图所示,传送元件30包含若干个互补的大体连续的纵长的传送通道86,其从中心区域50径向地向周围放射开来。
本发明包括一种将反应物20-22沉积到基片14的表面上的方法。本方法包括如下步骤:提供一可大体水平地并旋转地支持一基片14的旋转基座23;并进一步提供反应物源20-22,当其互相发生化学反应时,可生成一种沉积在基片14的表面25上的最终产物。本发明的方法还包括下一步骤,即提供一个反应物传送元件30,其在内部形成有若干个纵长的反应物传送通道86或路径110,并使所述反应物传送元件30与反应物源20-22连通。此外,此方法还包含另一步骤,将所述基片14与所述反应物传送元件30相互间隔配置,且基片14相对于传送元件30可以旋转,在基片14的表面25和反应物传送元件30之间形成一个化学反应区域24。更进一步地,本方法包含另一步骤,通过纵长的反应物传送通道86或路径110,传送可变数量的反应物20-22到所述化学反应区域24,以在旋转的基片14的表面25上沉积产生一定量的大体均匀的最终产物。在如上所述的实施方法中,每个反应物传送通道86进一步包含一个纵长的具有相对的第一及第二末端(分别标记为94和95)的流体扩散通道90以及一个与流体扩散通道90相连通的纵长的槽100或通道110,其中纵长的槽100或通道110的深度尺寸和/或横向尺寸的设计有利于反应物20、21和22或最终产物大致均匀地沉积在旋转的基片14上。
由此可见,本发明提供了一种方便的方法,应用此方法,半导体基片可以以不同于以往的方法被处理,并避免了现有技术下相同此目的设备中出现的多种弊端。
按照专利法律规定的要求,本发明的详细地描述了所发明的具体结构及其处理方法的特征。然而,应当理解,尽管此处介绍的内容包含了较佳的实施例,本发明并不限于本文中所显示及描述的特性。因此,本发明此处声明,对本发明的实施的各种任何形式的均等改变或变形均被包括于所附的权利要求书中的保护范围内。

Claims (19)

一个传送元件,包括一第一表面和一个相对的第二表面和主体,其中,第二表面靠近基片放置,传送元件的第二表面中形成有一纵长的大体上连续的通道,所述纵长的大体上连续的通道具有一个第一末端和一个相对的第二末端,其中所述传送元件的主体具有一个中心区域,所述第一末端位于所述传送元件的中心区域,而所述第二末端则靠近外边沿设置,每个大体上连续的通道包括若干个流体扩散通道,每个流体扩散通道上设置有用于连通流体扩散通道和第二表面的纵长的槽,流体扩散通道与所述第二表面之间的夹角的取值范围为0~60度,所述纵长的大体上连续的通道包含若干个所述纵长的槽,当从所述纵长的大体上连续的通道的第一末端向所述外边沿方向测量时,该每个所述纵长的槽的深度尺寸递减,所述纵长的大体上连续的通道与反应物源连通,并且所述纵长的大体上连续的通道将反应物传送到基片上。
(3)提供传送元件,传送元件包括一第一表面和一个相对的第二表面和主体,其中,第二表面靠近基片放置,传送元件的第二表面中形成有一纵长的大体上连续的通道,所述纵长的大体上连续的通道具有一个第一末端和一个相对的第二末端,其中所述传送元件的主体具有一个中心区域,所述第一末端位于所述传送元件的中心区域,而所述第二末端则靠近外边沿设置,每个大体上连续的通道包括若干个流体扩散通道,每个流体扩散通道上设置有用于连通流体扩散通道和第二表面的纵长的槽,流体扩散通道与所述第二表面之间的夹角的取值范围为0~60度,纵长的槽的深度尺寸沿径向由中心区域向外边沿方向依次递减,所述纵长的大体上连续的通道与反应物源连通,并且所述纵长的大体上连续的通道将反应物传送到基片上;
CN2006100233280A2006-01-162006-01-16一种传送反应物到基片的装置及其处理方法ActiveCN101003895B (zh)

Priority Applications (2)

Application NumberPriority DateFiling DateTitle
CN2006100233280ACN101003895B (zh)2006-01-162006-01-16一种传送反应物到基片的装置及其处理方法
US11/361,950US20070166459A1 (en)2006-01-162006-02-23Assembly and method for delivering a reactant material onto a substrate

Applications Claiming Priority (1)

Application NumberPriority DateFiling DateTitle
CN2006100233280ACN101003895B (zh)2006-01-162006-01-16一种传送反应物到基片的装置及其处理方法

Publications (2)

Publication NumberPublication Date
CN101003895A CN101003895A (zh)2007-07-25
CN101003895Btrue CN101003895B (zh)2011-10-19

Family

ID=38263484

Family Applications (1)

Application NumberTitlePriority DateFiling Date
CN2006100233280AActiveCN101003895B (zh)2006-01-162006-01-16一种传送反应物到基片的装置及其处理方法

Country Status (2)

CountryLink
US (1)US20070166459A1 (zh)
CN (1)CN101003895B (zh)

Families Citing this family (236)

* Cited by examiner, † Cited by third party
Publication numberPriority datePublication dateAssigneeTitle
US20130023129A1 (en)2011-07-202013-01-24Asm America, Inc.Pressure transmitter for a semiconductor processing environment
US20140120735A1 (en)*2012-10-312014-05-01Macronix International Co., Ltd.Semiconductor process gas flow control apparatus
US10316409B2 (en)2012-12-212019-06-11Novellus Systems, Inc.Radical source design for remote plasma atomic layer deposition
US20160376700A1 (en)2013-02-012016-12-29Asm Ip Holding B.V.System for treatment of deposition reactor
US10941490B2 (en)2014-10-072021-03-09Asm Ip Holding B.V.Multiple temperature range susceptor, assembly, reactor and system including the susceptor, and methods of using the same
US10276355B2 (en)2015-03-122019-04-30Asm Ip Holding B.V.Multi-zone reactor, system including the reactor, and method of using the same
US10023959B2 (en)*2015-05-262018-07-17Lam Research CorporationAnti-transient showerhead
US11139308B2 (en)2015-12-292021-10-05Asm Ip Holding B.V.Atomic layer deposition of III-V compounds to form V-NAND devices
US10529554B2 (en)2016-02-192020-01-07Asm Ip Holding B.V.Method for forming silicon nitride film selectively on sidewalls or flat surfaces of trenches
US10343920B2 (en)2016-03-182019-07-09Asm Ip Holding B.V.Aligned carbon nanotubes
US11453943B2 (en)2016-05-252022-09-27Asm Ip Holding B.V.Method for forming carbon-containing silicon/metal oxide or nitride film by ALD using silicon precursor and hydrocarbon precursor
US10612137B2 (en)2016-07-082020-04-07Asm Ip Holdings B.V.Organic reactants for atomic layer deposition
US9859151B1 (en)2016-07-082018-01-02Asm Ip Holding B.V.Selective film deposition method to form air gaps
US9887082B1 (en)2016-07-282018-02-06Asm Ip Holding B.V.Method and apparatus for filling a gap
US9812320B1 (en)2016-07-282017-11-07Asm Ip Holding B.V.Method and apparatus for filling a gap
US11532757B2 (en)2016-10-272022-12-20Asm Ip Holding B.V.Deposition of charge trapping layers
US10714350B2 (en)2016-11-012020-07-14ASM IP Holdings, B.V.Methods for forming a transition metal niobium nitride film on a substrate by atomic layer deposition and related semiconductor device structures
KR102546317B1 (ko)2016-11-152023-06-21에이에스엠 아이피 홀딩 비.브이.기체 공급 유닛 및 이를 포함하는 기판 처리 장치
US10604841B2 (en)2016-12-142020-03-31Lam Research CorporationIntegrated showerhead with thermal control for delivering radical and precursor gas to a downstream chamber to enable remote plasma film deposition
US11581186B2 (en)2016-12-152023-02-14Asm Ip Holding B.V.Sequential infiltration synthesis apparatus
US11447861B2 (en)2016-12-152022-09-20Asm Ip Holding B.V.Sequential infiltration synthesis apparatus and a method of forming a patterned structure
US11390950B2 (en)2017-01-102022-07-19Asm Ip Holding B.V.Reactor system and method to reduce residue buildup during a film deposition process
US10468261B2 (en)2017-02-152019-11-05Asm Ip Holding B.V.Methods for forming a metallic film on a substrate by cyclical deposition and related semiconductor device structures
US10770286B2 (en)2017-05-082020-09-08Asm Ip Holdings B.V.Methods for selectively forming a silicon nitride film on a substrate and related semiconductor device structures
US12040200B2 (en)2017-06-202024-07-16Asm Ip Holding B.V.Semiconductor processing apparatus and methods for calibrating a semiconductor processing apparatus
US11306395B2 (en)2017-06-282022-04-19Asm Ip Holding B.V.Methods for depositing a transition metal nitride film on a substrate by atomic layer deposition and related deposition apparatus
KR20190009245A (ko)2017-07-182019-01-28에이에스엠 아이피 홀딩 비.브이.반도체 소자 구조물 형성 방법 및 관련된 반도체 소자 구조물
US11374112B2 (en)2017-07-192022-06-28Asm Ip Holding B.V.Method for depositing a group IV semiconductor and related semiconductor device structures
US10590535B2 (en)2017-07-262020-03-17Asm Ip Holdings B.V.Chemical treatment, deposition and/or infiltration apparatus and method for using the same
TWI815813B (zh)2017-08-042023-09-21荷蘭商Asm智慧財產控股公司用於分配反應腔內氣體的噴頭總成
US10770336B2 (en)2017-08-082020-09-08Asm Ip Holding B.V.Substrate lift mechanism and reactor including same
US10692741B2 (en)2017-08-082020-06-23Asm Ip Holdings B.V.Radiation shield
US11769682B2 (en)2017-08-092023-09-26Asm Ip Holding B.V.Storage apparatus for storing cassettes for substrates and processing apparatus equipped therewith
US11830730B2 (en)2017-08-292023-11-28Asm Ip Holding B.V.Layer forming method and apparatus
US11295980B2 (en)2017-08-302022-04-05Asm Ip Holding B.V.Methods for depositing a molybdenum metal film over a dielectric surface of a substrate by a cyclical deposition process and related semiconductor device structures
US10658205B2 (en)2017-09-282020-05-19Asm Ip Holdings B.V.Chemical dispensing apparatus and methods for dispensing a chemical to a reaction chamber
US10403504B2 (en)2017-10-052019-09-03Asm Ip Holding B.V.Method for selectively depositing a metallic film on a substrate
US10923344B2 (en)2017-10-302021-02-16Asm Ip Holding B.V.Methods for forming a semiconductor structure and related semiconductor structures
WO2019103613A1 (en)2017-11-272019-05-31Asm Ip Holding B.V.A storage device for storing wafer cassettes for use with a batch furnace
CN111344522B (zh)2017-11-272022-04-12阿斯莫Ip控股公司包括洁净迷你环境的装置
WO2019113478A1 (en)2017-12-082019-06-13Lam Research CorporationIntegrated showerhead with improved hole pattern for delivering radical and precursor gas to a downstream chamber to enable remote plasma film deposition
US10872771B2 (en)2018-01-162020-12-22Asm Ip Holding B. V.Method for depositing a material film on a substrate within a reaction chamber by a cyclical deposition process and related device structures
KR102695659B1 (ko)2018-01-192024-08-14에이에스엠 아이피 홀딩 비.브이.플라즈마 보조 증착에 의해 갭 충진 층을 증착하는 방법
TWI799494B (zh)2018-01-192023-04-21荷蘭商Asm 智慧財產控股公司沈積方法
US11081345B2 (en)2018-02-062021-08-03Asm Ip Holding B.V.Method of post-deposition treatment for silicon oxide film
US10896820B2 (en)2018-02-142021-01-19Asm Ip Holding B.V.Method for depositing a ruthenium-containing film on a substrate by a cyclical deposition process
WO2019158960A1 (en)2018-02-142019-08-22Asm Ip Holding B.V.A method for depositing a ruthenium-containing film on a substrate by a cyclical deposition process
US10731249B2 (en)2018-02-152020-08-04Asm Ip Holding B.V.Method of forming a transition metal containing film on a substrate by a cyclical deposition process, a method for supplying a transition metal halide compound to a reaction chamber, and related vapor deposition apparatus
KR102636427B1 (ko)2018-02-202024-02-13에이에스엠 아이피 홀딩 비.브이.기판 처리 방법 및 장치
US10975470B2 (en)2018-02-232021-04-13Asm Ip Holding B.V.Apparatus for detecting or monitoring for a chemical precursor in a high temperature environment
US11473195B2 (en)2018-03-012022-10-18Asm Ip Holding B.V.Semiconductor processing apparatus and a method for processing a substrate
KR102646467B1 (ko)2018-03-272024-03-11에이에스엠 아이피 홀딩 비.브이.기판 상에 전극을 형성하는 방법 및 전극을 포함하는 반도체 소자 구조
KR102600229B1 (ko)2018-04-092023-11-10에이에스엠 아이피 홀딩 비.브이.기판 지지 장치, 이를 포함하는 기판 처리 장치 및 기판 처리 방법
US12025484B2 (en)2018-05-082024-07-02Asm Ip Holding B.V.Thin film forming method
US12272527B2 (en)2018-05-092025-04-08Asm Ip Holding B.V.Apparatus for use with hydrogen radicals and method of using same
KR102596988B1 (ko)2018-05-282023-10-31에이에스엠 아이피 홀딩 비.브이.기판 처리 방법 및 그에 의해 제조된 장치
US11718913B2 (en)2018-06-042023-08-08Asm Ip Holding B.V.Gas distribution system and reactor system including same
KR102568797B1 (ko)2018-06-212023-08-21에이에스엠 아이피 홀딩 비.브이.기판 처리 시스템
US10797133B2 (en)2018-06-212020-10-06Asm Ip Holding B.V.Method for depositing a phosphorus doped silicon arsenide film and related semiconductor device structures
KR102854019B1 (ko)2018-06-272025-09-02에이에스엠 아이피 홀딩 비.브이.금속 함유 재료를 형성하기 위한 주기적 증착 방법 및 금속 함유 재료를 포함하는 필름 및 구조체
TWI873894B (zh)2018-06-272025-02-21荷蘭商Asm Ip私人控股有限公司用於形成含金屬材料及包含含金屬材料的膜及結構之循環沉積方法
US10755922B2 (en)2018-07-032020-08-25Asm Ip Holding B.V.Method for depositing silicon-free carbon-containing film as gap-fill layer by pulse plasma-assisted deposition
US10388513B1 (en)2018-07-032019-08-20Asm Ip Holding B.V.Method for depositing silicon-free carbon-containing film as gap-fill layer by pulse plasma-assisted deposition
US11430674B2 (en)2018-08-222022-08-30Asm Ip Holding B.V.Sensor array, apparatus for dispensing a vapor phase reactant to a reaction chamber and related methods
US11024523B2 (en)2018-09-112021-06-01Asm Ip Holding B.V.Substrate processing apparatus and method
KR102707956B1 (ko)2018-09-112024-09-19에이에스엠 아이피 홀딩 비.브이.박막 증착 방법
CN110970344B (zh)2018-10-012024-10-25Asmip控股有限公司衬底保持设备、包含所述设备的系统及其使用方法
KR102592699B1 (ko)2018-10-082023-10-23에이에스엠 아이피 홀딩 비.브이.기판 지지 유닛 및 이를 포함하는 박막 증착 장치와 기판 처리 장치
KR102546322B1 (ko)2018-10-192023-06-21에이에스엠 아이피 홀딩 비.브이.기판 처리 장치 및 기판 처리 방법
US12378665B2 (en)2018-10-262025-08-05Asm Ip Holding B.V.High temperature coatings for a preclean and etch apparatus and related methods
US11087997B2 (en)2018-10-312021-08-10Asm Ip Holding B.V.Substrate processing apparatus for processing substrates
KR102748291B1 (ko)2018-11-022024-12-31에이에스엠 아이피 홀딩 비.브이.기판 지지 유닛 및 이를 포함하는 기판 처리 장치
US11572620B2 (en)2018-11-062023-02-07Asm Ip Holding B.V.Methods for selectively depositing an amorphous silicon film on a substrate
US10818758B2 (en)2018-11-162020-10-27Asm Ip Holding B.V.Methods for forming a metal silicate film on a substrate in a reaction chamber and related semiconductor device structures
US12040199B2 (en)2018-11-282024-07-16Asm Ip Holding B.V.Substrate processing apparatus for processing substrates
KR102636428B1 (ko)2018-12-042024-02-13에이에스엠 아이피 홀딩 비.브이.기판 처리 장치를 세정하는 방법
US11158513B2 (en)2018-12-132021-10-26Asm Ip Holding B.V.Methods for forming a rhenium-containing film on a substrate by a cyclical deposition process and related semiconductor device structures
TWI874340B (zh)2018-12-142025-03-01荷蘭商Asm Ip私人控股有限公司形成裝置結構之方法、其所形成之結構及施行其之系統
TWI866480B (zh)2019-01-172024-12-11荷蘭商Asm Ip 私人控股有限公司藉由循環沈積製程於基板上形成含過渡金屬膜之方法
TWI845607B (zh)2019-02-202024-06-21荷蘭商Asm Ip私人控股有限公司用來填充形成於基材表面內之凹部的循環沉積方法及設備
TWI873122B (zh)2019-02-202025-02-21荷蘭商Asm Ip私人控股有限公司填充一基板之一表面內所形成的一凹槽的方法、根據其所形成之半導體結構、及半導體處理設備
TWI838458B (zh)2019-02-202024-04-11荷蘭商Asm Ip私人控股有限公司用於3d nand應用中之插塞填充沉積之設備及方法
TWI842826B (zh)2019-02-222024-05-21荷蘭商Asm Ip私人控股有限公司基材處理設備及處理基材之方法
KR102858005B1 (ko)2019-03-082025-09-09에이에스엠 아이피 홀딩 비.브이.실리콘 질화물 층을 선택적으로 증착하는 방법, 및 선택적으로 증착된 실리콘 질화물 층을 포함하는 구조체
US11742198B2 (en)2019-03-082023-08-29Asm Ip Holding B.V.Structure including SiOCN layer and method of forming same
JP2020167398A (ja)2019-03-282020-10-08エーエスエム・アイピー・ホールディング・ベー・フェードアオープナーおよびドアオープナーが提供される基材処理装置
KR102809999B1 (ko)2019-04-012025-05-19에이에스엠 아이피 홀딩 비.브이.반도체 소자를 제조하는 방법
KR20200123380A (ko)2019-04-192020-10-29에이에스엠 아이피 홀딩 비.브이.층 형성 방법 및 장치
KR20200125453A (ko)2019-04-242020-11-04에이에스엠 아이피 홀딩 비.브이.기상 반응기 시스템 및 이를 사용하는 방법
KR20200130121A (ko)2019-05-072020-11-18에이에스엠 아이피 홀딩 비.브이.딥 튜브가 있는 화학물질 공급원 용기
KR20200130652A (ko)2019-05-102020-11-19에이에스엠 아이피 홀딩 비.브이.표면 상에 재료를 증착하는 방법 및 본 방법에 따라 형성된 구조
JP7612342B2 (ja)2019-05-162025-01-14エーエスエム・アイピー・ホールディング・ベー・フェーウェハボートハンドリング装置、縦型バッチ炉および方法
JP7598201B2 (ja)2019-05-162024-12-11エーエスエム・アイピー・ホールディング・ベー・フェーウェハボートハンドリング装置、縦型バッチ炉および方法
USD947913S1 (en)2019-05-172022-04-05Asm Ip Holding B.V.Susceptor shaft
USD975665S1 (en)2019-05-172023-01-17Asm Ip Holding B.V.Susceptor shaft
USD935572S1 (en)*2019-05-242021-11-09Asm Ip Holding B.V.Gas channel plate
KR20200141002A (ko)2019-06-062020-12-17에이에스엠 아이피 홀딩 비.브이.배기 가스 분석을 포함한 기상 반응기 시스템을 사용하는 방법
KR20200141931A (ko)2019-06-102020-12-21에이에스엠 아이피 홀딩 비.브이.석영 에피택셜 챔버를 세정하는 방법
KR20200143254A (ko)2019-06-112020-12-23에이에스엠 아이피 홀딩 비.브이.개질 가스를 사용하여 전자 구조를 형성하는 방법, 상기 방법을 수행하기 위한 시스템, 및 상기 방법을 사용하여 형성되는 구조
KR20210005515A (ko)2019-07-032021-01-14에이에스엠 아이피 홀딩 비.브이.기판 처리 장치용 온도 제어 조립체 및 이를 사용하는 방법
JP7499079B2 (ja)2019-07-092024-06-13エーエスエム・アイピー・ホールディング・ベー・フェー同軸導波管を用いたプラズマ装置、基板処理方法
CN112216646A (zh)2019-07-102021-01-12Asm Ip私人控股有限公司基板支撑组件及包括其的基板处理装置
DE102019119019A1 (de)*2019-07-122021-01-14Aixtron SeGaseinlassorgan für einen CVD-Reaktor
KR20210010307A (ko)2019-07-162021-01-27에이에스엠 아이피 홀딩 비.브이.기판 처리 장치
KR20210010816A (ko)2019-07-172021-01-28에이에스엠 아이피 홀딩 비.브이.라디칼 보조 점화 플라즈마 시스템 및 방법
KR102860110B1 (ko)2019-07-172025-09-16에이에스엠 아이피 홀딩 비.브이.실리콘 게르마늄 구조를 형성하는 방법
US11643724B2 (en)2019-07-182023-05-09Asm Ip Holding B.V.Method of forming structures using a neutral beam
KR20210010817A (ko)2019-07-192021-01-28에이에스엠 아이피 홀딩 비.브이.토폴로지-제어된 비정질 탄소 중합체 막을 형성하는 방법
TWI851767B (zh)2019-07-292024-08-11荷蘭商Asm Ip私人控股有限公司用於利用n型摻雜物及/或替代摻雜物選擇性沉積以達成高摻雜物併入之方法
CN112309900A (zh)2019-07-302021-02-02Asm Ip私人控股有限公司基板处理设备
CN112309899A (zh)2019-07-302021-02-02Asm Ip私人控股有限公司基板处理设备
US12169361B2 (en)2019-07-302024-12-17Asm Ip Holding B.V.Substrate processing apparatus and method
US11227782B2 (en)2019-07-312022-01-18Asm Ip Holding B.V.Vertical batch furnace assembly
US11587815B2 (en)2019-07-312023-02-21Asm Ip Holding B.V.Vertical batch furnace assembly
US11587814B2 (en)2019-07-312023-02-21Asm Ip Holding B.V.Vertical batch furnace assembly
CN112323048B (zh)2019-08-052024-02-09Asm Ip私人控股有限公司用于化学源容器的液位传感器
CN112342526A (zh)2019-08-092021-02-09Asm Ip私人控股有限公司包括冷却装置的加热器组件及其使用方法
USD965044S1 (en)2019-08-192022-09-27Asm Ip Holding B.V.Susceptor shaft
USD965524S1 (en)2019-08-192022-10-04Asm Ip Holding B.V.Susceptor support
JP2021031769A (ja)2019-08-212021-03-01エーエスエム アイピー ホールディング ビー.ブイ.成膜原料混合ガス生成装置及び成膜装置
KR20210024423A (ko)2019-08-222021-03-05에이에스엠 아이피 홀딩 비.브이.홀을 구비한 구조체를 형성하기 위한 방법
USD979506S1 (en)2019-08-222023-02-28Asm Ip Holding B.V.Insulator
KR20210024420A (ko)2019-08-232021-03-05에이에스엠 아이피 홀딩 비.브이.비스(디에틸아미노)실란을 사용하여 peald에 의해 개선된 품질을 갖는 실리콘 산화물 막을 증착하기 위한 방법
US11286558B2 (en)2019-08-232022-03-29Asm Ip Holding B.V.Methods for depositing a molybdenum nitride film on a surface of a substrate by a cyclical deposition process and related semiconductor device structures including a molybdenum nitride film
CN119980191A (zh)2019-08-282025-05-13朗姆研究公司金属沉积
KR102806450B1 (ko)2019-09-042025-05-12에이에스엠 아이피 홀딩 비.브이.희생 캡핑 층을 이용한 선택적 증착 방법
KR102733104B1 (ko)2019-09-052024-11-22에이에스엠 아이피 홀딩 비.브이.기판 처리 장치
US11562901B2 (en)2019-09-252023-01-24Asm Ip Holding B.V.Substrate processing method
CN112593212B (zh)2019-10-022023-12-22Asm Ip私人控股有限公司通过循环等离子体增强沉积工艺形成拓扑选择性氧化硅膜的方法
TWI846953B (zh)2019-10-082024-07-01荷蘭商Asm Ip私人控股有限公司基板處理裝置
TW202128273A (zh)2019-10-082021-08-01荷蘭商Asm Ip私人控股有限公司氣體注入系統、及將材料沉積於反應室內之基板表面上的方法
KR20210042810A (ko)2019-10-082021-04-20에이에스엠 아이피 홀딩 비.브이.활성 종을 이용하기 위한 가스 분배 어셈블리를 포함한 반응기 시스템 및 이를 사용하는 방법
TWI846966B (zh)2019-10-102024-07-01荷蘭商Asm Ip私人控股有限公司形成光阻底層之方法及包括光阻底層之結構
US12009241B2 (en)2019-10-142024-06-11Asm Ip Holding B.V.Vertical batch furnace assembly with detector to detect cassette
TWI834919B (zh)2019-10-162024-03-11荷蘭商Asm Ip私人控股有限公司氧化矽之拓撲選擇性膜形成之方法
US11637014B2 (en)2019-10-172023-04-25Asm Ip Holding B.V.Methods for selective deposition of doped semiconductor material
KR102845724B1 (ko)2019-10-212025-08-13에이에스엠 아이피 홀딩 비.브이.막을 선택적으로 에칭하기 위한 장치 및 방법
KR20210050453A (ko)2019-10-252021-05-07에이에스엠 아이피 홀딩 비.브이.기판 표면 상의 갭 피처를 충진하는 방법 및 이와 관련된 반도체 소자 구조
US11646205B2 (en)2019-10-292023-05-09Asm Ip Holding B.V.Methods of selectively forming n-type doped material on a surface, systems for selectively forming n-type doped material, and structures formed using same
KR20210054983A (ko)2019-11-052021-05-14에이에스엠 아이피 홀딩 비.브이.도핑된 반도체 층을 갖는 구조체 및 이를 형성하기 위한 방법 및 시스템
US11501968B2 (en)2019-11-152022-11-15Asm Ip Holding B.V.Method for providing a semiconductor device with silicon filled gaps
KR102861314B1 (ko)2019-11-202025-09-17에이에스엠 아이피 홀딩 비.브이.기판의 표면 상에 탄소 함유 물질을 증착하는 방법, 상기 방법을 사용하여 형성된 구조물, 및 상기 구조물을 형성하기 위한 시스템
US11450529B2 (en)2019-11-262022-09-20Asm Ip Holding B.V.Methods for selectively forming a target film on a substrate comprising a first dielectric surface and a second metallic surface
CN112951697B (zh)2019-11-262025-07-29Asmip私人控股有限公司基板处理设备
CN120432376A (zh)2019-11-292025-08-05Asm Ip私人控股有限公司基板处理设备
CN112885692B (zh)2019-11-292025-08-15Asmip私人控股有限公司基板处理设备
JP7527928B2 (ja)2019-12-022024-08-05エーエスエム・アイピー・ホールディング・ベー・フェー基板処理装置、基板処理方法
KR20210070898A (ko)2019-12-042021-06-15에이에스엠 아이피 홀딩 비.브이.기판 처리 장치
KR20210078405A (ko)2019-12-172021-06-28에이에스엠 아이피 홀딩 비.브이.바나듐 나이트라이드 층을 형성하는 방법 및 바나듐 나이트라이드 층을 포함하는 구조
KR20210080214A (ko)2019-12-192021-06-30에이에스엠 아이피 홀딩 비.브이.기판 상의 갭 피처를 충진하는 방법 및 이와 관련된 반도체 소자 구조
JP7730637B2 (ja)2020-01-062025-08-28エーエスエム・アイピー・ホールディング・ベー・フェーガス供給アセンブリ、その構成要素、およびこれを含む反応器システム
JP7636892B2 (ja)2020-01-062025-02-27エーエスエム・アイピー・ホールディング・ベー・フェーチャネル付きリフトピン
US11993847B2 (en)2020-01-082024-05-28Asm Ip Holding B.V.Injector
KR20210093163A (ko)2020-01-162021-07-27에이에스엠 아이피 홀딩 비.브이.고 종횡비 피처를 형성하는 방법
KR102675856B1 (ko)2020-01-202024-06-17에이에스엠 아이피 홀딩 비.브이.박막 형성 방법 및 박막 표면 개질 방법
TWI889744B (zh)2020-01-292025-07-11荷蘭商Asm Ip私人控股有限公司污染物捕集系統、及擋板堆疊
TW202513845A (zh)2020-02-032025-04-01荷蘭商Asm Ip私人控股有限公司半導體裝置結構及其形成方法
KR20210100010A (ko)2020-02-042021-08-13에이에스엠 아이피 홀딩 비.브이.대형 물품의 투과율 측정을 위한 방법 및 장치
US11776846B2 (en)2020-02-072023-10-03Asm Ip Holding B.V.Methods for depositing gap filling fluids and related systems and devices
KR20210103956A (ko)2020-02-132021-08-24에이에스엠 아이피 홀딩 비.브이.수광 장치를 포함하는 기판 처리 장치 및 수광 장치의 교정 방법
TW202146691A (zh)2020-02-132021-12-16荷蘭商Asm Ip私人控股有限公司氣體分配總成、噴淋板總成、及調整至反應室之氣體的傳導率之方法
TWI855223B (zh)2020-02-172024-09-11荷蘭商Asm Ip私人控股有限公司用於生長磷摻雜矽層之方法
CN113410160A (zh)2020-02-282021-09-17Asm Ip私人控股有限公司专用于零件清洁的系统
KR20210113043A (ko)2020-03-042021-09-15에이에스엠 아이피 홀딩 비.브이.반응기 시스템용 정렬 고정구
KR20210116240A (ko)2020-03-112021-09-27에이에스엠 아이피 홀딩 비.브이.조절성 접합부를 갖는 기판 핸들링 장치
US11876356B2 (en)2020-03-112024-01-16Asm Ip Holding B.V.Lockout tagout assembly and system and method of using same
KR102775390B1 (ko)2020-03-122025-02-28에이에스엠 아이피 홀딩 비.브이.타겟 토폴로지 프로파일을 갖는 층 구조를 제조하기 위한 방법
US12173404B2 (en)2020-03-172024-12-24Asm Ip Holding B.V.Method of depositing epitaxial material, structure formed using the method, and system for performing the method
KR102755229B1 (ko)2020-04-022025-01-14에이에스엠 아이피 홀딩 비.브이.박막 형성 방법
TWI887376B (zh)2020-04-032025-06-21荷蘭商Asm Ip私人控股有限公司半導體裝置的製造方法
TWI888525B (zh)2020-04-082025-07-01荷蘭商Asm Ip私人控股有限公司用於選擇性蝕刻氧化矽膜之設備及方法
KR20210127620A (ko)2020-04-132021-10-22에이에스엠 아이피 홀딩 비.브이.질소 함유 탄소 막을 형성하는 방법 및 이를 수행하기 위한 시스템
US11821078B2 (en)2020-04-152023-11-21Asm Ip Holding B.V.Method for forming precoat film and method for forming silicon-containing film
KR20210128343A (ko)2020-04-152021-10-26에이에스엠 아이피 홀딩 비.브이.크롬 나이트라이드 층을 형성하는 방법 및 크롬 나이트라이드 층을 포함하는 구조
US11996289B2 (en)2020-04-162024-05-28Asm Ip Holding B.V.Methods of forming structures including silicon germanium and silicon layers, devices formed using the methods, and systems for performing the methods
KR20210130646A (ko)2020-04-212021-11-01에이에스엠 아이피 홀딩 비.브이.기판을 처리하기 위한 방법
TW202208671A (zh)2020-04-242022-03-01荷蘭商Asm Ip私人控股有限公司形成包括硼化釩及磷化釩層的結構之方法
KR102866804B1 (ko)2020-04-242025-09-30에이에스엠 아이피 홀딩 비.브이.냉각 가스 공급부를 포함한 수직형 배치 퍼니스 어셈블리
CN113555279A (zh)2020-04-242021-10-26Asm Ip私人控股有限公司形成含氮化钒的层的方法及包含其的结构
KR20210132612A (ko)2020-04-242021-11-04에이에스엠 아이피 홀딩 비.브이.바나듐 화합물들을 안정화하기 위한 방법들 및 장치
KR20210132600A (ko)2020-04-242021-11-04에이에스엠 아이피 홀딩 비.브이.바나듐, 질소 및 추가 원소를 포함한 층을 증착하기 위한 방법 및 시스템
KR102783898B1 (ko)2020-04-292025-03-18에이에스엠 아이피 홀딩 비.브이.고체 소스 전구체 용기
KR20210134869A (ko)2020-05-012021-11-11에이에스엠 아이피 홀딩 비.브이.Foup 핸들러를 이용한 foup의 빠른 교환
JP7726664B2 (ja)2020-05-042025-08-20エーエスエム・アイピー・ホールディング・ベー・フェー基板を処理するための基板処理システム
KR20210137395A (ko)2020-05-072021-11-17에이에스엠 아이피 홀딩 비.브이.불소계 라디칼을 이용하여 반응 챔버의 인시츄 식각을 수행하기 위한 장치 및 방법
KR102788543B1 (ko)2020-05-132025-03-27에이에스엠 아이피 홀딩 비.브이.반응기 시스템용 레이저 정렬 고정구
TW202146699A (zh)2020-05-152021-12-16荷蘭商Asm Ip私人控股有限公司形成矽鍺層之方法、半導體結構、半導體裝置、形成沉積層之方法、及沉積系統
KR20210143653A (ko)2020-05-192021-11-29에이에스엠 아이피 홀딩 비.브이.기판 처리 장치
KR20210145079A (ko)2020-05-212021-12-01에이에스엠 아이피 홀딩 비.브이.기판을 처리하기 위한 플랜지 및 장치
KR102795476B1 (ko)2020-05-212025-04-11에이에스엠 아이피 홀딩 비.브이.다수의 탄소 층을 포함한 구조체 및 이를 형성하고 사용하는 방법
TWI873343B (zh)2020-05-222025-02-21荷蘭商Asm Ip私人控股有限公司用於在基材上形成薄膜之反應系統
KR20210146802A (ko)2020-05-262021-12-06에이에스엠 아이피 홀딩 비.브이.붕소 및 갈륨을 함유한 실리콘 게르마늄 층을 증착하는 방법
TWI876048B (zh)2020-05-292025-03-11荷蘭商Asm Ip私人控股有限公司基板處理方法
TW202212620A (zh)2020-06-022022-04-01荷蘭商Asm Ip私人控股有限公司處理基板之設備、形成膜之方法、及控制用於處理基板之設備之方法
TW202208659A (zh)2020-06-162022-03-01荷蘭商Asm Ip私人控股有限公司沉積含硼之矽鍺層的方法
TW202218133A (zh)2020-06-242022-05-01荷蘭商Asm Ip私人控股有限公司形成含矽層之方法
TWI873359B (zh)2020-06-302025-02-21荷蘭商Asm Ip私人控股有限公司基板處理方法
TW202202649A (zh)2020-07-082022-01-16荷蘭商Asm Ip私人控股有限公司基板處理方法
KR20220010438A (ko)2020-07-172022-01-25에이에스엠 아이피 홀딩 비.브이.포토리소그래피에 사용하기 위한 구조체 및 방법
KR20220011092A (ko)2020-07-202022-01-27에이에스엠 아이피 홀딩 비.브이.전이 금속층을 포함하는 구조체를 형성하기 위한 방법 및 시스템
TWI878570B (zh)2020-07-202025-04-01荷蘭商Asm Ip私人控股有限公司用於沉積鉬層之方法及系統
US12322591B2 (en)2020-07-272025-06-03Asm Ip Holding B.V.Thin film deposition process
KR20220021863A (ko)2020-08-142022-02-22에이에스엠 아이피 홀딩 비.브이.기판 처리 방법
US12040177B2 (en)2020-08-182024-07-16Asm Ip Holding B.V.Methods for forming a laminate film by cyclical plasma-enhanced deposition processes
TW202228863A (zh)2020-08-252022-08-01荷蘭商Asm Ip私人控股有限公司清潔基板的方法、選擇性沉積的方法、及反應器系統
US11725280B2 (en)2020-08-262023-08-15Asm Ip Holding B.V.Method for forming metal silicon oxide and metal silicon oxynitride layers
TW202229601A (zh)2020-08-272022-08-01荷蘭商Asm Ip私人控股有限公司形成圖案化結構的方法、操控機械特性的方法、裝置結構、及基板處理系統
USD990534S1 (en)2020-09-112023-06-27Asm Ip Holding B.V.Weighted lift pin
KR20220036866A (ko)2020-09-162022-03-23에이에스엠 아이피 홀딩 비.브이.실리콘 산화물 증착 방법
USD1012873S1 (en)2020-09-242024-01-30Asm Ip Holding B.V.Electrode for semiconductor processing apparatus
TWI889903B (zh)2020-09-252025-07-11荷蘭商Asm Ip私人控股有限公司基板處理方法
US12009224B2 (en)2020-09-292024-06-11Asm Ip Holding B.V.Apparatus and method for etching metal nitrides
KR20220045900A (ko)2020-10-062022-04-13에이에스엠 아이피 홀딩 비.브이.실리콘 함유 재료를 증착하기 위한 증착 방법 및 장치
CN114293174A (zh)2020-10-072022-04-08Asm Ip私人控股有限公司气体供应单元和包括气体供应单元的衬底处理设备
TW202229613A (zh)2020-10-142022-08-01荷蘭商Asm Ip私人控股有限公司於階梯式結構上沉積材料的方法
KR20220050047A (ko)2020-10-152022-04-22에이에스엠 아이피 홀딩 비.브이.예측 유지보수 방법 및 예측 유지보수 장치
TW202232565A (zh)2020-10-152022-08-16荷蘭商Asm Ip私人控股有限公司製造半導體裝置之方法及使用乙太網路控制自動化技術之基板處理裝置
TW202217037A (zh)2020-10-222022-05-01荷蘭商Asm Ip私人控股有限公司沉積釩金屬的方法、結構、裝置及沉積總成
TW202223136A (zh)2020-10-282022-06-16荷蘭商Asm Ip私人控股有限公司用於在基板上形成層之方法、及半導體處理系統
TW202229620A (zh)2020-11-122022-08-01特文特大學沉積系統、用於控制反應條件之方法、沉積方法
TW202229795A (zh)2020-11-232022-08-01荷蘭商Asm Ip私人控股有限公司具注入器之基板處理設備
TW202235649A (zh)2020-11-242022-09-16荷蘭商Asm Ip私人控股有限公司填充間隙之方法與相關之系統及裝置
TW202235675A (zh)2020-11-302022-09-16荷蘭商Asm Ip私人控股有限公司注入器、及基板處理設備
US12255053B2 (en)2020-12-102025-03-18Asm Ip Holding B.V.Methods and systems for depositing a layer
TW202233884A (zh)2020-12-142022-09-01荷蘭商Asm Ip私人控股有限公司形成臨限電壓控制用之結構的方法
US11946137B2 (en)2020-12-162024-04-02Asm Ip Holding B.V.Runout and wobble measurement fixtures
TW202232639A (zh)2020-12-182022-08-16荷蘭商Asm Ip私人控股有限公司具有可旋轉台的晶圓處理設備
TW202226899A (zh)2020-12-222022-07-01荷蘭商Asm Ip私人控股有限公司具匹配器的電漿處理裝置
TW202242184A (zh)2020-12-222022-11-01荷蘭商Asm Ip私人控股有限公司前驅物膠囊、前驅物容器、氣相沉積總成、及將固態前驅物裝載至前驅物容器中之方法
TW202231903A (zh)2020-12-222022-08-16荷蘭商Asm Ip私人控股有限公司過渡金屬沉積方法、過渡金屬層、用於沉積過渡金屬於基板上的沉積總成
USD980813S1 (en)*2021-05-112023-03-14Asm Ip Holding B.V.Gas flow control plate for substrate processing apparatus
USD980814S1 (en)*2021-05-112023-03-14Asm Ip Holding B.V.Gas distributor for substrate processing apparatus
USD1023959S1 (en)2021-05-112024-04-23Asm Ip Holding B.V.Electrode for substrate processing apparatus
USD981973S1 (en)*2021-05-112023-03-28Asm Ip Holding B.V.Reactor wall for substrate processing apparatus
USD990441S1 (en)2021-09-072023-06-27Asm Ip Holding B.V.Gas flow control plate
USD1060598S1 (en)2021-12-032025-02-04Asm Ip Holding B.V.Split showerhead cover

Citations (6)

* Cited by examiner, † Cited by third party
Publication numberPriority datePublication dateAssigneeTitle
US5332442A (en)*1991-11-151994-07-26Tokyo Electron Kabushiki KaishaSurface processing apparatus
US5683516A (en)*1994-07-181997-11-04Watkins-Johnson Co.Single body injector and method for delivering gases to a surface
US6022414A (en)*1994-07-182000-02-08Semiconductor Equipment Group, LlcSingle body injector and method for delivering gases to a surface
EP0835950B1 (en)*1996-10-112001-09-26Ebara CorporationReactant gas ejector head
US6387764B1 (en)*1999-04-022002-05-14Silicon Valley Group, Thermal Systems LlcTrench isolation process to deposit a trench fill oxide prior to sidewall liner oxidation growth
CN1375575A (zh)*2001-03-192002-10-23株式会社Apex化学气相沉积设备

Patent Citations (6)

* Cited by examiner, † Cited by third party
Publication numberPriority datePublication dateAssigneeTitle
US5332442A (en)*1991-11-151994-07-26Tokyo Electron Kabushiki KaishaSurface processing apparatus
US5683516A (en)*1994-07-181997-11-04Watkins-Johnson Co.Single body injector and method for delivering gases to a surface
US6022414A (en)*1994-07-182000-02-08Semiconductor Equipment Group, LlcSingle body injector and method for delivering gases to a surface
EP0835950B1 (en)*1996-10-112001-09-26Ebara CorporationReactant gas ejector head
US6387764B1 (en)*1999-04-022002-05-14Silicon Valley Group, Thermal Systems LlcTrench isolation process to deposit a trench fill oxide prior to sidewall liner oxidation growth
CN1375575A (zh)*2001-03-192002-10-23株式会社Apex化学气相沉积设备

Also Published As

Publication numberPublication date
CN101003895A (zh)2007-07-25
US20070166459A1 (en)2007-07-19

Similar Documents

PublicationPublication DateTitle
CN101003895B (zh)一种传送反应物到基片的装置及其处理方法
KR102396162B1 (ko)막 프로파일 조정을 위한 샤워헤드 커튼 가스 방법 및 시스템
EP1361604B1 (en)Device and method for treatment
KR102151202B1 (ko)웨이퍼 프로세스 장비에서의 화학물질 제어 피쳐들
US20080035055A1 (en)Thermal processing system with improved process gas flow and method for injecting a process gas into a thermal processing system
EP0637058B1 (en)Method of supplying reactant gas to a substrate processing apparatus
CN109037095B (zh)用于处理衬底的装置
US20060159847A1 (en)Method and apparatus for low temperature dielectric deposition using monomolecular precursors
US11939675B2 (en)Apparatus and methods for improving thermal chemical vapor deposition (CVD) uniformity
CN1274768A (zh)气体分配系统
KR20140092892A (ko)개선된 증착 균일성을 위한 전구체 분배 피처들
JP2015161030A (ja)ガス供給マニホールド及びガス供給マニホールドを使用してチャンバにガスを供給する方法
CN102543831A (zh)用于半导体制造中的可流动沉积的系统和装置
KR102634223B1 (ko)에피 챔버를 위한 라이너
CN110379730B (zh)衬底处理设备和衬底处理方法
KR20130055623A (ko)선형 회분식 화학 기상 증착 시스템
WO2020056413A1 (en)Segmented showerhead for uniform delivery of multiple precursors
TWI423383B (zh)Substrate support for the III-V film growth reaction chamber, its reaction chamber and process treatment
US5888303A (en)Gas inlet apparatus and method for chemical vapor deposition reactors
TW201604313A (zh)氣體分配設備與具有該氣體分配設備的基板處理設備
JP6478872B2 (ja)成膜装置
KR100991978B1 (ko)화학 기상 증착 리액터
US6994887B2 (en)Chemical vapor deposition apparatus and film deposition method
IE920783A1 (en)Plasma enhanced chemical vapor deposition device
JP5618713B2 (ja)薄膜形成装置及び薄膜形成方法

Legal Events

DateCodeTitleDescription
C06Publication
PB01Publication
C10Entry into substantive examination
SE01Entry into force of request for substantive examination
C14Grant of patent or utility model
GR01Patent grant
CP03Change of name, title or address

Address after:201201 No. 188 Taihua Road, Jinqiao Export Processing Zone, Pudong New Area, Shanghai

Patentee after:Medium and Micro Semiconductor Equipment (Shanghai) Co., Ltd.

Address before:201201 188 Central Avenue, Jinqiao Export Processing Zone, 5001 East China Road, Pudong New Area, Shanghai

Patentee before:Advanced Micro-Fabrication Equipment (Shanghai) Inc.

CP03Change of name, title or address

[8]ページ先頭

©2009-2025 Movatter.jp