Movatterモバイル変換


[0]ホーム

URL:


CN100585539C - Interactive electronic learning white board and operation method thereof - Google Patents

Interactive electronic learning white board and operation method thereof
Download PDF

Info

Publication number
CN100585539C
CN100585539CCN200610171192ACN200610171192ACN100585539CCN 100585539 CCN100585539 CCN 100585539CCN 200610171192 ACN200610171192 ACN 200610171192ACN 200610171192 ACN200610171192 ACN 200610171192ACN 100585539 CCN100585539 CCN 100585539C
Authority
CN
China
Prior art keywords
different
character
white plate
type electric
interaction type
Prior art date
Legal status (The legal status is an assumption and is not a legal conclusion. Google has not performed a legal analysis and makes no representation as to the accuracy of the status listed.)
Expired - Fee Related
Application number
CN200610171192A
Other languages
Chinese (zh)
Other versions
CN101206521A (en
Inventor
倪明选
何天华
谢红伟
Current Assignee (The listed assignees may be inaccurate. Google has not performed a legal analysis and makes no representation or warranty as to the accuracy of the list.)
Hehua Technology Co ltd
Original Assignee
Hehua Technology Co ltd
Priority date (The priority date is an assumption and is not a legal conclusion. Google has not performed a legal analysis and makes no representation as to the accuracy of the date listed.)
Filing date
Publication date
Application filed by Hehua Technology Co ltdfiledCriticalHehua Technology Co ltd
Priority to CN200610171192ApriorityCriticalpatent/CN100585539C/en
Publication of CN101206521ApublicationCriticalpatent/CN101206521A/en
Application grantedgrantedCritical
Publication of CN100585539CpublicationCriticalpatent/CN100585539C/en
Expired - Fee Relatedlegal-statusCriticalCurrent
Anticipated expirationlegal-statusCritical

Links

Images

Landscapes

Abstract

The invention discloses an interactive electronic learning whiteboard, which not only provides the writing function of a common whiteboard, but also sequentially forms a certain character or character group meaning when an attachment is attached to the whiteboard, and can scan different resistors or different electric signals embedded in the attachment through a circuit positioned on the whiteboard, identify one or more attachment, and play the shadow, sound information and the like related to the character or the character group in a multimedia mode. The significance and appearance of the sticker can comprise letters, characters, numbers, other symbols, figures and the like, a user can receive education and guidance of language characters, numbers and the like through vision and hearing in an careless way, and because related playing information can be combined and recorded into forms of stories, songs and the like which attract children in advance, the invention is full of interestingness when in use, can attract children to actively play, and integrates the education and the playing.

Description

Interaction type electric learning white plate and operation method thereof
[technical field]
The present invention relates to a kind of electronic installation, relate in particular to the operation method of a kind of interaction type electric learning white plate and a kind of interaction type electric learning white plate.
[background technology]
Current, the attention degree for education makes a lot of families carry out early education for the infant, and therefore, a lot of families utilize blank to write contents such as numeral, Chinese character, English, and the child of family is educated and teaches.But this mode is very dull uninteresting for child, has no enjoyment and can say, can't attract child's notice, more can not attract child initiatively to learn.
In the prior art, electronic whiteboard can be realized writing as common blank, can realize written contents is entered into computing machine automatically, or export printer etc. to by modes such as optical scanning or electronic inductions again.For example mention among the CN200510105010.2 " a kind of intelligent interactive electronic white plate ", electronic whiteboard comprises ultrasonic type, electromagnetic type, resistance-type.Because it need be discerned automatically to written contents, thus physical construction, the circuit structure relative complex of its sensing part, the cost height.Electronic whiteboard generally is applied to enterprises and institutions, office, school, is used among meeting, the educational training.
[summary of the invention]
Fundamental purpose of the present invention is: provide a kind of and be full of interest, residence is educated interaction type electric learning white plate and operation method thereof in playing.
For achieving the above object, the present invention proposes a kind of interaction type electric learning white plate, comprises a blank body, some paste attachments, a video-audio playing device, an identification arithmetic element; This identification arithmetic element is electrically connected with this video-audio playing device; This paste attachment surface marking can comprise different literal, numeral, letter, symbol, figure etc., and has different electrical parameter values; Described blank body is provided with some location lattice, is provided with conductive contact in these location lattice; When this paste attachment is attached on these location lattice, its surface marking is formed certain specific meaning of word or implication character or character group in regular turn, this identification arithmetic element can be discerned the different electrical parameters of this paste attachment, and produce different electric signals, described video-audio playing device is according to different electric signals, take out this character or character group associated multimedia file and play back, so can reach and utilize same paste attachment to realize that character shows and character input unification feature.
Above-mentioned interaction type electric learning white plate, different these paste attachments that indicate are embedded with different parameters value electronic component, show as different electrical parameters.
Above-mentioned interaction type electric learning white plate, described different electric signals are through being converted to described multimedia file access index value, as the memory address of access and described character or character group associated multimedia file.Cooperate the different key on the blank body, identical characters or character group can produce different index values, with access but different content level multimedia file relevant with this character or character group.
Above-mentioned interaction type electric learning white plate, described video-audio playing device comprises the Card Reader circuit, when reading multimedia file according to described paste attachment generation index value, can preferentially to plug-in storage card, seek by described Card Reader circuit, if wherein when not having the associated multimedia file, to built-in ROM of video-audio playing device or FLASH, seek again; So the user can conveniently replace or the corresponding multimedia file of newly-increased character or character group.
Above-mentioned interaction type electric learning white plate, described video-audio playing device comprise MP3 or MP4 audio/video encoding/decoding main circuit, keyboard circuit, loudspeaker, and described keyboard circuit, loudspeaker are electrically connected with described audio/video encoding/decoding main circuit respectively; The button of described keyboard circuit is installed on the surface or the side frame of described blank body; Described loudspeaker is installed on the surface or the side frame of described blank body.Described video-audio playing device comprises the Card Reader circuit, is electrically connected with described audio/video encoding/decoding main circuit; The internal memory expansion slot of described Card Reader circuit is installed on the surface or the side frame of described blank body; Be used to the storage card of pegging graft.
Above-mentioned interaction type electric learning white plate, described identification arithmetic element comprises scrambler, A/D converter, the output terminal of described scrambler, A/D converter is electrically connected with described video-audio playing device respectively, each input end of described scrambler, A/D converter is drawn some groups of electric contacts one to one respectively, and is arranged in the location lattice of described white plate surface; In the time of in described paste attachment is attached at described location lattice, embedded different parameters value electronic component inserts the input end of described scrambler, A/D converter on this paste attachment by electric contact, identification calculates different parameters value electronic component and produces the different electrical signals value thus, produces the different index value.
Above-mentioned interaction type electric learning white plate, described different parameters value electronic component is by at least one is formed components and parts in resistance, electric capacity and the inductance.The positive sign of described paste attachment has one or more in different literal, numeral, letter, symbol, the figure; The back side has magnetic attracting force, and a conduction region is drawn at the two ends of described different parameters value electronic component respectively, is arranged at the back side, be used for described blank body on the location lattice in electric contact contact conducting.
Described paste attachment comprises surface layer, basic unit, soft magnet layer, PCB circuit board; Described surface layer is attached in the described basic unit, and its surface marking has one or more in different literal, numeral, letter, symbol, the figure; Described soft magnet laminating invests the another side of described basic unit; Described PCB circuit board is embedded in described soft magnet layer, and it comprises resistance, draws respectively from these resistance two ends to pick out first conduction region, second conduction region, be used for respectively with described blank body in the lattice of location electric contact contact conducting.
Or described paste attachment comprises surface layer, basic unit, magnetic grain, PCB circuit board; Described surface layer is attached in the described basic unit, and its surface marking has one or more in different literal, numeral, letter, symbol, the figure; Described magnetic grain, PCB circuit board are embedded in described basic unit another side, and described PCB circuit board comprises resistance, first conductive contact, second conductive contact, be used for respectively with described blank body in the lattice of location electric contact contact conducting.
Above-mentioned interaction type electric learning white plate also comprises a human body sensing circuit, is electrically connected with described video-audio playing device; When it senses human body information, can be by described video-audio playing device automatically playing multimedia information; This multimedia messages can be one section message, or the relevant information of the paste attachment that attaches on the lattice of corresponding blank body location.
Simultaneously, the present invention proposes a kind of operation method of interaction type electric learning white plate, comprise the steps:
1) when paste attachment was attached on the ad-hoc location of interaction type electric learning white plate blank body, the paste attachment surface marking was formed certain specific character or character group in regular turn, explains the specific meaning of word or implication;
2) interaction type electric learning white plate identification arithmetic element is discerned this paste attachment different parameters value electrical parameter, and produces different electric signals;
3) the interaction type electric learning white plate video-audio playing device takes out corresponding multimedia file according to different electric signals, and the meaning of word or implication that this is specific play back with multimedia mode.
Above-mentioned operation method, different these paste attachments that indicate are packed with different parameters value electronic component, show as different electrical parameters.Described different electric signal is through being converted to described multimedia file access index value, as the memory address of access and described character or character group associated multimedia file.Be equipped with different key on interaction type electric learning white plate blank body, identical characters or character group can produce different index values, with access but different content level multimedia file relevant with this character or character group.When reading multimedia file according to described paste attachment generation index value, can preferentially to plug-in storage card, seek by the Card Reader circuit of described video-audio playing device, if wherein when not having the associated multimedia file, to built-in ROM of video-audio playing device or FLASH, seek again; So the user can conveniently replace or the corresponding multimedia file of newly-increased character or character group.
Above-mentioned operation method, described specific character or character group include but not limited to English alphabet, English word, numeral, mathematical operation formula, and this character or character group also can become interaction type electric learning white plate and enter the use of different conditions switch.Described different parameters value electronic component adopts in resistance, electric capacity, the inductance at least one.
Owing to adopted above scheme, interaction type electric learning white plate of the present invention, except the writing function that common blank is provided, when certain paste attachment is adsorbed on this blank, see through the circuit that is positioned on this blank, can scan the different resistance embedded on this paste attachment or the electric signal of difference, with seeing through main control unit, identify one or more these paste attachments, and form certain specific character or character group meaning in regular turn, and can be from audio-visual playing module, the news file that this character group of direct access is correlated with, and be able to multimedia mode and play the shadow that this character group is correlated with, message breath etc.
Meaning of this paste attachment and outward appearance can comprise letter, literal, numeral, and other symbol, figure etc., when it is adsorbed on assigned address on the blank, the meaning of word that the combination of paste attachment or a plurality of paste attachments is explained or implication are played out relevant audio and video information by audio-visual playing module, for user child particularly, in careless, pass through vision, spoken and written languages have been accepted in the sense of hearing, education such as numeral, teach, because relevant broadcast information can be in advance in conjunction with recording into attraction child's story, forms such as song, use when of the present invention, be full of interest, can attract child initiatively to play, will educate and play and combine together.Because between participant and the electric learning white plate of the present invention is interactive all the time, the participant is not passive simply acceptance, and therefore, results of learning are better.
Therefore the present invention, can provide the learning recreation content of magnanimity because can external connection storage apparatus, and content can constantly be uploaded renewal from network, also can own recorded content, carry out interaction with parental sound and child, and can attract child more.
The present invention sets up by the improvement of structure, function, can also realize other functions: by the human body pyroelectric sensor is set, when perceiving the someone when walking close to, can play the content on the object of blank absorption automatically, to strengthen child's memory; Or utilize its message, sensing after other people return, play out message automatically and come.Test pattern is set can realizes test the participant, such as, when blank of the present invention played out an English word, whether the participant that can test and assess at the appointed time correctly had been combined into this word on blank.
Interaction type electric learning white plate of the present invention, except the writing function that common blank is provided, paste attachment attaches the step that goes up the blank body, both be equivalent to import a keyboard key assignments, the letter of directly this keyboard being represented simultaneously, numeral, symbol etc. show again, and the function with demonstration is imported in realization synchronously.
Interaction type electric learning white plate of the present invention can be used as the usefulness of electronic dictionary, carries out word lookup intuitively, and is very convenient quick.
[description of drawings]
Fig. 1 is the contour structures synoptic diagram of the embodiment of the invention one;
Fig. 2 is the electrical block diagram of the embodiment of the invention one;
Fig. 3 is one of paste attachment structural representation of the embodiment of the invention one;
Fig. 4 be the embodiment of the invention one the paste attachment structural representation two;
Fig. 5 is the contour structures synoptic diagram of the embodiment of the invention two;
Fig. 6 is the electrical block diagram of the embodiment of the invention two;
Fig. 7 is one of paste attachment structural representation of the embodiment of the invention two;
Fig. 8 be the embodiment of the invention two the paste attachment structural representation two;
Fig. 9 is the electrical block diagram of a kind of existing MP3 encoding and decoding main circuit that the embodiment of the invention adopted.
[embodiment]
Also the present invention is described in further detail in conjunction with the accompanying drawings below by specific embodiment.
Embodiment one:
Please refer to shown in Figure 1ly, this routine interaction type electric learning white plate comprisesblank body 1,paste attachment 2, can insert the MP3 playing device of SD card, an identification arithmetic element.The circuit structure of this playing device please refer to shown in Figure 2, comprises a MP3 encoding and decoding main circuit, flash memory FLASH, a SD Card Reader circuit, audio electrical equipment, loudspeaker, microphone.The identification arithmetic element comprises an A/D converter, a scrambler, scrambler adopts 3 pairs 8 scramblers, the output terminal of scrambler, A/D converter is electrically connected with MP3 encoding and decoding main circuit respectively, each input end of scrambler, A/D converter is drawn some groups of electric contacts one to one respectively, and is arranged in the location lattice of white plate surface.The main circuit of MP3 playing device can directly adopt the integrated chip that comprises read only memory ROM, SD Card Reader circuit, sound effect circuit, and such as the STMP3410 chip of SIGMATEL company, its circuit theory diagrams please refer to shown in Figure 9.Extended RAM is equivalent to increase memory size to the MP3 playing device, and multiple choices such as CF card, SM card, mmc card, SD card can be arranged.This blank main body possesses magnetic adsorptive power.The major part of MP3 playing device is built within the blank body, wherein the internalmemory expansion slot 34 of SD Card Reader circuit is arranged at the side frame of blank main body, keyboard comprises " sound increase "key 311, " sound reduces key " 312, " recording "key 313, " switch "key 314, " broadcast " key 315, " transmission "key 316, be arranged at blank main body front upper, loudspeaker comprisesleft speaker 301,right loudspeaker 302, two sides of the blank main body that is placed in front upper.Microphone 32 is arranged in the middle of the top.
Power circuit can adopt external power module, also can adopt disposable alkaline battery, or rechargeable battery cooperates charging circuit.
Blank body front also is provided with two signal display lamps: the ON/OFF green LED lamp, and often by shutdown in 2 seconds, green LED was gone out, or did not have the shutdown automatically above 10 minutes under any action, needed to open again by on ﹠ off switch again; Red LED lamp, it is bright to press the record button lamp, and expression enters recording state, and by a record button, red LED lamp is put out again, and the expression recording stops.
During each the recording, produce archives automatically, audio format is MP3, audio files can be deposited to plug-in SD card, and file name can be set up on their own by the user.Sound increase key and sound reduce key can send simultaneously on time " rub-a-dub " sound, as the prompting of adjustment sound.
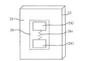
Please refer to Fig. 3, shown in Figure 4, the structure ofpaste attachment 2 comprisessurface layer 21,basic unit 22,soft magnet layer 23,PCB circuit board 24,surface layer 21 can adopt veneer or cardboard, garish 26 letters of color, 0~9, plus sige "+", minus sign "-", equal sign "=" etc. in the printing, the back side and basic unit's 21 usefulness glue are bonding;Basic unit 22 can adopt foam or polyfoam, can reduce weight as far as possible;Soft magnet layer 23 one side are bonding with glue with basic unit, andPCB circuit board 24 is embedded in the back side of soft magnet layer 23.PCB circuit board 24 is provided with Chip-R 241,first conduction region 242,second conduction region 243, and Chip-R 241 2 ends are connected withfirst conduction region 242,second conduction region 243 respectively.First conduction region 242,second conduction region 243 adopt and cover the copper layer.This example adopts the resistance of 39 different resistances altogether, is used to distinguish above-mentioned 26 letters, 0~9, plus sige "+", minus sign "-", equal sign "=" etc.
Principle of work: please in conjunction with Fig. 1, shown in Figure 2,blank body 1 is provided withlocation lattice 11, and has 12, and each location lattice is provided with two electric contacts.The magnetic attracting force ofpaste attachment 2 its dependencesoft magnet layers 23 and blank body, when being attached on the location lattice of blank body, Chip-R two ends are connected with the electric contact of location on the lattice on thepaste attachment 2, overhead positions between Chip-R access circuit scrambler and the A/D converter constitutes an input circuit with scrambler and A/D converter.When the paste attachment that indicates different literals, letter, symbol, numeral is attached on the lattice of location, be essentially the resistance that connects different resistances; Or when a plurality of paste attachments that indicate different letters, symbol, numeral are attached on the lattice of location, come down to a plurality of different resistance and be access in; Thus, input circuit can correspondence produces the address or the coding of difference, and MP3 encoding and decoding main circuit detects this address or coding, can directly read out relevant audio files; Perhaps when play button is pressed, be sent to the relative address of MP3 encoding and decoding main circuit internal memory, the sound playing of this address is come out.When a plurality of resistance are placed simultaneously, pressing when sending key can be by after the comparing of built-in 4000 addresses of FLASH or coding, take out the address of determining, be sent to relative address or file name in the plug-in SD card, can also directly in the SD card, directly take out according to the index value of generation, the sound playing of storing in this address is come out.
Such as, when the paste attachment that indicates " B " was attached on the lattice of location, this electric learning white plate can send this alphabetical pronunciation; When continuing to stick " O ", can send the pronunciation of letter " O "; Connect when sticking " Y ", can send the pronunciation of letter " Y "; When clicking " broadcast " key again, this electric learning white plate can send the pronunciation of English word " BOY ", and makes relevant explanation.If father and mother wish with sound of oneself and the child's interaction of oneself, or dissatisfied built-in explaining, can the word meaning of a word be laid down a definition with the sound of oneself, can also join a relevant a short tale, nursery rhymes etc., be stored in after the recording in the SD card.After " B ", " O ", " Y " three paste attachments correctly are attached to the location lattice, press " transmission " key, can access the MP3 audio files recorded in advance in the SD card in the card reading slot that is plugged on electronic whiteboard body side frame, pronunciation, the meaning of a word, a short tale of this word played back.So can improve child's learning interest, make study no longer dull uninteresting, but be full of enjoyment.
This routine interaction type electric learning white plate can also carry out rudimentary maths initiation education to child, such as, when after order is sticked " 1+2=" four paste attachments on the lattice of location, allow child provide answer, after child sticks correct option " 3 " paste attachment, after the signal of corresponding this resistance of reflection is checked affirmation by the MP3 main circuit, play out one section applause and encouragement, or the music of one section grace, nursery rhymes etc.; If answer is incorrect, then instead go out prompt tone.
This example also is provided with test pattern, can realize the test to the user.Such as, when this routine interaction type electric learning white plate plays out an English word, if the user can spell out on the lattice of the location of blank with correct paste attachment at the appointed time, score then; If can not finish at the appointed time or can not correctly finish, then prompting mistake also provides correct answer; Whether the participant that tests and assesses has thus grasped this word.
This example can cooperate the different key on the blank, can produce different index values, but the multi-medium file of different content level relevant with this character group with access.Press " broadcast " key as cooperation, the audio files with relative address among then directly extremely built-in ROM or the FLASH plays back; When pressing " transmission " key, then find relative address information among the FLASH, from plug-in SD card, take out multimedia file according to this address information again, and play back according to this index value as cooperation.
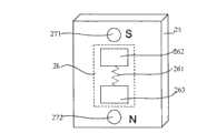
Embodiment two:
Please refer to Fig. 5, shown in Figure 6, on the basis of embodiment one, this routine interaction type electric learning white plate is set up human body sensing circuit-employing human body infrared thermal releasingsensor 33 in the front of blank body, when perceiving the someone when walking close to, can play corresponding content on the paste attachment of blank body absorption automatically, to strengthen child's memory.Can also utilize it to leave a message,, play out message automatically and come sensing after other people return.
Please refer to Fig. 7, shown in Figure 8, thisroutine paste attachment 2 comprisesmatrix 25,PCB circuit board 26, the magnet Sutmost point 271, the magnet Nutmost point 272;Matrix 25 is a hollow plastics system rectangular parallelepiped, positive printing different literals, letter, symbol, numeral etc., andPCB circuit board 26, S utmost pointmagnetic grain 271, N utmost pointmagnetic grain 272 are embedded in the back side ofmatrix 25 respectively;PCB circuit board 26 includes Chip-R 261, firstconductive contact 262, secondconductive contact 263, firstconductive contact 262, secondconductive contact 263 connect two ends of Chip-R 261 respectively, a little more than the surface at the matrix back side (blurring of vision shows), be used for the blank body on the location lattice in electric contact contact conducting.
Among the embodiment, represent can also adopt other electronic components the input values such as different letters, symbol, numeral except adopting above-mentioned different resistances, as the capacitance with the electric capacity of difference represent, inductance value represents.The blank body can also each be located lattice and be set to a groove except possessing magnetic attracting force, to help the location of paste attachment.The conductive area of two electric contacts on the lattice of location, first conduction region on the paste attachment, second conduction region can be done various arrangements and cooperate, as long as be beneficial to the contact conducting of the two, can also take asymmetrical setting, can prevent to be squeezed attaching.According to the principle of the foregoing description, concrete shape, the structure of paste attachment can be done different changes.The blank body can also be the common blank that does not possess magnetic attracting force, and each location lattice is set to darker groove, directly cooperates with paste attachment is concavo-convex.Can be with synthetic one of a plurality of different paste attachments, to constitute certain index value, corresponding certain memory address.
On the basis of the interaction type electric learning white plate of the embodiment of the invention, to circuit structure, physical construction change, increase etc., can realize various function expansion fully.

Claims (20)

1, a kind of interaction type electric learning white plate is characterized in that: comprise a blank body, some paste attachments, a video-audio playing device, an identification arithmetic element; This identification arithmetic element is electrically connected with this video-audio playing device; This paste attachment surface marking can comprise different literal, numeral, letter, symbol, figure etc., and has different electrical parameter values; Described blank body is provided with some location lattice, is provided with conductive contact in these location lattice; When this paste attachment is attached on these location lattice, its surface marking is formed the character or the character group of certain specific meaning of word or implication in regular turn, this identification arithmetic element can be discerned the different electrical parameters of this paste attachment, and produce different electric signals, described video-audio playing device is according to different electric signals, take out the relevant multimedia file of this character or character group and play back, so can reach and utilize same paste attachment to realize that character shows the feature with character input unification.
8, as each described interaction type electric learning white plate among the claim 1-5, it is characterized in that: described identification arithmetic element comprises scrambler, A/D converter, the output terminal of described scrambler, A/D converter is electrically connected with described video-audio playing device respectively, each input end of described scrambler, A/D converter is drawn some groups of electric contacts one to one respectively, and is arranged in the location lattice of described white plate surface; In the time of in described paste attachment is attached at described location lattice, embedded different parameters value electronic component inserts the input end of described scrambler, A/D converter on this paste attachment by electric contact, identification calculates the different electrical signals value that different parameters value electronic component produces thus, produces different index values.
CN200610171192A2006-12-212006-12-21Interactive electronic learning white board and operation method thereofExpired - Fee RelatedCN100585539C (en)

Priority Applications (1)

Application NumberPriority DateFiling DateTitle
CN200610171192ACN100585539C (en)2006-12-212006-12-21Interactive electronic learning white board and operation method thereof

Applications Claiming Priority (1)

Application NumberPriority DateFiling DateTitle
CN200610171192ACN100585539C (en)2006-12-212006-12-21Interactive electronic learning white board and operation method thereof

Publications (2)

Publication NumberPublication Date
CN101206521A CN101206521A (en)2008-06-25
CN100585539Ctrue CN100585539C (en)2010-01-27

Family

ID=39566778

Family Applications (1)

Application NumberTitlePriority DateFiling Date
CN200610171192AExpired - Fee RelatedCN100585539C (en)2006-12-212006-12-21Interactive electronic learning white board and operation method thereof

Country Status (1)

CountryLink
CN (1)CN100585539C (en)

Families Citing this family (16)

* Cited by examiner, † Cited by third party
Publication numberPriority datePublication dateAssigneeTitle
WO2015113360A1 (en)*2014-01-302015-08-06Zheng ShiSystem and method for learning,composing,and playing music with physical objects
CN105453168A (en)*2014-01-302016-03-30施政 Systems and methods for learning, composing and playing music with objects
WO2015113395A1 (en)*2014-01-302015-08-06Zheng ShiSystem and method for directing a moving object on an interactive surface
CN104598027B (en)*2014-12-302018-10-09中国农业大学A kind of motion sensing control multi-media Training System based on user behavior analysis
CN105336225A (en)*2015-11-132016-02-17利奥纸袋(1982)有限公司 A sounding interactive platform for synchronous sounding to trigger playback and method for synchronous sounding
CN106816046A (en)*2015-11-272017-06-09施政A kind of interactive template language learning device
CN105719511A (en)*2016-04-112016-06-29邢启明Universal combined demonstration board for Chinese phonetic alphabet teaching and teaching method
CN105719516A (en)*2016-04-112016-06-29胡文华Chinese language learning device for student and using method thereof
CN108288411B (en)*2018-03-082023-12-19安徽晨光电子科技有限公司Intelligent interactive learning machine and system thereof
CN110033683B (en)*2019-04-152024-04-19四川大学华西医院Ultrasonic training system
CN110428673A (en)*2019-08-132019-11-08广东工业大学A kind of children's intelligence learning monitoring apparatus
CN110599826B (en)*2019-10-092021-06-29新乡医学院 A word-enhancing memory aid device
CN110827587A (en)*2019-12-062020-02-21东永电子(深圳)有限公司Audio book and control method thereof
CN111090410A (en)*2019-12-062020-05-01东永电子(深圳)有限公司Method and device for controlling audio reading material, audio reading material and readable storage medium
CN112767749A (en)*2021-02-032021-05-07四川幼儿师范高等专科学校Preschool education show teaching aid
CN115171442A (en)*2022-05-302022-10-11武汉大学Language learning device

Citations (3)

* Cited by examiner, † Cited by third party
Publication numberPriority datePublication dateAssigneeTitle
CN87213186U (en)*1987-09-051988-03-30赖玉定Multifunctional electronic studying aid for children
JP2004072558A (en)*2002-08-082004-03-04Nec CorpElectronic whiteboard and method for outputting data of electronic whiteboard
CN1595417A (en)*2003-09-102005-03-16Sy高科技株式会社Playing apparatus for audio book and voice card, and controlling method thereof

Patent Citations (3)

* Cited by examiner, † Cited by third party
Publication numberPriority datePublication dateAssigneeTitle
CN87213186U (en)*1987-09-051988-03-30赖玉定Multifunctional electronic studying aid for children
JP2004072558A (en)*2002-08-082004-03-04Nec CorpElectronic whiteboard and method for outputting data of electronic whiteboard
CN1595417A (en)*2003-09-102005-03-16Sy高科技株式会社Playing apparatus for audio book and voice card, and controlling method thereof

Also Published As

Publication numberPublication date
CN101206521A (en)2008-06-25

Similar Documents

PublicationPublication DateTitle
CN100585539C (en)Interactive electronic learning white board and operation method thereof
US7106309B2 (en)Interactive apparatus using print media
CN1298531A (en)Sounding book system
US7916124B1 (en)Interactive apparatus using print media
CN201886642U (en)Electronic graph recognition board
CN203300063U (en)Story machine
US9111463B2 (en)Interactive speech synthesizer for enabling people who cannot talk but who are familiar with use of anonym moveable picture communication to autonomously communicate using verbal language
WO2014123380A1 (en)Index code recognition multimedia learning device
KR20040016891A (en)Interactive apparatus using print media
TW200830230A (en)Interactive e-learning whiteboard
TWI664610B (en) Interactive game picture book teaching system and method
CN209912178U (en)Point-reading answering device
KR20130072459A (en)Learning device for kids having recognization study boards
CN209962444U (en)Oral english practice trainer
CN201829065U (en)Sound-generating intelligent device capable of identifying hidden two-dimensional code
CN2748136Y (en)Jigsaw puzzle toy with accompanying sound
CN205230399U (en) A conductive pattern reading device and an interactive platform using the device
CN211742320U (en)English natural phonetic learning game multifunctional board
CN2935302Y (en)Touch sounding teaching aid
US20060020470A1 (en)Interactive speech synthesizer for enabling people who cannot talk but who are familiar with use of picture exchange communication to autonomously communicate using verbal language
CN2524295Y (en) Interactive teaching device
CN221841511U (en) An early childhood education machine with point reading function
CN220064979U (en)5G-based interactive terminal for remote teaching system
KR20140101655A (en)Multimedia Language Study Device Scanning With Index Tag
CN108806354A (en)One kind listening barrier children's pronunciation training toy, system and method

Legal Events

DateCodeTitleDescription
C06Publication
PB01Publication
C10Entry into substantive examination
SE01Entry into force of request for substantive examination
C14Grant of patent or utility model
GR01Patent grant
C17Cessation of patent right
CF01Termination of patent right due to non-payment of annual fee

Granted publication date:20100127

Termination date:20101221


[8]ページ先頭

©2009-2025 Movatter.jp