Movatterモバイル変換


[0]ホーム

URL:


CN100574728C - Intervertebral disc replacement device and system - Google Patents

Intervertebral disc replacement device and system
Download PDF

Info

Publication number
CN100574728C
CN100574728CCN03807584ACN03807584ACN100574728CCN 100574728 CCN100574728 CCN 100574728CCN 03807584 ACN03807584 ACN 03807584ACN 03807584 ACN03807584 ACN 03807584ACN 100574728 CCN100574728 CCN 100574728C
Authority
CN
China
Prior art keywords
anchor
implantable
anchor plate
coupling
vertebra
Prior art date
Legal status (The legal status is an assumption and is not a legal conclusion. Google has not performed a legal analysis and makes no representation as to the accuracy of the status listed.)
Expired - Fee Related
Application number
CN03807584A
Other languages
Chinese (zh)
Other versions
CN1697633A (en
Inventor
L·A·威廉斯
S·-K·王
Current Assignee (The listed assignees may be inaccurate. Google has not performed a legal analysis and makes no representation or warranty as to the accuracy of the list.)
COOL BRACE
Original Assignee
COOL BRACE
Priority date (The priority date is an assumption and is not a legal conclusion. Google has not performed a legal analysis and makes no representation as to the accuracy of the date listed.)
Filing date
Publication date
Application filed by COOL BRACEfiledCriticalCOOL BRACE
Publication of CN1697633ApublicationCriticalpatent/CN1697633A/en
Application grantedgrantedCritical
Publication of CN100574728CpublicationCriticalpatent/CN100574728C/en
Anticipated expirationlegal-statusCritical
Expired - Fee Relatedlegal-statusCriticalCurrent

Links

Images

Landscapes

Abstract

The present invention discloses a disc replacement device (10) comprising: a first implantable member (12) having a first anchor plate (16) and a female body (18) detachably couplable with the first anchor plate (16), and a second implantable member (14) having a second anchor plate (20) and a male body (22) detachably couplable with the second anchor plate (20), the male body (22) for movable engagement with the female body (18), wherein the female body is coupled to the first anchor plate using a first coupling member in a manner to permit separation of the female body from the first anchor plate with removal of the first coupling member while leaving the first anchor plate implanted on a vertebra; or wherein the boss is coupled to the second anchor plate using a second coupling member in a manner that, with the second coupling member removed, allows the boss to separate from the second anchor plate while leaving the second anchor plate implanted on a vertebra.

Description

Replacement device and system
The cross-reference of related application
The application's requirement enjoys in submit applications on March 30th, 2002, application number is 60/368,783 and in submit applications on May 16th, 2002, application number is 60/381, the priority of 529 U.S. Provisional Patent Application, these two applications all be with Lytton Williams as first inventor, its whole contents as this paper all the such integral body of statement be incorporated herein by reference.
Technical field
The present invention relates to be implanted to intravertebral replacement device of patient and system thereof.
Background technology
The spinal column of human body is flexible structure, and it comprises 33 by the separated vertebra of intervertebral disc.Intervertebral disc serves as the amortisseur liner between the adjacency vertebra and allow bending between the vertebra.Usually, intervertebral disc is by vertebral pulp, and fibrous ring and end plate are formed.Vertebral pulp comprises inner tremelloid nuclear, and this nuclear occupies the 25-40% of described dish cross-sectional area.Fibrous ring is the collagen fibers composite construction, and it is added in hoop power, torsion and bending force on the dish around vertebral pulp and opposing.The end plate of cartilage will coil with vertebra in each side of dish to be separated.
Current, back pain is ubiquitous public health problem, particularly in the old people.The backache meeting with serious that continues makes the patient become weak and incapacitation.The common cause that causes this pain is normally because intervertebral disc is unusual.For example, wound, stress, damage, disease, perhaps abuse all may cause one or more vertebra and/or one or more intervertebral disk injury.More precisely, the disease of vertebra and intervertebral disc may comprise, but be not limited to: (1) disk ring ruptures such as ring crack; (2) intervertebral disc chronic inflammatory disease; (3) with the local prolapse of intervertebral disc that comprises or break away from extruding; And (4) are around the vertebra instability of intervertebral disc.
Invented out the method for various treatment backaches.For instance, lighter backache can be passed through medicine or other harmless therapy for treating.Yet serious backache need be excised the impaired or cacergastic back of at least a portion tissue usually.Intervertebral disc also might break, and disruptive intervertebral disc can remove by surgical operation, and two adjacent vertebraes can merge near the intervertebral disc that is removed.Selectable, the end plate of two adjacent vertebraes can be merged from rear side by screw or other fusing device.Though these fusion steps confirm that the cacergastic treatment to some intervertebrals is successful, have also exposed some shortcomings.For instance, this back mixing operation may produce pseudarthrosis.
As previously mentioned, need development can imitate the implantable intervertebral device of vertebra natural motion.
Summary of the invention
The application relates to multiple intervertebral device, and this intervertebral device can be implanted in patient's spinal column in several ways, with the treatment various disease conditions.
The invention discloses the embodiment of replacement device, this replacement device comprises first implantable, have first anchor plate that is implanted on the vertebra and with the separable coupled concave volume of this first anchor plate; And, second implantable, have second anchor plate that is implanted on the vertebra and with the separable coupled convex body of this second anchor plate, this convex body is used for movably meshing with concave volume, wherein said concave volume uses first male part to be coupling in this manner on described first anchor plate, thereby along with removing of first male part, allow described concave volume to separate, keep described first anchor plate simultaneously and be implanted on the vertebra from described first anchor plate; Perhaps wherein said convex body uses second male part to be coupling in this manner on described second anchor plate, thereby along with the removing of second male part, allows described convex body to separate from described second anchor plate, keeps described second anchor plate simultaneously and is implanted on the vertebra.
In another embodiment, intervertebral device is disclosed, and this intervertebral device comprises: first implantable, this first implantable has first anchor plate and the separable concave volume that is coupled on this first anchor plate that is implanted on the vertebra, and many anchor logs place on the described anchor plate periphery; And second implantable, this second implantable has second anchor plate and the separable convex body that is coupled on this second anchor plate that is implanted on the vertebra, many anchor logs place on the described anchor plate periphery, described convex body is used for movably meshing with described concave volume, wherein said concave volume uses first male part to be coupling in this manner on described first anchor plate, thereby along with removing of first male part, allow described concave volume to separate, keep described first anchor plate simultaneously and be implanted on the vertebra from described first anchor plate; Perhaps wherein said convex body uses second male part to be coupling in this manner on described second anchor plate, thereby along with the removing of second male part, allows described convex body to separate from described second anchor plate, keeps described second anchor plate simultaneously and is implanted on the vertebra.
In yet another embodiment, described and partly coiled intervertebral device, and comprised, first's dish device, this first's dish device has first anchor plate and separable half concave volume that is coupled to described first anchor plate, and many anchor logs place on the described first anchor plate periphery; And second portion dish device, this second portion dish device has second anchor plate and the separable semi-convex body that is coupled on described second anchor plate, many anchor logs place on the described second anchor plate periphery, and described semi-convex body is used for movably meshing with described half concave volume.
In addition, described and in patient's spinal column, to have implanted the method for intervertebral disk prosthesis, and be included in the dish gap be provided between two adjacent vertebraes, in the dish gap, place at least one intervertebral disk prosthesis, with the end plate of vertebra cartilage be positioned at least one anchor log engagement on the intervertebral disk prosthesis.
In another embodiment, the method of implanting intervertebral disk prosthesis in patient's vertebra is disclosed, and be included in provide between two adjacent vertebraes the dish gap, in this dish gap, be placed on its inside and have first implantable of concave volume, with at least one anchor log engagement on the end plate of vertebra cartilage and first implantable, in the dish gap, place second implantable with convex body, make the end plate of vertebra cartilage and second implantable go up at least one anchor log engagement, and first implantable concave volume is engaged in the convex body on second implantable.
In yet another embodiment, the method of repairing the intervertebral disc device that is implanted into the patient body is disclosed, and be included in provide between two adjacent vertebraes the dish gap, has first implantable first vertebra that is implanted to wherein, first implantable coupling with concave volume coupled with it, and, has implantation second implantable second vertebra wherein, second implantable coupling with convex body coupled with it, remove and concave volume is coupled to first implantable male part, remove concave volume and stay first anchor plate that is implanted to first vertebra from first implantable, on first anchor plate, place the concave volume of replacing, by male part the concave volume of replacing is coupled to first anchor plate, and makes the convex body engagement of first implantable the replacement concave volume and second anchor plate.
In addition, the anterior lateral approach (anterior lateral method) that gets involved patient's vertebra has been described here, and comprise, patient is placed lateral position, determine the position of the intervertebral disc that will enter in the spinal column, the dish gap by the needs reparation, the inboard and outside cuts out otch along the axis in patient skin, cutting subcutaneous tissue and the fascia under it, blunt is peeled off outer oblique, blunt is peeled off transversus, blunt is peeled off internal oblique, and blunt is peeled off the peritoneum behind the vertebra, does not damage lumbal plexus or nerve root ground pro-or peels off psoas muscle at the back blunt, regain peritoneum to the inside and towards vertebra head side, the vascular that ligation is cut open, and the vascular of ligation regained with the outside to the inside, to be provided to the passage of vertebra.
Other purpose of the present invention, feature, and advantage will embody in the specific descriptions below.
Description of drawings
Fig. 1 is the perspective view of replacement device embodiment;
Fig. 2 is the longtitudinal view of replacement device embodiment;
Fig. 3 is the front view of replacement device anchor plate embodiment;
Fig. 4 is the perspective view of the replacement device first anchor plate embodiment, and concave volume is removed from it;
Fig. 5 is the side view of the replacement device first anchor plate embodiment, and concave volume is from wherein removing along line 5-5 shown in Figure 4;
Fig. 6 is the perspective view of the replacement device concave volume embodiment that removes from first anchor plate;
Fig. 7 is the side view of the replacement device concave volume embodiment that removes along line 7-7 shown in Figure 6 from first anchor plate;
Fig. 8 is the perspective view of first implantable embodiment of replacement device;
Fig. 9 is the perspective view of first implantable another embodiment of replacement device;
Figure 10 is the perspective view of first implantable the embodiment of replacement device in the assembling;
Figure 11 is the perspective view of first implantable embodiment of the replacement device that assembles;
Figure 12 is the perspective view of second implantable embodiment of replacement device;
Figure 13 is the perspective view of the replacement device second anchor plate embodiment, and convex body is from wherein removing;
Figure 14 is the side view of the second anchor plate embodiment of replacement device, and convex body edge line 14-14 as shown in figure 13 removes;
Figure 15 is the perspective view of the replacement device convex body embodiment that removes from second anchor plate;
Figure 16 is along the embodiment side view of line 16-16 shown in Figure 15 from the second anchor plate replacement device convex body
Figure 17 is the perspective view of replacement device toxoplasma embodiment;
Figure 18 is the embodiment view of replacement device convex body spare;
Figure 19 is another embodiment view of replacement device convex body spare;
Figure 20 is the longtitudinal view of replacement device embodiment, and power is applied on it along its center line;
Figure 21 is the longtitudinal view of replacement device embodiment, and power departs from center line and is applied on it;
Figure 22 is another embodiment view of replacement device convex body;
Figure 23 is a replacement device embodiment longtitudinal view shown in Figure 22, and power is applied on it along its center line;
Figure 24 is a replacement device embodiment longtitudinal view shown in Figure 22, and power departs from its center line and is applied on it;
Figure 25 is a part dish displacement apparatus embodiment view;
Figure 26 is the part dish displacement apparatus diskware embodiment of a first view;
Figure 27 is a part dish displacement apparatus second portion diskware embodiment view;
Figure 28 is that intervertebral disc is positioned at two adjacent intervertebral perspective views;
Figure 29 is that intervertebral disc is positioned at two at a distance of the perspective view between the adjacent vertebrae of distance D 6;
Figure 30 is the perspective view of two adjacent vertebra distance of separation D6;
Figure 31 is that second implantable of replacement device is positioned at two adjacent intervertebral embodiment perspective views;
Figure 32 is second implantable of replacement device and the coupled embodiment perspective view of vertebra;
Figure 33 is that first implantable of replacement device is positioned at two adjacent intervertebral embodiment perspective views;
Figure 34 is first implantable of replacement device and the coupled embodiment perspective view of vertebra;
Figure 35 is and coupled first implantable embodiment perspective view that is meshed with coupled second implantable of adjacent vertebrae together of vertebra;
Figure 36 is and coupled first implantable another embodiment perspective view that is meshed with coupled second implantable of adjacent vertebrae together of vertebra;
Figure 37 is second implantable the perspective view before convex body replaces it that is coupled to vertebra;
Figure 38 is coupled to second implantable of vertebra to carry out the perspective view that convex body is replaced, and in the drawings, convex body removes;
Figure 39 is coupled to second implantable of vertebra to carry out the perspective view that convex body is replaced, and wherein, replaces the convex body of usefulness and has put into the dish gap;
Figure 40 is and coupled first implantable embodiment perspective view that is meshed with coupled second implantable of adjacent vertebrae together of vertebra;
Figure 41 is before the dish fusion process, with coupled first implantable embodiment perspective view that is meshed with coupled second implantable of adjacent vertebrae together of vertebra
Figure 42 be with dish fusing device coupling before, the embodiment perspective view that first anchor plate and second anchor plate are coupled with vertebra respectively; And
Figure 43 embodiment perspective view that to be first anchor plate that formerly is coupled with vertebra respectively and second anchor plate be coupled with the dish fusing device.
The specific embodiment
Replacement device disclosed herein can be implanted in the mammiferous spinal column.The intervertebral disk prosthesis that is different from formerly has the accessories apparatus that is used for fiber disc vertebral pulp or fibrous ring, intervertebral disk prosthesis disclosed herein comprises at least one anchor plate, this anchor plate has one or more anchor logs thereon, this anchor log is used for the dish displacement apparatus is meshed and is coupled with the spinal vertebrae cartilaginous end plates, thus in case implant the steadiness that can increase device.In addition, replacement device disclosed herein can have the replacement assembly, makes that thus the surgeon can be according to each patient's the physiology's restriction and the change customization related device of physiological conditions.In addition, replacement device can be made different sizes, make thus device can the implant patient spinal column in different positions.For instance, the size of intervertebral device is used for the lumbar segment of implant patient spinal column.In another embodiment, the size of intervertebral device is for implantation into the cervical vertebra section of patient's spinal column.
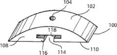
Fig. 1 and Fig. 2 illustrate embodiment different views of replacement device.As shown in Figure 1, intervertebral device 10 comprises first implantable 12 and second implantable 14, and this size of second implantable makes movably engagement of itself and first implantable 12.Comprise first anchor plate 16 for described first implantable 12, on this anchor plate, be shaped on concave volume 18.Similarly, described second implantable 14 comprises second anchor plate 20, be shaped on convex body 22 on this anchor plate.Selectable, this convex body 22 can use, and for instance, male part 23 is connected to second anchor plate 20 separably.Though do not illustrate, concave volume 18 can use male part 23 to be connected separably with first anchor plate 16.Male part 23 can include, but are not limited to for instance, comprises the screw of holding screw, bolt, pin, locking piece, button, cover pinning, friction holding device, magnetic force holding device and springlock.Each first and second anchor plate 16,20 can include one or more anchor log 24 from wherein extending.As shown in Figure 1, anchor log 24 can place first and second anchor plates, 16,20 peripheries, makes described anchor log 24 thrust and remain on thus and installs in surface or the structure.For instance, anchor log 24 can thrust and remain in the hyaloidin end plate of patient's vertebra.This first implantable 12, the second implantable 14, perhaps their boths can comprise therapeutic agent or marking agent thereon.For instance, this first implantable 12, the second implantable 14, perhaps their boths can plasma sprayings or are comprised anchor log 24 plasma spraying or that cover titanium layer thereon.
Fig. 3 is illustrated in detail infirst anchor plate 16 that its periphery has a plurality of anchor logs 24.As shown in Figure 3,anchor log 24 comprises grapplingbody 26, and this grapplingbody 26 defines anchor cavity 28.This is formed atanchor cavity 28 in the grapplingbody 26 and allows or promote tissue or bone grafting material to grow in it or byanchor cavity 28 growths, thus withfirst anchor plate 16 firm be coupled tovertebra.Anchor log 24 can comprise sharp keen or sharp-pointedtip 30, and this tip makes anchor log 24 can thrust contiguous tissue.For instance, in migration process, when limiting or eliminate the division of vertebra, theseanchor log 24 described sharpkeen tips 30 make anchor log enter into easily in the end plate of vertebra.In another embodiment,anchor log 24 can not use sharp keen or sharp-pointed tip, and by circle, blunt or atraumatic most advanced and sophisticated the replacement.
As shown in Figure 3, grapplingbody 26 comprises successive wall, and this wall defines anchor cavity 28.Nonrestrictive, at least one grapplingbody 26,anchor log 24, perhaps anchorplate 16,20, comprise at least one passage, groove, short and small teat, button, perforation thereon, and perhaps other interruption is in its surface grown to help or to promote to organize within it.For instance, limit the surface, inside ofanchor cavity 28, the outer surface ofanchor cavity 26, perhaps two ofanchor cavity 26 surfaces all are porous or coarse promoting being organized in growth inside, or slick to make things convenient foranchor log 24 to penetrate in the vertebra.In another embodiment,anchor log 24,anchor plate 16,20, perhaps the two all can comprise a cover layer, for example titanium-plasma cover layer or have groove thereon and rough surface is provided thus.
Place theanchor log 24 on theanchor plate 16,20 can make different length, diameter, perhaps shape.In one embodiment,anchor log 24 comprises solid column or body.In an optional embodiment,anchor log 24 comprises structure hollow or piped.For instance, be formed atanchor cavity 28 in theanchor log 24 can have about 0.5 millimeter to about 0.9 millimeter breadth wise dimension.In another embodiment, the tip part 32 ofanchor log 24 can be straight, crooked, disperse, astringent, and/or can comprise an edge, and antelabium, perhaps cut-out feature is organized in growth inside to strengthen or to improve.In another embodiment,anchor log 24,anchor plate 16,20, it is placed on it that perhaps the two can have therapeutic agent.The example of therapeutic agent can comprise, for example, hydroxyapatite, biological activity protein (for example, osteogenin albumen), perhaps other promotion is organized in the wherein therapeutic agent of growth.In another optional embodiment,anchor plate 16,20 placed on it and/oranchor log 24 can plasma sprayings or can be comprised titanium projection or salient point.Comprise that as first anchor plate, 16, thesecond anchor plates 20 being similar to the front describes such anchor log 24 (referring to Fig. 1-2).
As Figure 1-3, this anchor log 24 is vertical extends out from anchor plate 16,20.In an optional embodiment, anchor log 24 extends out at a certain angle from first and second anchor plates 16,20 respectively, and can be straight substantially, curved, taper, disperse, truncated cone-shaped, perhaps conical.This anchor log 24 can or be made with anchor plate 16,20 by the state of the art and anchor plate 16,20 global formations and link to each other, such as, the plasma welding.First and second implantable 12,14, respectively, perhaps any part wherein, can from or merge a plurality of biocompatible materials in addition and make, comprise, indefiniteness, titanium or titanium alloy, rustless steel, cobalt-chromium alloy, vanadium, pottery or ceramic material, as aluminium oxide and zinc oxide ceramics, Nitinol, memorial alloy, plastics, at commercial known " polyether-ether-ketone (peek) " (polyether-ether-ketone) (polyetherether ketone) or " super polyether-ether-ketone (Ultrapeek) " (polyether-ketone, ether ketone, ketone) carbon fiber reinforced polymer, Merlon, polypropylene, polyethylene is inserted the polysulfone plastic material of glass or carbon fiber cellulose B (carbon fibers Kevlar), synthetic material, the different metal alloy, lactoprene, perhaps other bio-compatible is chemical inert material substantially.In addition, intervertebral device of the present invention can comprise, (echogenic) of echo gene, and ray is impervious, perhaps radiolucent material.
Fig. 4-8 illustrates first implantable 12 difference composition.Shown in Figure 4 and 5,first anchor plate 16 comprisessubstrate 40, and this substrate is used for accepting thereon and supports one or more anchor log 24.Thissubstrate 40 keepswall 42A with first and second respectively, and 42B is communicated with.First keepsflange 44A and first to keepwall 42A to form integral body, is connected with it, perhaps otherwise coupled logical, limits thefirst retaining groove 46A thus.Similarly, second keepsflange 44B and second to keepwall 42B to form integral body, is connected with it, perhaps otherwise coupled logical, limits thesecond retaining groove 46B thus.Theinner surface 48 ofsubstrate 40 further limits the first andsecond retaining groove 46A, 46B respectively.As a result, receptorconcave volume receptor 50 keepswall 42A, 42B by theinner surface 48, the first and second ofsubstrate 40, and first and second keepflange 44A, 44B to form.As shown in Figure 4, at least onemale part groove 52 can be formed at first and keepwall 42A, and second keepswall 42B, perhaps on these two maintenance walls.Selectively, at least onemale part groove 52 can be formed on any parts of foregoingfirst anchor plate 16.
Fig. 6-9 shows concave volume 18 and removes from first anchor plate 16 (referring to Fig. 4-5).Concave volume 18 defines groove 60 therein.As shown in Figure 6, groove 60 limits longitudinal concave arc A1, this spill arc A1 and longitudinal axis LoSide by side, horizontal spill arc A2 and transverse axis LaSide by side, perhaps groove limits the two, and thus, when meshing with the first implantable element 12 (referring to Fig. 2), second implantable 14 is free to along spill arc A1, and A2 or the two move.In the embodiment shown in this, concave volume 18 comprises the first and second plain-straight-face flange 62A respectively, 62B, and this flange is respectively adjacent to groove 60.As shown in Figure 9, concave volume 18 can comprise four plain-straight-face flange 62A, 62B, and 62C, 62D, these flanges are respectively adjacent to groove 60.Concave volume 18 can be made does not have plain-straight-face flange, perhaps selectable, can be shaped on the plain-straight-face flange of any amount thereon.Still with reference to Fig. 6-9, plain-straight-face flange 62A, 62B can limit groove 60.In addition, plain-straight-face flange 62A, 62B can make when second implantable 14 and first implantable 12 engagement, be used for limiting or limit second implantable 14 vertically, side direction, rotation, arc or transverse movement.
Still with reference to accompanying drawing 6-8,concave volume 18 comprises at least the first supportingwalls 64A and the second supporting walls 64B.Thefirst coupling track 66A is manufactured on the first supporting walls 64A.Same, thesecond coupling track 66B is manufactured on the second supporting walls 64B.Thesubstrate 68 and the first andsecond coupling track 66A, 66B connects.The first andsecond coupling track 66A, 66B is assembled so that be contained in the receptorconcave volume receptor 50, and with first and second keepflange 44A, 44B meshes (referring to Figure 4 and 5), separablyconcave volume 18 is coupled tofirst anchor plate 16 thus.Can hold themale part receptor 70 ofmale part 23 therein, receptor can place any part of aforementionedconcave volume 18.
In the illustrated embodiment,concave volume 18 comprises thecoupling track 66A that can meshfirst anchor plate 16,66B, thereby withconcave volume 18 separablefirst anchor plates 16 that are connected to.In optional embodiment, can use various coupling device well known in the art with describedconcave volume 18 separablefirst anchor plates 16 that are coupled in, these coupling devices comprise, for instance, the device of frictional fit, locking piece, magnetic coupling device, reverse lock (twist locks), perhaps the snap-fastener adapting device.
Figure 10 and 11 illustrates firstimplantable device 12 of assembling different phase.As shown in the figure,substrate 40 inner surfacies ofsubstrate 68 contiguousfirst anchor plates 16 of concave volume 18.Afterwards, advancing inconcave volume 18 edges line L1 as shown in figure 10, advances in the receptorconcave volume receptor 50 offirst anchor plate 16 in the last concave volume 18.The continuous process thatconcave volume 18 enters receptorconcave volume receptor 50 makes the first and second supportingwalls 64A, the 64B and the first andsecond coupling track 66A, 66B and first and second keepswall 42A, 42B and first and second keeps flange 44A, the 44B engagement is therefore withconcave volume 18 separablefirst anchor plates 16 that are connected to.Retractible or separablemale part 23 can be inserted into (as Fig. 4 and 6) inmale part groove 52 and themale part receptor 70, thusconcave volume 18 is fixed to first anchor plate 16.In the embodiment shown,concave volume 18 is made along transverse axis LaSlide and mesh and be coupled to first anchor plate 16.In optional embodiment,concave volume 18 is made along longitudinal axis LoSlide and mesh and be coupled tofirst anchor plate 16.
Figure 12-19 illustrates second implantable 14 embodiment.As shown in the figure,second implantable 14 comprisessecond anchor plate 20, and this anchor plate has and its separable convex body that is connected 22.One ormore anchor log 24 is placed on it or be communicated with this second anchor plate 20.At least onemale part 23 is used forconvex body 22 is fixed to second anchor plate 20.As shown in figure 12,convex body 22 can limit convex arc A3 longitudinally, horizontal convex arc A4, and perhaps therefore the two, when meshing first implantable 12 (with reference to Fig. 8), can move freely second implantable 14convex body 22 in concave volume 18.Described convex arc A3 and A4 can be symmetric, asymmetrical.
With reference to Figure 13 and 14, second anchor plate 20 comprises the substrate 80 that is shaped on convex body receptor 82 thereon, receptor.In one embodiment, convex body receptor 82 can become one with the inner surface 84 of substrate 80 or be attached to it.The outer surface 86 of substrate 80 can comprise one or more anchor log 24 thereon thereon.In the illustrated embodiment, anchor log 24 places on the periphery of outer surface 86 of substrate 80, therefore makes anchor log 24 engagements and remaining in the end plate of patient's vertebra cartilage.In the illustrated embodiment, a convex body receptor 82 is positioned on the inner surface of substrate 80.In optional embodiment, the convex body receptor 82 of any amount can be positioned on the inner surface of substrate 80.Convex body receptor 82 can comprise and is positioned on the coupling body 90 or the couple flange 88 that is connected with this coupling body, therefore forms coupling groove 92, and this coupling groove meshes with convex body 22, and convex body is remained on wherein.Couple flange 88 is slotted as shown in figure 13.Yet this couple flange 88 is not the groove structure shown in being defined as, and the making toxoplasma 100 be inserted into horizontal, vertical or vertically be engaged to coupling groove 92 of its manufacturing, thus with convex body receptor 82 fixed engagement and be coupled to second anchor plate 20.In another embodiment, couple flange 88 can comprise or comprise in a different manner successive flange, groove, perhaps other coupling shape.At least one securing member receptor 94 that can receive male part 23 (referring to accompanying drawing 12) can be positioned on the random component of described second anchor plate 20.
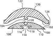
Figure 15-17 shows the embodiment of theconvex body 22 of intervertebral device 10.As shown in the figure,convex body 22 comprisestoxoplasma 100, and this toxoplasma comprisesfirst surface 102, and this first surface has at least oneconvex body bonder 104 thereon.First and second supporting walls 106,108 divide other, are connected 102 with first surface andconnect.Bottom 110 and first and second supporting walls 106,108 connect.In the illustrated embodiment,bottom 110 is connected with first surface 102.In optional embodiment, bottom 110 can not contact with first surface 102.At least onefastening groove 112 is positioned on first supporting walls 106.Selectable, fastening groove can be positioned on second supportingwalls 108 or the bottom 110.Fastening groove 112 is assembled and is used for receiving therein male part 23 (referring to Fig. 2), thus withconvex body 22 removable be connected tosecond anchor plate 20.
Convex body spare 120 comprisesmating surface 122, and this surface movably is engaged to thegroove 60 of first implantable 21 (referring to Fig. 6).Coupledsurface 124 can place in abutting connection withmating surface 122, and can comprise at least onecoupling securing member 126 thereon.Coupling securing member 126 and toxoplasmaticconvex body bonder 104 engagements, and keep this convex body bonder therein.In the illustrated embodiment,coupling securing member 126 first surface that is coupled totoxoplasma 100 102 that convex body spare 120 is removable.The first surface that is coupled totoxoplasma 100 102 selectable, thatcoupling securing member 126 is non-removable with convex body spare 120.Can use variouscoupling securing member 126 well known in the art so that convex body spare 120 is coupled on thetoxoplasma 100, this comprises, for instance, sells the keeper of slidable fit, friction keeper, springlock, and twistlock.In another embodiment, convex body spare 120 can be made one withtoxoplasma 100 or be connected with thistoxoplasma 100, uses method well known in the art, comprises, for instance, stick coupling, rotating welding, sound wave welding, surface casting (over-casted), with the foundry goods molding, and can comprise global feature, such as undercutting (undercut) hole or groove are arranged thereon.
With reference to Figure 16 and 17, at least second supportingwalls 108 oftoxoplasma 100 comprises bindiny mechanism or connectsgroove 114, this bindiny mechanism or connect groove and be used to meshconvex body receptor 82 on second anchor plate, 20inner surfacies 84, thus, withconvex body 22 removable be coupled to second anchor plate 20.Male part 23 can place thefastening groove 112 ofconvex body 22 and the securingmember receptor 94 ofsecond anchor plate 20,convex body 22 is fixed to second anchor plate 20.In the illustrated embodiment, connectinghole 116 and retaininggroove 118 cooperates is coupled toconvex body 22 second anchor plate 20.Selectable, can use various coupling mechanisms thatconvex body 22 is coupled tosecond anchor plate 20, comprise, for instance, magnetic coupling device, twistlock, slidable fit device, friction fit device, lock token, and other coupling mechanism well known in the art.In the illustrated embodiment,convex body 22 is assembled into meshing and coupling withsecond anchor plate 20 of can sliding along lateral shaft.In optional embodiment,convex body 22 is assembled into meshing and coupling withsecond anchor plate 20 of can sliding along the longitudinal axis.
The curvature ontoxoplasma 100surfaces 102 and shape can be decided by the thickness and the surface curvature of needed convex body spare 120.The radius of curvature of second implantable 20convex body 22 can be a constant, perhaps convex arc A3 longitudinally, and along horizontal convex arc A4, perhaps both change along them.Figure 18 illustrates convex body spare 120 embodiment, and it has the radius of curvature R 1 that is roughly constant.Selectable, Figure 19 illustrates the embodiment of convex body spare 120, and it has the radius of curvature of variation.As shown in the figure,proximal end region 128A has radius of curvature R 2, and the radius of curvature of zone line is R3, and the radius of curvature of remote area is R4, and wherein radius R 2 and R4 are bigger than radius R 3.Similarly, groove 60 (referring to Fig. 4) can comprise it roughly being the radius of curvature of constant, and is perhaps selectable, changes as described in can be upward.
Intervertebral device 10 in being to use shown in Figure 20 and 21.Figure 20 illustrates the embodiment ofsecond implantable 14 andfirst implantable 12 engagement.As shown in the figure, theconvex body 22 that links to each other withsecond anchor plate 20 places with first anchor plate, 16 coupledconcave volumes 18 and is engaged with.One or more anchor log 24 places respectively on first andsecond anchor plates 16,20.Power F1 is along the center line M ofintervertebral device 10LBe applied to second implantable 14 mid portion 152.As a result, first implantable 12 proximal end region is from second implantable 14proximal end region 150 D1 that stands away.
The center line M of applying as power F2 fromintervertebral device 10LShift second implantable 14 rotation in first implantable 12.As shown in figure 21, be applied to power F2 located adjacentproximal end zone 150 on second implantable 14.As a result, theconvex body 22 that is coupled insecond anchor plate 20 rotates in theconcave volume 18 that is coupled in first anchor plate 16.As a result, first implantable 12 proximal end region is separated a segment distance D2 from second implantable 14proximal end region 150, and wherein distance D 2 is less than distance D 1.As shown in the figure, second implantable 14 moving in first implantable 12 can be freely, offersintervertebral device 10 thus along the longitudinal axis, transverse axis, perhaps these two axle motions in a big way.
Figure 22-24 illustrates the optional embodiment of convex body spare 22 ', and second implantable 14 ' rotatablely moving infirst implantable 12 is affined therein, and be conditional, or limited.As shown in Figure 22, restrictedconvex body 22 ' comprisesbody 200, and this body is shaped ontoxoplasma 202 thereon.In one embodiment,toxoplasma 202 is as a whole with body 200.In optional embodiment, thistoxoplasma 202 comprises that by various coupling mechanisms for instance, screw is fastened, pin, and bonding agent, and separable andbody 200 is coupled.Toxoplasma 202 can comprise convex body bonder 204, and this adapter is used for receiving therein the coupling securing member 126 (referring to Figure 16) of convex body spare 120.Body 200 comprises theconnection groove 214 that is formed at wherein, to be used for meshing therein and keeping the convex body receptor 82 (referring to Figure 13) of second anchor plate 20.At least be shaped on a limit flange on the body 200.In the illustrated embodiment, thefirst limit flange 205A and thesecond limit flange 205B are along the longitudinal axis L ofbody 200oBe provided with.In optional embodiment, one ormore limit flange 205A, 205B can be along the transverse axis L ofbody 200aBe provided with.
Shown in Figure 23 and 24, the convex body spare 22 ' that is limited can be coupled with second anchor plate 20.Toxoplasma 202 is inserted in first implantable 12 thegroove 60 and is engaged with.Figure 23 shows along centrage MLBe applied tofirst implantable 12 and implantable 14 ' the power F3 that is limited.Between the second limit flange 205b and first implantable 12 a segment distance D3 is arranged.As shown in figure 24, when leaving center line MLWhen applying power F4, thefirst limit flange 205A and 140 engagements of convex body proximal end region define thesecond limit flange 205B thus and can leave first implantable 12 ultimate range D4.
The optional embodiment of Figure 25-27 intervertebral device.As shown in the figure, part or partly coil (as, the intervertebral disc of partial rupture) thatdevice 210 can be used to replace damage, (as scoliotic) of pathological changes, the perhaps vertebra of other incomcopetence.Intervertebral device 10 shown in the image pattern 1 is such, and part is coileddevice 210 and comprised first'sdiskware 212 and second portion diskware 214.As foregoingfirst implantable 12, first'sdiskware 212 comprisesfirst anchor plate 216, and this first anchor plate is separable to be coupled with half concave volume 218.One ormore anchor log 24 is used for that device is coiled in first and is connected to patient's anatomy.For instance, anchor log can coil first the end plate thatdevice 212 meshed and be coupled to vertebra.Similarly, secondportion dish device 214 comprisessecond anchor plate 220, has one ormore anchor log 24 on this anchor plate, separable andsemi-convex body 222 couplings of this anchor plate.Halfconcave volume 218 andsemi-convex body 222 use coupling device well known in the art, respectively with 216,220 couplings of first and second anchor plates.For instance, can use coupling device described above and method, respectively, be coupled to first and second anchor plates 216,220 halfconcave volume 218 andsemi-convex body 222.
Intervertebral device 10 can be implanted in patient's the spinal column by various surgical technics known in the field.For instance, in one embodiment, can use anterior lateral approach to enter the part that needs in patient's lumbar vertebra (such as L2-L5) to repair and to describe, though also can use various surgical technics that intervertebral device is implanted in patient's the spinal column.Patient can be positioned in preceding clinostatism, and patient's spine is perpendicular to operating-table.In one embodiment, patient's shoulder and buttocks are fixed to guarantee that spinal column keeps and the surgery table absolute vertical.For instance, patient's shoulder and buttocks are tied or other modes are fixed to surgery table.
Then, the reference location of on patient skin, drawing labelling, and X ray, for instance, the AP/LAP X ray of patient's spine uses the intervertebral disc position of labelling.In case the position of intervertebral disc is determined and labelling gets off, just coil on the gap or near directly cut out otch.The length of otch may be different according to patient's anatomical features.In another embodiment, the otch on the patient skin can be 2.5 centimetres to 10 centimetres.Otch can be from inboard position, cross-table, and end at lateral position.In another embodiment, the central authorities of otch can evenly extend 2.5 centimetres from the axillary fossa center line, and the intervertebral disc that will be repaired (such as, L5-S1) outside, gap is extended 2.5 centimetres.Otch passes subcutaneous tissue and arrives fascia under it.In addition, outer oblique separates along its fiber blunt.Flesh is crosswise formed similar blunt with internal oblique to be separated.
Then, determine peritoneum, and use blunt to separate therein.The blunt of peritoneum is implemented after being separated in patient's spinal vertebrae body.The self-sustaining retracting device is inserted into this position with muscle around keeping, and the inlet of repairing the position is provided.The psoas muscle that needs on the vertebral body to repair is discerned, and blunt is peeled off or muscle division incision therein.This is peeled off or cuts and can implement before separating vertebra dish gap and end plate and afterwards, does not damage lumbosacral plexus or nerve root from surrounding structure.Traction apparatus is inserted into interesting areas with the separator gap.For instance, Stiemman pin or Homer traction apparatus can further be fixed this interesting areas.
Continue to peel off inboard, a side and tail side that tissue and peritoneum are recovered to cone.Selectable, peritoneum can be recovered to the afterbody of the cone that needs reparation.Be accompanied by peritoneum and regain, the blood vessel of cutting can, but be not necessary, ligation is also turned back with the outside to the inside, and the dish gap can be recognized.Continue front side and rear side and peel off, with further segregation dish gap.Traction apparatus such as the Homer traction apparatus or have the Stiemman pin of flange, can be placed into dish gap near-end, and the intervertebral disc passage of front side or rear side is provided thus.
Figure 28-35 illustrates a kind of method thatintervertebral device 10 is inserted into patient's spinal column.As shown in figure 28, theintervertebral disc 250 of damaged places between two adjacent vertebraes.Vertebra L4 and L5 are shown in Figure 28-30, yet those of ordinary skills can understand, and thisintervertebral device 10 can be inserted in the diverse location of patient's spinal column.The external rings fiber pulls up from end plate, and vertebral pulp and ring remove from impairedintervertebral disc 250 together, can remove impaired intervertebral disc thus.Shown in Figure 29 and 30, adjacent vertebra L4, the L5 branch is opened a segment distance D6, and impairedintervertebral disc 250 removes from the dish gap.Fragment can remove from the dish gap such as hyperosteogeny or remaining intervertebral disc material.
Be accompanied by the dish gap and removed fragment, the assembly ofintervertebral device 10 just can be inserted in patient's the spinal column.Shown in Figure 31 and 32, can place the dish gap forsecond implantable 14 and be inserted into vertebra L4, so that the end plate ofanchor log 24 and vertebra meshes and is fixed therein.Be accompanied bysecond implantable 14 and be fixed to vertebra L4, first implantable 12 can be inserted into adjacent vertebra L5.Shown in Figure 33-35, first implantable 12 can place the dish gap, andanchor log 24 and the engagement of vertebra L5 end plate, and is fixed therein.In implantation process, first andsecond implantable 12,14 with the vertebra and the relativeness of anatomical structure on every side, can pass through, for instance, X ray, IVUS and echolocation device monitor.In the illustrated embodiment,second implantable 14 insertion is early than first implantable 12 insertion, and is the insertion with respect tofirst implantable 12 cephalad.One of ordinary skill in the art will appreciate that the order of implantation andimplantable device 12,14 positions respect to one another can change, and are not limited only to order recited above and position.
Shown in Figure 36-40 is that the assembly to the intervertebral device 10 implanted is changed when implanting.Figure 36 illustrates the intervertebral device 10 with first implantable 12 and second implantable 14 and is implanted between vertebra L4 and the L5.Change the assembly of this intervertebral device 10, with adjacent vertebra L4, L5 separates, with the passage of the intervertebral device 10 that is provided to implantation.Then, the coupling device 23 that concave volume 18 or convex body 22 is respectively fixed to first or second anchor plate 16,20 is removed.As Figure 37, shown in 38, along with removing of coupling device 23, convex body 22 can separate from second anchor plate 20, stays second anchor plate 20 that is coupling on the vertebra L4 thus.Then, shown in Figure 39 and 40, the convex body of replacing 22 is placed in the dish gap.Convex body receptor 82 on the coupling groove 114 on the convex body 22 of this replacement and second anchor plate 20 meshes and is maintained by it, thus the convex body of replacing 22 is coupled to second anchor plate 20.In case coupling, coupling device 23 just can be inserted in the fastening groove 12 of convex body 22 of replacement, and in the securing member receptor 94 of second anchor plate 20, fix.First implantable 12 concave volume 18 can be changed from 16 separation of first anchor plate and with above-mentioned identical mode.
In optional embodiment,concave volume 18 andconvex body 22 can remove from first and second anchor plates respectively, and put replacement by coiling and attaching together, and thus, merge vertebra L4 and L5.As shown in figure 41, first andsecond implantable 12,14, vertebra L4, the L5 of implantation are separated by distance D 7.Then, vertebra L4, L5 branch open a segment distance D8 so that the passage in dish gap to be provided.In case separately,male part 23 removes on first andsecond implantable 12,14, makesconcave volume 18 to remove fromfirst anchor plate 16 thus,convex body 22 can remove from second anchor plate 20.As shown in figure 42, first andsecond anchor plates 16,20 are connected with vertebra L4, L5.Then,coupling apparatus 260 is inserted into the dish gap, and is coupled by one or moremale part 23 and first andsecond anchor plates 16,20, thus with vertebra L4 and L5 and be incorporated into together.Can with first close second anchor plate, 16,20 coupled exemplary combination or implanting device is disclosed in the United States Patent (USP) 6,113,638 of granting Lytton.A.Williams, its whole disclosure is incorporated in this as a reference as a whole.
In case thisintervertebral device 10 is implanted, the surgeon can remove traction apparatus so that peritoneum is got back to natural place.Before closing surgical site, the surgeon can be at vertebra, gives therapeutic agent on peritoneum or the surrounding tissue.Then, closed subcutaneous tissue and stitching.
In a word, the embodiment that disclosed here of the present invention is the explanation of the first-selected embodiment of the present invention.Also can use other method in spirit of the present invention.Therefore, the present invention is not limited only to shown in the description of the present invention with described.

Claims (31)

Translated fromChinese
1.一种椎间盘置换装置,包括:1. An intervertebral disc replacement device, comprising:一第一可植入件,具有一植入到第一椎骨上的第一锚定板以及可分离的耦合在所述第一锚定板上的一凹体;以及a first implantable member having a first anchoring plate implanted on the first vertebra and a recess detachably coupled to the first anchoring plate; and一第二可植入件,具有一植入到相邻的第二椎骨上的第二锚定板以及可分离的耦合在所述第二锚定板上的一凸体,该凸体用于与该凹体可相对移动的啮合;A second implantable member having a second anchoring plate implanted on an adjacent second vertebra and a protrusion detachably coupled to the second anchoring plate for Engaging with the concave body that can move relatively;其中所述凹体使用第一耦合件以这样方式固定在所述第一锚定板上,从而随着第一耦合件的移除,允许所述凹体从所述第一锚定板分离,同时保留所述第一锚定板植入到第一椎骨上;或者/和wherein said recess is secured to said first anchoring plate using a first coupling in such a manner as to allow separation of said recess from said first anchoring plate upon removal of the first coupling, while retaining the first anchor plate implanted on the first vertebra; or/and其中所述凸体使用第二耦合件以这样方式固定在所述第二锚定板上,从而随着第二耦合件的移除,允许所述凸体从所述第二锚定板分离,同时保留所述第二锚定板植入到第二椎骨上。wherein said projections are secured to said second anchoring plate using a second coupling in such a manner as to allow separation of said projections from said second anchoring plate upon removal of the second coupling, Simultaneously, the second anchor plate remains implanted on the second vertebra.2.如权利要求1所述的装置,其特征在于,第一耦合件或/和第二耦合件选自由销,锁定件,按钮,套索钉,摩擦固位件,磁固位装置,以及按扣锁组成的组群中。2. The device of claim 1, wherein the first coupling member and/or the second coupling member are selected from the group consisting of a pin, a lock, a button, a lasso, a friction retainer, a magnetic retainer, and In groups consisting of snap locks.3.如权利要求1所述的装置,其特征在于,第一耦合件或/和第二耦合件选自螺钉或螺栓。3. The device according to claim 1, characterized in that the first coupling element and/or the second coupling element are selected from screws or bolts.4.如权利要求1所述的装置,其特征在于,所述第一锚定板进一步包括:4. The device of claim 1, wherein the first anchor plate further comprises:一基板;a substrate;至少一个保持壁,该保持壁与该基板连通;at least one retaining wall in communication with the substrate;至少一个保持凸缘,该保持凸缘与该保持壁连通,并制有至少一个用于在其内接纳该凹体的凹体接收器;at least one retaining flange communicating with the retaining wall and forming at least one recess receptacle for receiving the recess therein;至少一个耦合件接收器,该耦合件接收器形成于所述第一锚定板上;以及at least one coupler receiver formed on said first anchor plate; and至少一个锚定件,该锚定件位于所述基板的外周上,并用于与第一椎骨的端板啮合并被保持在该椎骨端板内。At least one anchor is located on the periphery of the base plate and adapted to engage and be retained within the endplate of the first vertebra.5.如权利要求4所述的装置,其特征在于,所述凹体还包括至少一个支撑壁,该支撑壁在其上制有至少一个耦合轨,所述耦合轨用来使该凹体与该第一锚定板啮合并可分离地耦合。5. The device according to claim 4, wherein the concave body further comprises at least one supporting wall, on which the supporting wall is formed with at least one coupling rail, and the coupling rail is used to connect the concave body to the The first anchor plate is engaged and detachably coupled.6.如权利要求1所述的装置,其特征在于,所述凹体还包括至少一个在其内制出的凹槽。6. The device of claim 1, wherein said concave body further comprises at least one groove formed therein.7.如权利要求6所述的装置,其特征在于,所述凹槽限定沿所述凹体纵轴线设置的纵向弧。7. The device of claim 6, wherein the groove defines a longitudinal arc disposed along the longitudinal axis of the concave body.8.如权利要求6所述的装置,其特征在于,所述凹槽限定沿所述凹体横轴线设置的横向弧。8. The device of claim 6, wherein the groove defines a transverse arc disposed along a transverse axis of the concave body.9.如权利要求6所述的装置,其特征在于,所述凹槽限定一纵向弧和一横向弧。9. The device of claim 6, wherein the groove defines a longitudinal arc and a transverse arc.10.如权利要求6所述的装置,其特征在于还包括至少一个位于所述凹体上的凸缘,该凸缘用来限定所述凹槽。10. The device of claim 6, further comprising at least one lip on said recess for defining said recess.11.如权利要求10所述的装置,其特征在于,当所述第二可植入件的凸体与所述第一可植入件的凹体啮合时,所述凸缘与所述第二可植入件接触,从而限制该第二可植入件的运动。11. The device of claim 10, wherein when the protrusion of the second implantable member engages the recess of the first implantable member, the flange and the second implantable member engage. The two implantable parts contact, thereby restricting the movement of the second implantable part.12.如权利要求1所述的装置,其特征在于还包括至少一个用来在其中接纳将第一耦合件的耦合器凹槽,来将所述凹体固定到该第一锚定板上。12. The apparatus of claim 1, further comprising at least one coupler groove for receiving a first coupler therein to secure said recess to the first anchor plate.13.如权利要求12所述的装置,其特征在于,所述第一耦合件选自由销,锁定件,按钮,套索钉,摩擦固位件,磁固位装置,以及按扣锁组成的组群。13. The device of claim 12, wherein the first coupling member is selected from the group consisting of a pin, a lock, a button, a noose, a friction retainer, a magnetic retainer, and a snap lock group.14.如权利要求1所述的装置,其特征在于,所述第二锚定板还包括:14. The device of claim 1, wherein the second anchor plate further comprises:一个具有内表面的基件;a base member having an inner surface;一个置于所述基件内表面上的凸体接收器,该凸体接收器用来与凸体啮合,并将该凸体保持在其内;以及a protrusion receptacle disposed on the inner surface of the base member for engaging the protrusion and retaining the protrusion therein; and至少一个锚定件,所述锚定件置于该基件的外周上,并用于与第二椎骨的端板啮合,并被保持在其内。At least one anchor is disposed on the periphery of the base member and adapted to engage and be retained within the endplate of the second vertebra.15.如权利要求14所述的装置,其特征在于,所述凸体还包括:15. The device of claim 14, wherein the protrusion further comprises:一个具有第一表面和底部的弓形体;an arcuate body having a first surface and a base;至少一个与该底部连通的支撑壁;以及at least one support wall communicating with the bottom; and至少一个连接凹槽,所述连接凹槽置于该底部上,该连接凹槽用于与该凸体接收器啮合并由该凸体接收器保持。At least one connecting groove disposed on the base, the connecting groove for engaging with and being held by the male receptacle.16.如权利要求15所述的装置,其特征在于还包括一凸体耦合器,所述凸体耦合器置于该弓形体上。16. The device of claim 15, further comprising a male coupler disposed on the bow.17.如权利要求16所述的装置,其特征在于还包括一啮合表面,该啮合表面可分离地与该弓形体耦合。17. The device of claim 16, further comprising an engagement surface detachably coupled to the bow.18.如权利要求15所述的装置,其特征在于还包括至少一个限制凸缘,该限制凸缘置于该凸体上,当所述第二可植入件的凸体与所述第一可植入件的凹体相啮合时,该限制凸缘与该第一可植入件相接触,从而限制该第二可植入件的运动。18. The device of claim 15, further comprising at least one constraining flange disposed on the protrusion when the protrusion of the second implantable member is in contact with the protrusion of the first implantable member. When the recesses of the implantable parts are engaged, the restricting flange contacts the first implantable part, thereby restricting the movement of the second implantable part.19.如权利要求1所述的装置,其特征在于,所述凸体限定沿所述凹体纵轴线设置的纵向弧。19. The device of claim 1, wherein the convex body defines a longitudinal arc disposed along a longitudinal axis of the concave body.20.如权利要求1所述的装置,其特征在于,所述凸体限定沿所述凸体横轴线设置的横向弧。20. The device of claim 1, wherein the protrusion defines a transverse arc disposed along a transverse axis of the protrusion.21.如权利要求1所述的装置,其特征在于,所述凸体限定一纵向弧和一横向弧。21. The device of claim 1, wherein said protrusion defines a longitudinal arc and a transverse arc.22.如权利要求1所述的装置,其特征在于,所述凸体的曲率半径大体上是不变的。22. The device of claim 1, wherein the radius of curvature of the protrusion is substantially constant.23.如权利要求1所述的装置,其特征在于,所述凸体的曲率半径是可变化的。23. The device of claim 1, wherein the radius of curvature of the convex body is variable.24.如权利要求1所述的装置,其特征在于,包括至少一个紧固件接收器,该紧固件接收器用于在其内接纳第二耦合件,用于将该凸体固定到该第二锚定板上。24. The device of claim 1, comprising at least one fastener receiver for receiving therein a second coupling member for securing the protrusion to the first coupling member. Two anchor plates.25.如权利要求24所述的装置,其特征在于,所述第二耦合件选自由销,锁定件,按钮,套索钉,摩擦固位件,磁固位装置,以及按扣锁组成的组群。25. The device of claim 24, wherein the second coupling member is selected from the group consisting of a pin, a lock, a button, a noose, a friction retainer, a magnetic retainer, and a snap lock group.26.如权利要求1所述的装置,其特征在于还包括多个锚定件,所述锚定件置于所述第一锚定板和第二锚定板的外周上,该锚定件用于与椎骨端板啮合。26. The device of claim 1, further comprising a plurality of anchors disposed on the outer peripheries of the first and second anchor plates, the anchors For engaging vertebral endplates.27.如权利要求26所述的装置,其特征在于,所述锚定件包括一锚定体,该锚定体限定一锚定腔,并具有末端尖头。27. The device of claim 26, wherein the anchor comprises an anchor body defining an anchor lumen and having a distal tip.28.如权利要求27所述的装置,其特征在于,该末端尖头是削尖的。28. The device of claim 27, wherein the distal tip is sharpened.29.如权利要求27所述的装置,其特征在于,该末端尖头是无损伤的。29. The device of claim 27, wherein the distal tip is atraumatic.30.如权利要求1所述的装置,其特征在于,所述该第一锚定板和第二锚定板中的至少一个或者所述两者都是等离子喷涂的。30. The apparatus of claim 1, wherein at least one or both of the first and second anchor plates are plasma sprayed.31.一种椎间盘置换系统,包括:31. A disc replacement system comprising:一第一可植入件,该第一可植入件具有一植入到第一椎骨上的第一锚定板和可分离地耦合到该第一锚定板上的凹体,该第一锚定板配置多个置于所述第一锚定板外周上的锚定件;以及A first implantable member having a first anchoring plate implanted on the first vertebra and a recess detachably coupled to the first anchoring plate, the first the anchor plate is configured with a plurality of anchors disposed on the periphery of said first anchor plate; and一第二可植入件,该第二可植入件具有一植入到相邻的第二椎骨上的第二锚定板和一可分离地耦合到该第二锚定板上的凸体,该第二锚定板配置多个置于所述第二锚定板外周上的锚定件,所述凸体用于与所述凹体可移动地啮合;a second implantable member having a second anchoring plate implanted on an adjacent second vertebra and a protrusion detachably coupled to the second anchoring plate , the second anchoring plate is configured with a plurality of anchoring pieces placed on the outer periphery of the second anchoring plate, and the convex body is used to movably engage with the concave body;其中所述凹体使用第一耦合件以这样方式固定在所述第一锚定板上,从而随着第一耦合件的移除,允许所述凹体从所述第一锚定板分离,同时保留所述第一锚定板植入到第一椎骨上;或者/和wherein said recess is secured to said first anchoring plate using a first coupling in such a manner as to allow separation of said recess from said first anchoring plate upon removal of the first coupling, while retaining the first anchor plate implanted on the first vertebra; or/and其中所述凸体使用第二耦合件以这样方式固定在所述第二锚定板上,从而随着第二耦合件的移除,允许所述凸体从所述第二锚定板分离,同时保留所述第二锚定板植入到第二椎骨上。wherein said projections are secured to said second anchoring plate using a second coupling in such a manner as to allow separation of said projections from said second anchoring plate upon removal of the second coupling, Simultaneously, the second anchor plate remains implanted on the second vertebra.
CN03807584A2002-03-302003-03-28Intervertebral disc replacement device and systemExpired - Fee RelatedCN100574728C (en)

Applications Claiming Priority (3)

Application NumberPriority DateFiling DateTitle
US36878302P2002-03-302002-03-30
US60/368,7832002-03-30
US60/381,5292002-05-16

Publications (2)

Publication NumberPublication Date
CN1697633A CN1697633A (en)2005-11-16
CN100574728Ctrue CN100574728C (en)2009-12-30

Family

ID=35350079

Family Applications (1)

Application NumberTitlePriority DateFiling Date
CN03807584AExpired - Fee RelatedCN100574728C (en)2002-03-302003-03-28Intervertebral disc replacement device and system

Country Status (1)

CountryLink
CN (1)CN100574728C (en)

Families Citing this family (29)

* Cited by examiner, † Cited by third party
Publication numberPriority datePublication dateAssigneeTitle
US7001433B2 (en)2002-05-232006-02-21Pioneer Laboratories, Inc.Artificial intervertebral disc device
US8388684B2 (en)2002-05-232013-03-05Pioneer Signal Technology, Inc.Artificial disc device
FR2885294B1 (en)*2005-05-032008-04-04Jerome Levieux INTERVERTEBRAL DISC PROSTHESIS
US8668705B2 (en)2005-05-202014-03-11Neotract, Inc.Latching anchor device
US8628542B2 (en)2005-05-202014-01-14Neotract, Inc.Median lobe destruction apparatus and method
US7758594B2 (en)2005-05-202010-07-20Neotract, Inc.Devices, systems and methods for treating benign prostatic hyperplasia and other conditions
US7645286B2 (en)2005-05-202010-01-12Neotract, Inc.Devices, systems and methods for retracting, lifting, compressing, supporting or repositioning tissues or anatomical structures
US9549739B2 (en)2005-05-202017-01-24Neotract, Inc.Devices, systems and methods for treating benign prostatic hyperplasia and other conditions
US10195014B2 (en)2005-05-202019-02-05Neotract, Inc.Devices, systems and methods for treating benign prostatic hyperplasia and other conditions
US8603106B2 (en)2005-05-202013-12-10Neotract, Inc.Integrated handle assembly for anchor delivery system
US10925587B2 (en)2005-05-202021-02-23Neotract, Inc.Anchor delivery system
WO2008034135A2 (en)2006-09-152008-03-20Pioneer Surgical Technology, Inc.Joint arthroplasty devices having articulating members
US8715350B2 (en)2006-09-152014-05-06Pioneer Surgical Technology, Inc.Systems and methods for securing an implant in intervertebral space
US8758366B2 (en)*2007-07-092014-06-24Neotract, Inc.Multi-actuating trigger anchor delivery system
US9198769B2 (en)2011-12-232015-12-01Pioneer Surgical Technology, Inc.Bone anchor assembly, bone plate system, and method
US10292801B2 (en)2012-03-292019-05-21Neotract, Inc.System for delivering anchors for treating incontinence
CN102727329B (en)*2012-06-282015-01-07深圳清华大学研究院Artificial cervical intervertebral disc
US10130353B2 (en)2012-06-292018-11-20Neotract, Inc.Flexible system for delivering an anchor
CN104033537A (en)*2013-03-082014-09-10苏州凯得瑞液压机械有限公司Vibration attenuation ring for connecting power machine and bell jar
KR102150845B1 (en)2013-12-022020-09-03짐머, 인크.Adjustable orthopedic connections
CN105030388A (en)*2015-08-192015-11-11深圳清华大学研究院Lumbar intervertebral disc prosthesis, implanting instrument, device composed of waist prosthesis and implanting instrument and method for inserting lumbar vertebra implantation material
CA3049585C (en)2017-01-092021-09-21Zimmer, Inc.Adjustable orthopedic connections
CN107049563B (en)*2017-04-192020-02-07北京爱康宜诚医疗器材有限公司Intervertebral disc prosthesis
US10849690B2 (en)2017-04-212020-12-01Zimmer, Inc.Tool for fixed customised relative alignment of adjustable orthopedic devices
US10925658B2 (en)2017-04-212021-02-23Zimmer, Inc.Guide wire alignment
WO2019051260A1 (en)2017-09-082019-03-14Pioneer Surgical Technology, Inc.Intervertebral implants, instruments, and methods
USD907771S1 (en)2017-10-092021-01-12Pioneer Surgical Technology, Inc.Intervertebral implant
ES2953556T3 (en)2017-12-232023-11-14Teleflex Life Sciences Ltd Expandable Tissue Docking Apparatus
CN109363804B (en)*2018-11-292021-04-30北京爱康宜诚医疗器材有限公司Anchoring device

Citations (7)

* Cited by examiner, † Cited by third party
Publication numberPriority datePublication dateAssigneeTitle
CN1090485A (en)*1992-08-241994-08-10矫形外科器材制造公司Intervertebral disk prosthesis
US5425773A (en)*1992-01-061995-06-20Danek Medical, Inc.Intervertebral disk arthroplasty device
US5676701A (en)*1993-01-141997-10-14Smith & Nephew, Inc.Low wear artificial spinal disc
US5895428A (en)*1996-11-011999-04-20Berry; DonLoad bearing spinal joint implant
US6113638A (en)*1999-02-262000-09-05Williams; Lytton A.Method and apparatus for intervertebral implant anchorage
CN1293023A (en)*2000-09-262001-05-02沈强Artificial human cervical intervertebral disk
WO2001064140A1 (en)*2000-03-032001-09-07Scient'xDisc prosthesis for cervical vertebra

Patent Citations (7)

* Cited by examiner, † Cited by third party
Publication numberPriority datePublication dateAssigneeTitle
US5425773A (en)*1992-01-061995-06-20Danek Medical, Inc.Intervertebral disk arthroplasty device
CN1090485A (en)*1992-08-241994-08-10矫形外科器材制造公司Intervertebral disk prosthesis
US5676701A (en)*1993-01-141997-10-14Smith & Nephew, Inc.Low wear artificial spinal disc
US5895428A (en)*1996-11-011999-04-20Berry; DonLoad bearing spinal joint implant
US6113638A (en)*1999-02-262000-09-05Williams; Lytton A.Method and apparatus for intervertebral implant anchorage
WO2001064140A1 (en)*2000-03-032001-09-07Scient'xDisc prosthesis for cervical vertebra
CN1293023A (en)*2000-09-262001-05-02沈强Artificial human cervical intervertebral disk

Also Published As

Publication numberPublication date
CN1697633A (en)2005-11-16

Similar Documents

PublicationPublication DateTitle
CN100574728C (en)Intervertebral disc replacement device and system
EP1494751B1 (en)Medical Intervertebral Device
JP6223958B2 (en) Intervertebral device
USRE47796E1 (en)Posterior spinal device and method
US11013609B2 (en)Device for maintaining an intervertebral space
US6716249B2 (en)Joint prosthesis and method of implantation
US6802863B2 (en)Keeled prosthetic nucleus
EP2303196B1 (en)Modular nucleus pulposus prosthesis
EP3361997B1 (en)Articulating expandable intervertebral implant
US12029659B2 (en)Stabilized intervertebral spacer
US20050143826A1 (en)Disk repair structures with anchors
US20170165082A1 (en)Stabilized expandable intervertebral spacer
US20040044409A1 (en)Intervertebral implants
JP2004527317A (en) Spherical spine implant
US11806239B2 (en)Methods for attaching acetabular augments together or to acetabular shells
JP2005514152A (en) Minimally invasive modular support implant device and method
JP2001511392A (en) Multiaxial intervertebral prosthesis
JPS6041963A (en)Prosthesis tool for crotch of femur
JP2018531052A6 (en) Intervertebral prosthesis with a self-expanding fixation element and orthopedic fusion device
AU2002243556A1 (en)Prostheses and instrumentation for joint replacement and repair

Legal Events

DateCodeTitleDescription
C06Publication
PB01Publication
C10Entry into substantive examination
SE01Entry into force of request for substantive examination
C14Grant of patent or utility model
GR01Patent grant
C17Cessation of patent right
CF01Termination of patent right due to non-payment of annual fee

Granted publication date:20091230

Termination date:20110328


[8]ページ先頭

©2009-2025 Movatter.jp