Movatterモバイル変換


[0]ホーム

URL:


CN100397834C - Network for providing multi service application - Google Patents

Network for providing multi service application
Download PDF

Info

Publication number
CN100397834C
CN100397834CCNB2004101003022ACN200410100302ACN100397834CCN 100397834 CCN100397834 CCN 100397834CCN B2004101003022 ACNB2004101003022 ACN B2004101003022ACN 200410100302 ACN200410100302 ACN 200410100302ACN 100397834 CCN100397834 CCN 100397834C
Authority
CN
China
Prior art keywords
network
application
terminal
ppp
digital subscriber
Prior art date
Legal status (The legal status is an assumption and is not a legal conclusion. Google has not performed a legal analysis and makes no representation as to the accuracy of the status listed.)
Expired - Fee Related
Application number
CNB2004101003022A
Other languages
Chinese (zh)
Other versions
CN1787467A (en
Inventor
凌太明
黄哲人
Current Assignee (The listed assignees may be inaccurate. Google has not performed a legal analysis and makes no representation or warranty as to the accuracy of the list.)
UTStarcom Telecom Co Ltd
Original Assignee
UTStarcom Telecom Co Ltd
Priority date (The priority date is an assumption and is not a legal conclusion. Google has not performed a legal analysis and makes no representation as to the accuracy of the date listed.)
Filing date
Publication date
Application filed by UTStarcom Telecom Co LtdfiledCriticalUTStarcom Telecom Co Ltd
Priority to CNB2004101003022ApriorityCriticalpatent/CN100397834C/en
Publication of CN1787467ApublicationCriticalpatent/CN1787467A/en
Application grantedgrantedCritical
Publication of CN100397834CpublicationCriticalpatent/CN100397834C/en
Anticipated expirationlegal-statusCritical
Expired - Fee Relatedlegal-statusCriticalCurrent

Links

Images

Landscapes

Abstract

In a broadband access system which is used for connecting a broadband terminal to the Internet and a VOIP network, the broadband access system comprises an ADSL access terminal device, an ADSL front-end device, a DSLAM and a BRAS, wherein the ADSL access terminal can serve a plurality of application systems, such as the Internet or VOIP application service in PCs and multimedia terminals, and each application service can be connected to the Internet or VOIP application service networks through the ADSL access terminal. PPP connections need to be established in the broadband access system to establish a channel between the PCs and the multimedia terminals and the application networks. The PPP connection is established through the ADSL PPP dialing process, in the PPP dialing process, an ADSL access account needs to be inputted, and a broadband access server carries out authentication and charging according to the ADSL access account. The present invention relates to that the ADSL access terminal use a plurality of accounts to establish a plurality of PPP connections, and an application layer divides flow into different PPP connections, so that the discrimination service and the discrimination charging based on services are realized.

Description

The network that provides multi-service to use
Technical field
The present invention relates to broadband access system, and be particularly related in Digital Subscriber Loop xDSL (Digital Subscriber Loop) broadband access system, utilizing a plurality of account numbers to set up a plurality of PPP (Point-to Point Protocol peer-peer protocol) during an xDSL accesses terminal connects, and, application layer is diverted to during different PPP connects according to the feature of application layer.
Background technology
Usually in the ADSL access network,, each sets up the connection of an account number for accessing terminal, this application that is connected on all PC (personal computer) and the multimedia terminal is shared, wherein ADSL is the most common in DSL (Digital Subscriber Loop) family, mature technique, it is a kind of new high-speed wideband technology that operates on original ordinary telephone line, and its asymmetry is mainly reflected on the asymmetry of upstream rate (being up to 640Kb/s) and downstream rate (being up to 8Mb/s).Yet this method can't be distinguished user's application on broadband access network one side, and in fact different application systems needs different service quality QOS (Quality ofService) and different charging methods.Be higher than internet (Internet) as the QOS priority of using based on the speech VOIP (Voiceover IP) of Internet Protocol and use, connect and serve different application so be necessary to set up the PPP of different service quality.
Some application, it is forever online to require PPP to connect as VOIP, could guarantee that like this VOIP network calls out VOIP user at any time.May require to insert freely, and charge under the permanent online situation of PPP this requirement by the network based calling consumption of VOIP.And the access side that Internet uses may need to adopt an other cover charging method, comprises charged according to time.So, be necessary to set up different PPP and connect, distinguishing different application, and adopt different charging methods.
Usually, the support of ADSL connecting system utilizes same account number to set up a plurality of PPP connections, yet connecting, these PPP use unified account to set up, and can't carry any application message, so can't between these PPP connect, set up different QOS ranks and adopt different charging methods, utilize a plurality of ADSL account numbers to set up a plurality of PPP to connect and serve different application so needs are of the present invention.
Because a plurality of PC and multimedia terminal may be connected to ADSL simultaneously and access terminal, and each may visit a plurality of application simultaneously, connect in order to save PPP, be necessary to access terminal or PPPoE (point-to-point protocol on the Point to Point Protocol over Ethernet Ethernet) terminal is carried out PPP and assembled at ADSL, and by ADSL terminal or PPPoE terminal feature according to application layer, the shunting application layer is in the PPP connection of correspondence, and wherein PPPoE is a kind of agreement that the equipment on the Ethernet uses in order to start the PPP dialing procedure.
Summary of the invention
Therefore, the object of the present invention is to provide a kind of many PPP to connect method for building up and support different application, can't distinguish the shortcoming of application when using same account number to insert to overcome.In order to realize above-mentioned target, promptly utilizing different numbers of the account to set up a plurality of PPP between terminal and application network connects, and different application is carried on during different PPP connects, give the different QOS stream rank charging methods different for each connection simultaneously with employing.
For this reason, a kind of network that provides internet application and IP real-time multimedia to use by broadband access network has been provided in the present invention, comprising: a) application network, comprise internet or IP real-time multimedia network, and be used to provide application service; B) described application network is coupled in application terminal, and described application terminal comprises PC or multimedia terminal, and being used for provides the application service that comprises internet and IP real-time multimedia to the user; And c) broadband access network is coupled to described application terminal, wherein sets up a plurality of peer-peer protocols (PPP) and connect in broadband access network, to carry different application.
Particularly, according to a first aspect of the invention, a kind of network that internet and the application service of IP real-time multimedia are provided by Digital Subscriber Loop (xDSL) access network is provided, this network comprises: (1) user application terminal, as PC terminal and multimedia terminal, be used to satisfy various users' application demand; (2) Digital Subscriber Loop (xDSL) access network, comprise that xDSL accesses terminal, Digital Subscriber Line Access Multiplexer DSLAM (Digital Subscriber LineAccess Multiplexer) and BAS Broadband Access Server BRAS (Broadband accessserver), be used for authenticated user and insert request, set up PPP and connect, and carry out accounting access; (3) application network as Internet and IP real-time multimedia, wherein in the xDSL access network, is set up a plurality of PPP and is connected.
Wherein, BRAS is that the xDSL local side connects DSLAM, as the server of user's PPP dial-up access, provides the passage of access the Internet for the user, and with AAA (Authentication, Authorization, the Accounting authentication is authorized, charge) the server cooperation, be responsible for access authentication of user, mandate and charging, and can come required IP address of distributing user and required bandwidth, with control user's QOS according to different account numbers.And aaa server cooperates with BRAS finishes authentication.
According to a second aspect of the invention, provide a kind of method, be used for giving different QOS ranks, and distinguish and charge a plurality of PPP connections.This method be included in xDSL access terminal in built-in a plurality of account numbers, in BRAS and corresponding checking and charge system are being set, can discern this a plurality of account numbers.
Wherein, BRAS can adopt different charging methods to different account numbers with corresponding accounting system, such as chargeing according to duration, bandwidth, QOS and flow.In actual applications, Internet is inserted the PPP connection can adopt duration based accounting, insert freely or the monthly rent charge and the IP real-time multimedia is inserted PPP connection employing.
According to a third aspect of the invention we, BRAS can be connected to the different ACL (access control list) of outlet employing of network according to the PPP that utilizes different account numbers to insert.BRAS can be according to the rule of ACL, IP address and the port that can only visit some application used in restriction, connect IP address and the port that can only visit the application of IP real-time multimedia as all PPP that set up by IP real-time multimedia account number, this can prevent to usurp IP real-time multimedia account number visit Internet and use.
According to a forth aspect of the invention, the xDSL terminal monitoring is used stream, and shunting is applied in the different PPP connections.
Wherein, a plurality of access accounts are set in xDSL accesses terminal, and application corresponding are set for each account number.
According to a fifth aspect of the invention, PC or multimedia terminal can be external entities independently, and link to each other with the xDSL terminal by wired or wireless IP network, or are embedded in the xDSL terminal.
According to a sixth aspect of the invention, PPP sets up, application layer is monitored and the shunting process function can independently be finished in the physical entity PPPoE terminal.Independently finish required function in the physical entity.Between functional entity and xDSL terminal, finish PPP according to RFC2516 and set up process by PPPoE.
Wherein above-mentioned xDSL can be a non-symmetrical figure local loop (ADSL), and above-mentioned IP real-time multimedia can be based on the speech (VOIP) of Internet Protocol.
Wherein, the functional entity of separation can integrate with PC or multimedia terminal.
Description of drawings
Utilize example below and with reference to accompanying drawing, present invention is described, wherein:
Fig. 1 represents an ADSL connecting system structured flowchart of prior art;
Fig. 2 represents that the PPP that utilizes 1 PPP number of the account of prior art connects the process of setting up;
Fig. 3 represents the functional block diagram of an ADSL terminal of prior art;
Fig. 4 represents the schematic diagram that a plurality of PPP of the present invention connects;
Fig. 5 represents the process of utilizing a plurality of PPP numbers of the account to set up a plurality of PPP connections of the present invention; With
Fig. 6 represents that ADSL realizes functional block diagram according to an embodiment of the invention.
Embodiment
At first referring to Fig. 1 and 2, wherein Fig. 1 is connected the process of foundation with basic broadband network and the PPP thereof that Fig. 2 has described prior art respectively.
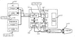
As shown in Figure 1, this broadband network comprises: the application terminal, as PC 101 ormultimedia terminal 102; The ADSL access network comprises that ADSL accesses terminal 11, DSLAM 12, BRAS 13 and aaaserver 16; Application network is asInternet network 151 and VOIP network 152.Aaaserver 16 is coupled to BRAS 13, is responsible for Account Administration, authentication and charging.Betweenaaa server 16 and BRAS 13, adopt radius protocol.
Application terminal 101 or 102 links to each other with the ADSL terminal by wired or wireless Ethernet, as shown in the reference numeral 14.ADSL accesses terminal and 11 is connected toDSLAM 12 by ATM, and as shown in thereference numeral 17, DSLAM 12 is connected to BRAS 13 by atm network or Ethernet, as shown in thereference numeral 18.
Fig. 2 described according to prior art ADSL access terminal with BRAS between be connected the process of PPP.Process 1 has been described the negotiations process (deferring to the process of RFC2516 definition) of PPPoE, process 2-4 has described LCP LCP (Link Control Protocol) respectively and has set up process, account number verification process and Network Control Protocol NCP (Network ControlProtocol) and set up process and IP address assignment and negotiations process, shown in label 201.After authentication was passed through, PPP connected and just to be established, and connects IP address of dynamic assignment by BRAS for this PPP, and the while begins this connection is chargeed in BRAS.
Below, specifically introduce ppp link and set up process.
A whole set of scheme that provides ppp protocol solves problems such as link establishment, maintenance, dismounting, upper-layer protocol negotiation, authentication.Ppp protocol comprises such several sections: LCP LCP; Network Control Protocol NCP; Authentication protocol, the most frequently used password authentication protocol PAP (Password Authentication Protocol) and the challenge handshake authentication protocol CHAP (Challenge-Handshake Authentication Protocol) of comprising.
LCP is responsible for creating, safeguards or stop one time physical connection.NCP is gang's agreement, is responsible for solving what procotol of operation on the physical connection, and solves the problem that Upper Level Network Protocol takes place.
A typical ppp link is set up process and is divided into three phases: establishing stage, authentication phase and network negotiate stage.
Stage 1: create ppp link
LCP is responsible for creating link.In this stage, will select basic communication modes.Both link ends equipment sends configuration data bag (ConfigurePackets) by LCP to the other side.In case a configure-ack packet (Configure-Ack packet) is sent out and is received, and has just finished exchange, and enters the LCP opening.Should be noted that in the link establishment stage, only indentification protocol selected that user rs authentication will realize in the 2nd stage below.
Stage 2: user rs authentication
In this stage, client can send to the identity of oneself access server of far-end.This stage uses a kind of safety verification mode to avoid the third party to steal data or pretends to be the remote client to take over and being connected of client.Before authentication is finished, forbid advancing to network layer protocol phase from authentication phase.If authentification failure, the authenticator should transit to the link termination phase.In this stage, have only LCP, authentication protocol and link-quality to monitor that the packet of agreement is allowed to.The packet of other that receive in this stage must be abandoned quietly.The most frequently used authentication protocol has password authentication protocol (PAP) and challenge handshake authentication protocol (CHAP).
Stage 3: call network layer protocol
After authentication phase is finished, PPP will be invoked at selected various NCP of link establishment stage (stage 1).Selected NCP solves the upper-layer protocol problem on the ppp link, and for example, in this stage, IP control protocol (IPCP) can distribute dynamic address to the dial-in customer.
Like this, through after the above-mentioned three phases, a complete ppp link just is established.
Ppp protocol is one of most widely used agreement on the present wide area network, and its advantage is simply, possesses the user rs authentication ability, can solves IP distribution etc.
Family dials up on the telephone and sets up communication link by PPP between the access server of user side and operator exactly.At present, broadband access is becoming the trend that replacement is dialled up on the telephone, in today that broadband access technology makes rapid progress, the application that PPP also derives and makes new advances.Typical application is in the ADSL access way, and PPP and other agreement have derived jointly and met the new agreement that broadband access requires, as PPPoE (PPP over Ethernet), PPPoA (PPP over ATM).
Utilize the Ethernet resource, the mode of carrying out the authentification of user access at ether online operation PPP is called PPPoE.PPPoE had both protected user side's Ethernet resource, had finished the access requirement of ADSL again, and this is a most widely used technical standard in the present ADSL access way.
Equally, the operation ppp protocol comes the mode of managing user authentication to be called PPPoA on asynchronous transfer mode ATM (Asynchronous Trans fer Mode) network, and its principle with PPPoE is identical and act on identical; Different is, PPPoA moves on atm network, and PPPoE is at the ether online operation, is adapted to atm standard and ethernet standard respectively.
Fig. 3 has described the function of a common ADSL terminal, functions such as DHCP, IP route, NAT that this ADSL terminal is built-in, this ADSL terminal is that local specific address is distributed in local all application terminals, and during the data flow that will the output to external network PPP that converges to foundation connects.In this ADSL terminal, PPPconnection management module 112 realizes that PPP described in conjunction with Figure 2 sets up process.
Device management module 113 in the described ADSL terminal of Fig. 3 stores the account number and the password of ADSL terminal at least.PPPconnection management module 112 reads account and password, is used for PPP and connects authentication, the i.e. process 3 of Fig. 2.
In Fig. 3, utilizeline 41 to describe a data flow, mutual with external network from the VOIP application data stream of PC by the PPP connection of having set up.
Yet owing to have only a PPP to connect, it is mutual with external network that the flow of the various application of all application terminals all passes through same PPP connection, so access network can't be to different application difference QOS and distinctive chargings.A typical example is that VOIP application requirements PPP connection is always online, access is free and is chargeed according to call volume by the VOIP network, and the Internet application requirements is according to time or charge on traffic.
Next, with reference to figure 4 one embodiment of the present of invention are described.According to Fig. 4, comprise according to this embodiment of the invention: the application terminal, as PC 101 ormultimedia terminal 102; The ADSL access network comprises that ADSL accesses terminal 11, DSLAM 12, BRAS 13 and aaaserver 16; Application network is asInternet network 151 andVOIP network 152.
Application terminal 101 or 102 accesses terminal by for example wired or wireless Ethernet and ADSL and 11 is coupled, as shown in thereference numeral 14, and ADSL accesses terminal and 11 is connected to DSLAM 12 by for example ATM, as shown in thereference numeral 17, DSLAM 12 is connected to BRAS 13 by for example atm network or Ethernet, as shown in thereference numeral 18.
In the present embodiment, set up two PPP and connect on the ADSL access network, a PPP connection (that is, PPP connects 1) is used to transmit all Internet uses, and another PPP connection (that is, PPP connects 2) is used to transmit all VOIP application.In Fig. 4, utilizeline 41,42 to describe Internet data flow and VOIP data flow respectively.
Referring to Fig. 5, the process of setting up the PPP connection according to of the present invention is described now.In the present embodiment, two PPP connect by two independently PPP set up process and be established, these two processes adopt two independently ADSL account numbers.Fig. 5 has described this two PPP establishment of connection processes.Theprocess 401 of setting up PPP connection 1 comprises process 1-5, wherein, sets up PPPoE in process 1, set up LCP in process 2,, set up NCP in process 4 in process 3 authentication ADSL account numbers 1, set up PPP bypassage 302 and connect 1, and begin PPP connection 1 is chargeed in process 5.
Theprocess 402 of setting up PPP connection 2 comprises process 6-10, wherein, sets up PPPoE in process 6, set up LCP in process 7,, set up NCP in process 9 in process 8 authentication ADSL account numbers 2, set up PPP atpassage 305 and connect 2, and begin PPP connection 2 is chargeed in process 10.In the present embodiment, the PPP establishment of connection is started trigger condition does not have special requirement, can be started connection automatically or be manually booted connection by the ADSL terminal.
BRAS promptly notifies aaaserver 16 to begin to charge after successful connection.Aaaserver 16 can be provided with multiple charging policy, comprises different account numbers is adopted different charging policy.In the present embodiment, it is charged according to time that the Internet account number is inserted employing, the VOIP account number inserted free.
Next, be described in the embodiment of the ADSL terminal of the one embodiment of the invention shown in Fig. 6.
In the described scheme of Fig. 6, for example, PC 101 is assigned with the IP address 192.168.1.3 of local area network, andmultimedia terminal 102 is assigned with the IP address 192.168.1.4 of local area network, and these addresses are distributed or static configuration automatically by the DHCP in the ADSL terminal.CompriseVOIP trunk module 114 in the ADSL terminal, this module connection also is assigned local ip address 192.168.1.2.Between PC 101,multimedia terminal 102 andVOIP trunk module 114, can carry out IP communication mutually by ip router (route) 111.
According to process shown in Figure 5, in the ADSL terminal, set up two PPP and connect, start these two PPP respectively by two PPPconnection management modules 122 and 133 and be connected, that is, PPP manages 1 module and starts PPP connection 1, and PPP manages 2 modules startup PPP connection 2.It can be automatic or manual that PPP connects the trigger process of setting up.Because these two PPP connect by two independently process finish, so it is assigned two independently ADSL outlet IP addresses.
IP route module comprises the outlet of two classes: WAN outlet WAN and local area network (LAN) outlet, and the outlet of WAN is connected to PPP connection management 1 module, and the LAN outlet is connected to PC, multimedia terminal andVOIP trunk module 114.
Internet stream is described below:
(1) sends the Internet visit from PC, its source address 192.168.1.3, and destination address is outside public network address, after IP route connects 1 ADSL exit address Interne t stream is carried out the NAT conversion according to PPP, export from WAC, and by PPP connection management 1 module, send to PPP and connect 1, wherein utilizelabel 41 to describe Internet stream;
(2) stream that returns from the outside connects the 1 WAC mouth that enters IP route by PPP, is distributed to different application terminal according to destination address with the NAT mapping table by IP route.
VOIP stream is described below:
(1) application is provided with to the VOIP among the PC, and VOIP relay address 192.168.1.2 is pointed in the address of service of next jumping; And use for SIP phone, for pointing to the VOIP relaying, the VOIP relaying is finished signaling and the medium transfer of SIP with sip agent (proxy) address setting of next jumping;
(2) send the signaling and the Media Stream of SIP phone from PC, its source address is 192.168.1.3, and its destination address is the address 192.168.1.2 of VOIP trunk module;
(3) signaling of SIP is forwarded to PPP with medium by the VOIP trunk module and is connected 2, and connects 2 ADSL exit address according to PPP and carry out the NAT conversion;
(4) stream of beaming back from the outside enters the VOIP trunk module by PPP connection 2, and according to the NAT mapping table, is distributed to different application terminals.
As mentioned above, according to the present invention, at the broadband access system that is used for wide-band terminal is connected to Internet and VOIP network, this broadband access system comprises: (1) ADSL accesses terminal; (2) device A DSL headend equipment-DSLAM; (3) BAS Broadband Access Server BRAS.ADSL accesses terminal and can serve a plurality of application systems, for example Internet in PC and the multimedia terminal or VOIP application service, and each application service can access terminal by ADSL and be connected to Internet or VOIP application service network.In broadband access system, a user is disposed a plurality of ADSL numbers of the account, to serve different application, use number of the account and VOIP application number of the account as Internet, the ADSL terminal uses the number of the account of these configurations to start the PPP connection respectively, and different application is diverted in the corresponding PPP connection.
For convenience of explanation, be to insert and be described above based on the example that is applied as of the speech (VOIP) of I P with ADSL (Asymmetric Digital Subscriber Line) (ADSL), ADSL inserts and the VOIP application but the present invention is not limited to.Access part of the present invention all is suitable for based on Digital Subscriber Loop (DSL) access technology for other, and can expand to symmetrical figure local loop (HDSL), very high bit rate digital subscriber loop (VDSL) and one wire system Digital Subscriber Loop (SDSL).Applying portion of the present invention is used for other IP real-time multimedia and all is suitable for, and can expand to real time business such as IP video communication and IP video broadcasting.
Invention has been described in conjunction with embodiment in the above, but those of ordinary skills will understand, in view of top instruction and enlightenment, can make many replacements, modifications and variations to the present invention, and all these replace, modifications and variations all fall within the category and spirit of appending claims.

Claims (21)

CNB2004101003022A2004-12-092004-12-09Network for providing multi service applicationExpired - Fee RelatedCN100397834C (en)

Priority Applications (1)

Application NumberPriority DateFiling DateTitle
CNB2004101003022ACN100397834C (en)2004-12-092004-12-09Network for providing multi service application

Applications Claiming Priority (1)

Application NumberPriority DateFiling DateTitle
CNB2004101003022ACN100397834C (en)2004-12-092004-12-09Network for providing multi service application

Publications (2)

Publication NumberPublication Date
CN1787467A CN1787467A (en)2006-06-14
CN100397834Ctrue CN100397834C (en)2008-06-25

Family

ID=36784787

Family Applications (1)

Application NumberTitlePriority DateFiling Date
CNB2004101003022AExpired - Fee RelatedCN100397834C (en)2004-12-092004-12-09Network for providing multi service application

Country Status (1)

CountryLink
CN (1)CN100397834C (en)

Families Citing this family (7)

* Cited by examiner, † Cited by third party
Publication numberPriority datePublication dateAssigneeTitle
CN100417137C (en)2005-08-302008-09-03华为技术有限公司 Base station access system and base station data transmission method
CN101022602B (en)*2007-03-202010-05-26中兴通讯股份有限公司Mobile multimedia terminal and updating method for network information list by the same terminal
CN101453734B (en)*2007-11-302013-01-23中兴通讯股份有限公司Multi-account management method for peer-to-peer protocol access point in multiple data service
CN101686183B (en)*2008-09-282012-06-06华为技术有限公司Method, device and system for controlling packet voice service transmission
CN101699810B (en)*2009-06-022012-02-15北京研弘科技有限公司Method for multiple operators to share a set of access server and broadband access network
CN102136966A (en)*2010-12-232011-07-27广州智帮通讯技术有限公司ADSL (Asymmetrical Digital Subscriber Line) dialing process monitoring and intelligent analyzing method
CN103037021B (en)*2011-10-092017-08-08南京中兴新软件有限责任公司A kind of method of transmitting network data, wireless communication terminal and main frame

Citations (3)

* Cited by examiner, † Cited by third party
Publication numberPriority datePublication dateAssigneeTitle
CN1422044A (en)*2001-11-292003-06-04三星电子株式会社Multidigital user line switch-on multiplexer system
US20040107299A1 (en)*2002-12-032004-06-03Sang-Jae LeeHome gateway apparatus having in-home phone line switching function and embodiment method thereof
CN1553674A (en)*2003-05-262004-12-08广东省电信有限公司科学技术研究院Method for wideband connection server to obtain port numbers of its uers

Patent Citations (3)

* Cited by examiner, † Cited by third party
Publication numberPriority datePublication dateAssigneeTitle
CN1422044A (en)*2001-11-292003-06-04三星电子株式会社Multidigital user line switch-on multiplexer system
US20040107299A1 (en)*2002-12-032004-06-03Sang-Jae LeeHome gateway apparatus having in-home phone line switching function and embodiment method thereof
CN1553674A (en)*2003-05-262004-12-08广东省电信有限公司科学技术研究院Method for wideband connection server to obtain port numbers of its uers

Also Published As

Publication numberPublication date
CN1787467A (en)2006-06-14

Similar Documents

PublicationPublication DateTitle
US7606218B2 (en)Ethernet-based digital subscriber line methods and systems
US6938080B1 (en)Method and computer system for managing data exchanges among a plurality of network nodes in a managed packet network
EP2636188B1 (en)Apparatus and methods for multimode internetworking connectivity
WO2007116411A1 (en)METHOD AND APPARATUS FOR PROVISIONING ENSURED QoS TRIPLE PLAY SERVICES OVER EXISTING COPPER INFRASTRUCTURE
US20050147035A1 (en)Multiple services with policy enforcement over a common network
US20080159298A1 (en)System and method to provide multiple private networks
CN1332542C (en)VoIP wireless telephone system and method utilizing wireless LAN
EP2381626B1 (en)An access terminal and a method for the terminal binding to the operator
CN100397834C (en)Network for providing multi service application
KwokResidential broadband architecture over ADSL and G. Lite (C. 992.2): PPP over ATM
US8902889B2 (en)Method, communication arrangement and communication device for transferring information
EP2073432B1 (en)Method for binding an access terminal to an operator and corresponding access terminal
CiscoSoftware Enhancements for the Cisco 800 Routers and SOHO Routers
US20050129002A1 (en)Apparatus and method for web-phone service in dsl
KR100327161B1 (en)apparatus for ADSL subscriber matching in switching system
CN112751735B (en)Method and device for realizing PPPoA function in broadband access equipment
CN108882065B (en)System and method for realizing IPOA by card-inserted MSAN equipment
Androulidakis et al.Provisioning of IP multimedia services with guaranteed QoS to residential customers over heterogeneous networks
De BelderEnd-to-end protocol stacks in the Alcatel 1000 ADSL access network
Rendon et al.Relevant cost elements of VoIP networks
Kent et al.D A2. 3-Network architecture migration mechanisms–consolidation
HK1184293B (en)Apparatus and methods for multimode internetworking connectivity

Legal Events

DateCodeTitleDescription
C06Publication
PB01Publication
C10Entry into substantive examination
SE01Entry into force of request for substantive examination
C14Grant of patent or utility model
GR01Patent grant
CF01Termination of patent right due to non-payment of annual fee

Granted publication date:20080625

Termination date:20151209

EXPYTermination of patent right or utility model

[8]ページ先頭

©2009-2025 Movatter.jp